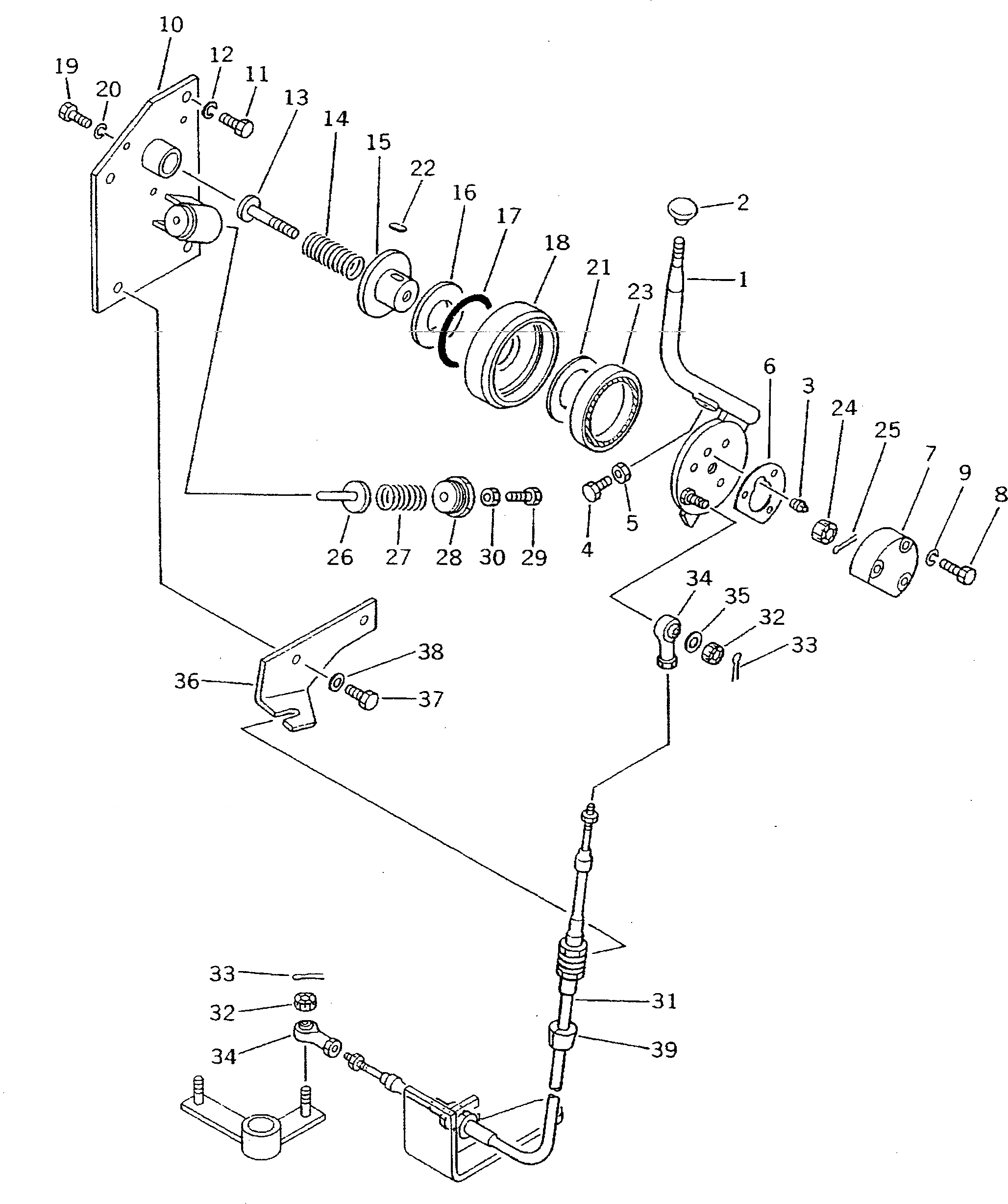
Запчасти Komatsu D355A-3 РЫЧАГ УПРАВЛ-Я ПОДАЧЕЙ ТОПЛИВА(№9-) КОМПОНЕНТЫ ДВИГАТЕЛЯ И ЭЛЕКТРИКА

Схема запчастей Komatsu D355A-3 - РЫЧАГ УПРАВЛ-Я ПОДАЧЕЙ ТОПЛИВА(№9-) КОМПОНЕНТЫ ДВИГАТЕЛЯ И ЭЛЕКТРИКА
FIT
1:1
100%

Артикул

Название

Примечание

Количество

1

175-43-42372

LEVER

SN: 9001-UP

1шт.

2

09304-01250

KNOB

SN: 1010-UP

1шт.

3

07042-10108

PLUG

SN: 1632-UP

1шт.

4

01016-30860

BOLT

SN: 3301-UP

1шт.

5

01580-00806

NUT

SN: 3301-UP

1шт.

6

175-43-41722

GASKET

SN: 13664-UP

1шт.

6

0

GASKET

SN: 3301-13663

1шт.

7

175-43-42351

COVER

SN: 3301-UP

1шт.

8

01010-80630

BOLT

SN: 3301-UP

3шт.

9

01602-00619

WASHER

SN: 3301-UP

3шт.

10

175-43-42362

BRACKET

SN: 9001-UP

1шт.

11

01010-81225

BOLT

SN: 1632-UP

2шт.

12

01602-01236

WASHER

SN: 1632-UP

2шт.

13

175-43-34160

BOLT

SN: 3301-UP

1шт.

14

178-43-13130

SPRING

SN: 3301-UP

1шт.

15

131-43-28130

CAP

SN: 1010-UP

1шт.

16

195-43-42510

PLATE

SN: 13664-UP

1шт.

16

0

PLATE

SN: 1010-13663

1шт.

17

07000-02085

O-RING

SN: 1632-UP

1шт.

18

175-43-34130

CAGE

SN: 1632-UP

1шт.

19

01010-80616

BOLT

SN: 1010-UP

3шт.

20

01602-00619

WASHER

SN: 1016-UP

3шт.

21

195-43-42510

PLATE

SN: 13664-UP

1шт.

21

0

PLATE

SN: 1010-13663

1шт.

22

04000-00512

KEY

SN: 1010-UP

1шт.

23

07012-00075

SEAL

SN: 1632-UP

1шт.

24

01592-01012

NUT

SN: 1632-UP

1шт.

25

04050-02018

PIN

SN: 1632-UP

1шт.

26

175-43-34212

PIN

SN: 3301-UP

1шт.

27

195-43-42440

SPRING

SN: 13845-UP

1шт.

27

0

SPRING

SN: 1632-13844

1шт.

28

155-43-16160

CAP

SN: 1632-UP

1шт.

29

01016-31050

BOLT

SN: 3301-UP

1шт.

30

01580-01008

NUT

SN: 1632-UP

1шт.

31

175-43-24670

CABLE

SN: 9001-UP

1шт.

32

01593-01008

NUT

SN: 9001-UP

2шт.

33

04050-02018

PIN

SN: 9001-UP

2шт.

34

195-43-25170

END

SN: 9001-UP

2шт.

35

04254-01032

SPACER

SN: 9001-UP

1шт.

36

175-43-42660

BRACKET

SN: 9001-UP

1шт.

37

01010-81230

BOLT

SN: 9001-UP

2шт.

38

01643-31232

WASHER

SN: 9001-UP

2шт.

39

175-54-33470

PLUG

SN: 9001-UP

1шт.

Выбрано товаров: 0