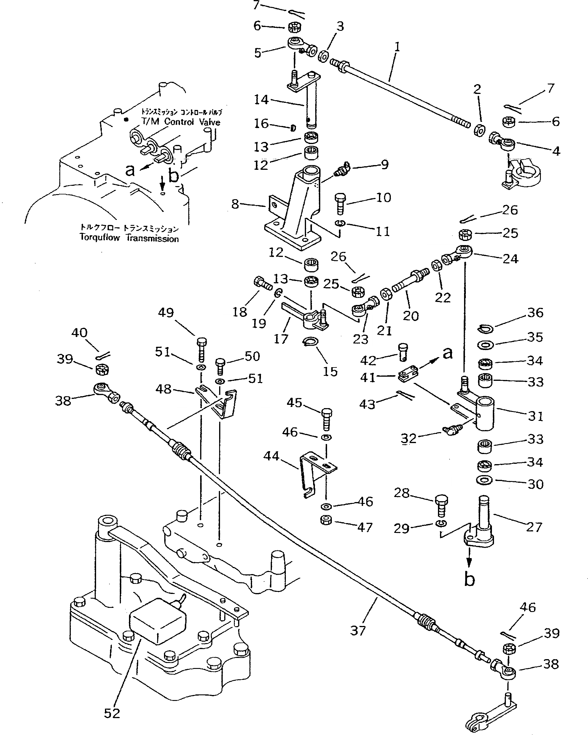
Запчасти Komatsu D355A-3 МЕХАНИЗМ ПЕРЕКЛЮЧЕНИЯ ПЕРЕДАЧ(№-9) ГИДРОТРАНСФОРМАТОР И ТРАНСМИССИЯ

Схема запчастей Komatsu D355A-3 - МЕХАНИЗМ ПЕРЕКЛЮЧЕНИЯ ПЕРЕДАЧ(№-9) ГИДРОТРАНСФОРМАТОР И ТРАНСМИССИЯ
FIT
1:1
100%

Артикул

Название

Примечание

Количество

1

04248-31047

ROD

SN: 3301-9000

1шт.

2

01508-11006

NUT

SN: 3301-@

1шт.

3

01582-01008

NUT

SN: 3301-@

1шт.

4

04250-61056

END

SN: 3301-@

1шт.

5

04250-41056

END

SN: 3301-@

1шт.

6

01593-01008

NUT

SN: 3301-@

2шт.

7

04050-02018

PIN

SN: 3301-@

2шт.

8

195-43-21172

BRACKET

SN: 3301-9000

1шт.

9

07020-00900

FITTING

SN: 3301-9000

1шт.

10

01010-31235

BOLT

SN: 3301-@

2шт.

11

01602-01236

WASHER

SN: 3301-@

2шт.

12

06120-02016

BEARING

SN: 3301-9000

2шт.

13

06122-02004

SEAL

SN: 3301-9000

2шт.

14

195-43-21182

LEVER

SN: 3301-9000

1шт.

15

04064-02012

RING

SN: 3301-@

1шт.

16

04010-00516

KEY

SN: 3301-@

1шт.

17

195-43-21191

LEVER

SN: 3301-9000

1шт.

18

01010-30830

BOLT

SN: 3301-@

1шт.

19

01602-00825

WASHER

SN: 3301-@

1шт.

20

04248-11013

ROD

SN: 3301-@

1шт.

21

01508-11006

NUT

SN: 3301-@

1шт.

22

01582-01008

NUT

SN: 3301-@

1шт.

23

04250-61056

END

SN: 3301-@

1шт.

24

04250-41056

END

SN: 3301-@

1шт.

25

01593-01008

NUT

SN: 3301-@

2шт.

26

04050-02018

PIN

SN: 3301-@

2шт.

27

195-43-21280

BRACKET

SN: 3301-@

1шт.

28

01010-31030

BOLT

SN: 1010-@

2шт.

29

01602-01030

WASHER

SN: 3301-@

2шт.

30

176-76-27180

WASHER

SN: 3301-@

1шт.

31

195-43-21212

LEVER

SN: 3301-9000

1шт.

32

07020-00675

FITTING

SN: 3301-9000

1шт.

33

06120-02016

BEARING

SN: 1010-9000

2шт.

34

06122-02004

SEAL

SN: 1010-9000

2шт.

35

01640-22032

WASHER

SN: 3301-@

1шт.

36

04064-02012

RING

SN: 3301-@

1шт.

37

195-43-25180

CABLE

SN: 6643-@

1шт.

38

195-43-25170

END

SN: 6643-@

2шт.

39

01593-01008

NUT

SN: 3301-@

2шт.

40

04050-02018

PIN

SN: 3301-@

2шт.

41

04213-00830

YOKE

SN: 6643-@

1шт.

42

04205-00822

PIN

SN: 6643-@

2шт.

43

04050-02012

PIN

SN: 6643-@

2шт.

44

195-43-25191

BRACKET

SN: 6643-9000

1шт.

45

01010-31030

BOLT

SN: 6643-9000

2шт.

46

01643-31032

WASHER

SN: 6643-9000

4шт.

47

01580-01008

NUT

SN: 6643-9000

2шт.

48

195-43-25210

BRACKET

SN: 6643-@

1шт.

49

01011-31280

BOLT

SN: 6643-@

1шт.

50

01011-31055

BOLT

SN: 6643-@

1шт.

51

01643-31032

WASHER

SN: 6643-@

2шт.

52

113-06-23250

SWITCH

SN: 6643-@

1шт.

Выбрано товаров: 52