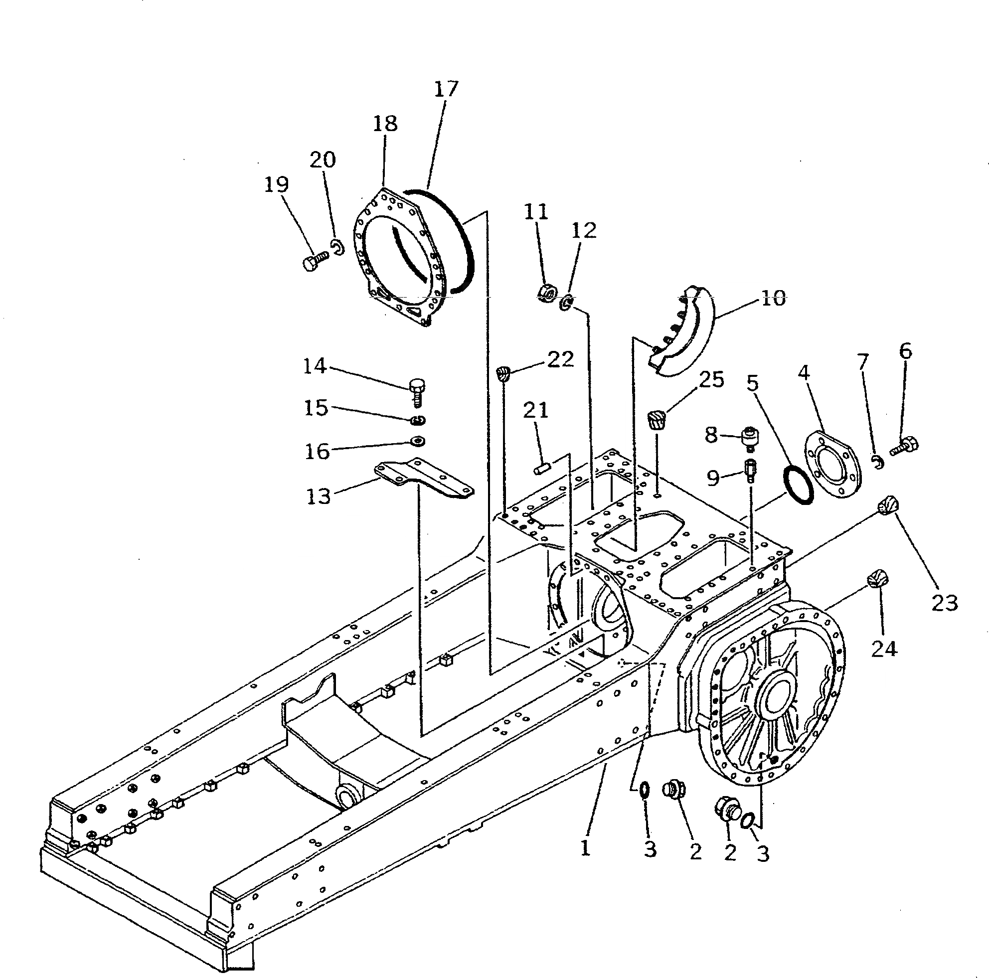
Запчасти Komatsu D355A-3 КОРПУС БЛОКА УПРАВЛЕНИЯ ПОВОРОТОМ И ОСНОВНАЯ РАМА(№-) СИСТЕМАУПРАВЛЕНИЯ ПОВОРОТОМ И КОНЕЧНАЯ ПЕРЕДАЧА

Схема запчастей Komatsu D355A-3 - КОРПУС БЛОКА УПРАВЛЕНИЯ ПОВОРОТОМ И ОСНОВНАЯ РАМА(№-) СИСТЕМАУПРАВЛЕНИЯ ПОВОРОТОМ И КОНЕЧНАЯ ПЕРЕДАЧА
FIT
1:1
100%

Артикул

Название

Примечание

Количество

1

195-21-21101

STEERING CASE ASS'Y

SN: 4001-9000

1шт.

1

195-21-21100

STEERING CASE ASS'Y

SN: 3301-4000

1шт.

1

195-21-21103

STEERING CASE ASS'Y,(WITH BRAKE ASSISTOR)

SN: 9001-UP

1шт.

1

195-21-21102

STEERING CASE ASS'Y,(WITH BRAKE ASSISTOR)

SN: 4001-9000

1шт.

2

07044-13620

PLUG

SN: 1632-UP

3шт.

3

07000-03032

O-RING

SN: 1632-UP

3шт.

3

07000-E3032

O-RING,(FOR SLAG HANDLING)

SN: 1632-UP

3шт.

4

175-21-32170

COVER

SN: 1010-UP

1шт.

5

07000-05195

O-RING

SN: 1010-UP

1шт.

6

01010-32040

BOLT

SN: 1067-UP

6шт.

7

01643-32060

WASHER

SN: 9001-UP

6шт.

7

0

WASHER

SN: 1010-9000

6шт.

8

07030-00252

BREATHER

SN: 1010-UP

2шт.

9

07350-00215

NIPPLE

SN: 1010-UP

2шт.

10

195-21-11242

COVER

SN: 1632-UP

1шт.

11

01580-01210

NUT

SN: 1632-UP

5шт.

12

01602-01236

WASHER

SN: 1632-UP

5шт.

13

195-21-11321

PLATE

SN: 1632-UP

1шт.

14

01010-30816

BOLT

SN: 9001-UP

5шт.

14

0

BOLT

SN: 1632-9000

5шт.

15

01602-00825

WASHER

SN: 1632-9000

5шт.

16

01643-30823

WASHER

SN: 1632-UP

5шт.

17

195-21-11350

O-RING

SN: 1632-UP

1шт.

18

195-21-11173

GASKET

SN: 13664-UP

1шт.

18

0

GASKET

SN: 4001-13663

1шт.

18

0

GASKET

SN: 1632-4000

1шт.

19

01010-31855

BOLT

SN: 1067-UP

20шт.

20

01643-31845

WASHER

SN: 9001-UP

20шт.

20

0

WASHER

SN: 1055-9000

20шт.

21

195-15-11330

PIN

SN: 1010-UP

1шт.

22

07049-01215

PLUG

SN: 3301-UP

7шт.

23

07049-03949

PLUG,(WITH RIPPER)

SN: 1010-UP

4шт.

23

07049-03949

PLUG,(WITH DRAWBAR)

SN: 1010-UP

12шт.

24

07049-02025

PLUG,(WITH RIPPER AND DRAWBAR)

SN: 1010-UP

2шт.

25

07049-01620

PLUG

SN: 9001-UP

2шт.

Выбрано товаров: 35