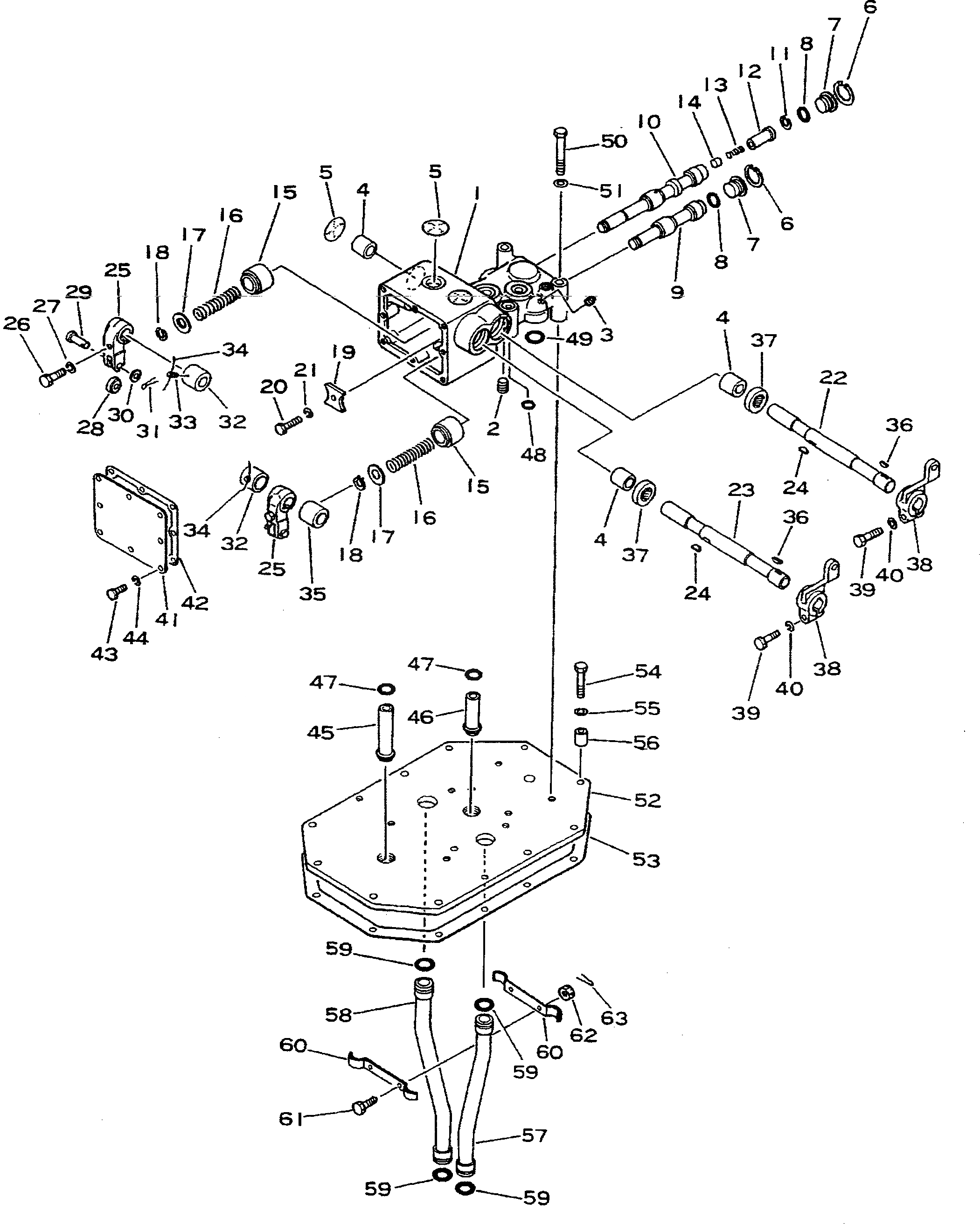
Запчасти Komatsu D355A-3 КЛАПАН УПРАВЛЕНИЯ ПОВОРОТОМ(№-99) СИСТЕМАУПРАВЛЕНИЯ ПОВОРОТОМ И КОНЕЧНАЯ ПЕРЕДАЧА

Схема запчастей Komatsu D355A-3 - КЛАПАН УПРАВЛЕНИЯ ПОВОРОТОМ(№-99) СИСТЕМАУПРАВЛЕНИЯ ПОВОРОТОМ И КОНЕЧНАЯ ПЕРЕДАЧА
FIT
1:1
100%

Артикул

Название

Примечание

Количество

|$0

195-40-00025

CONTROL VALVE ASS'Y

SN: 1632-3299

1шт.

1

175-40-21110

HOUSING

SN: 1632-3299

1шт.

2

07043-00415

PLUG

SN: 1632-3299

2шт.

3

07042-00108

PLUG

SN: 1632-@

2шт.

4

170-43-12360

BUSHING

SN: 1010-3299

4шт.

5

07046-04520

PLUG

SN: 1010-3299

4шт.

6

04065-03515

RING

SN: 1010-3299

2шт.

7

170-33-13530

STOPPER

SN: 1010-3299

2шт.

8

07000-03025

O-RING

SN: 1010-3299

2шт.

9

175-40-11321

SPOOL

SN: 1632-3299

1шт.

10

175-40-11132

SPOOL

SN: 1632-3299

1шт.

11

04065-01610

RING

SN: 1632-3299

1шт.

12

175-40-11160

SLEEVE

SN: 1632-3299

1шт.

13

175-40-11140

SPRING

SN: 1632-3299

1шт.

14

175-40-11150

VALVE

SN: 1632-3299

1шт.

15

175-43-12180

BUSHING

SN: 1010-3299

2шт.

16

195-40-11120

SPRING

SN: 1010-3299

2шт.

17

175-43-12190

WASHER

SN: 1010-3299

2шт.

18

04064-02012

RING

SN: 1010-3299

2шт.

19

175-40-11330

PLATE

SN: 1632-3299

1шт.

20

01010-31030

BOLT

SN: 1010-3299

1шт.

21

01602-01030

WASHER

SN: 1010-3299

1шт.

22

195-40-11210

SHAFT

SN: 1117-3299

1шт.

23

195-40-11220

SHAFT

SN: 1117-3299

1шт.

24

04010-00522

KEY

SN: 1010-3299

2шт.

25

170-43-12321

LEVER

SN: 1010-3299

2шт.

26

01010-31250

BOLT

SN: 1010-3299

2шт.

27

01602-01236

WASHER

SN: 1010-3299

2шт.

28

170-43-12330

ROLLER

SN: 1010-3299

2шт.

29

04205-01238

PIN

SN: 1010-3299

2шт.

30

01641-01223

WASHER

SN: 1632-3299

2шт.

31

04050-03020

PIN

SN: 1010-3299

2шт.

32

170-43-12380

COLLAR

SN: 1010-3299

2шт.

33

01302-00812

SCREW

SN: 1010-3299

2шт.

34

04059-01012

WIRE

SN: 1010-@

2шт.

35

175-43-12240

COLLAR

SN: 1010-3299

1шт.

36

04010-00522

KEY

SN: 1117-3299

2шт.

37

07011-00025

SEAL

SN: 1632-3299

2шт.

38

195-40-11190

LEVER

SN: 1117-3299

2шт.

39

01010-31245

BOLT

SN: 1010-3299

2шт.

40

01602-31236

WASHER

SN: 1010-3299

2шт.

41

175-43-12140

COVER

SN: 1010-3299

1шт.

42

175-43-12150

GASKET

SN: 1010-3299

1шт.

43

01010-31025

BOLT

SN: 1010-3299

8шт.

44

01602-01030

WASHER

SN: 1010-3299

8шт.

45

170-43-12120

TUBE

SN: 1010-3299

1шт.

46

175-43-12120

TUBE

SN: 1632-3299

1шт.

47

07000-03028

O-RING

SN: 1632-3299

2шт.

48

07000-02014

O-RING

SN: 1632-3299

1шт.

49

07000-03040

O-RING

SN: 1632-@

2шт.

50

01011-31200

BOLT

SN: 1010-3299

1шт.

51

01602-01236

WASHER

SN: 1010-3299

1шт.

52

195-40-11113

SEAT

SN: 1632-3299

1шт.

53

195-40-11320

GASKET

SN: 1632-@

1шт.

54

01010-31260

BOLT

SN: 1010-@

12шт.

55

01602-01236

WASHER

SN: 1010-@

12шт.

56

195-33-11220

SPACER

SN: 1010-@

12шт.

57

195-40-11271

TUBE

SN: 1632-3299

1шт.

58

195-40-11281

TUBE

SN: 1632-3299

1шт.

59

07000-03022

O-RING

SN: 1632-@

4шт.

60

175-40-22460

CLAMP

SN: 1632-@

2шт.

61

01012-31025

BOLT

SN: 1632-@

2шт.

62

01590-01012

NUT

SN: 1632-@

2шт.

63

04050-02018

PIN

SN: 1632-@

2шт.

Выбрано товаров: 64