Запчасти Komatsu D355A-3 ЗАЩИТА РАДИАТОРА(№-99) ЧАСТИ КОРПУСА

Схема запчастей Komatsu D355A-3 - ЗАЩИТА РАДИАТОРА(№-99) ЧАСТИ КОРПУСА
FIT
1:1
100%

Артикул

Название

Примечание

Количество

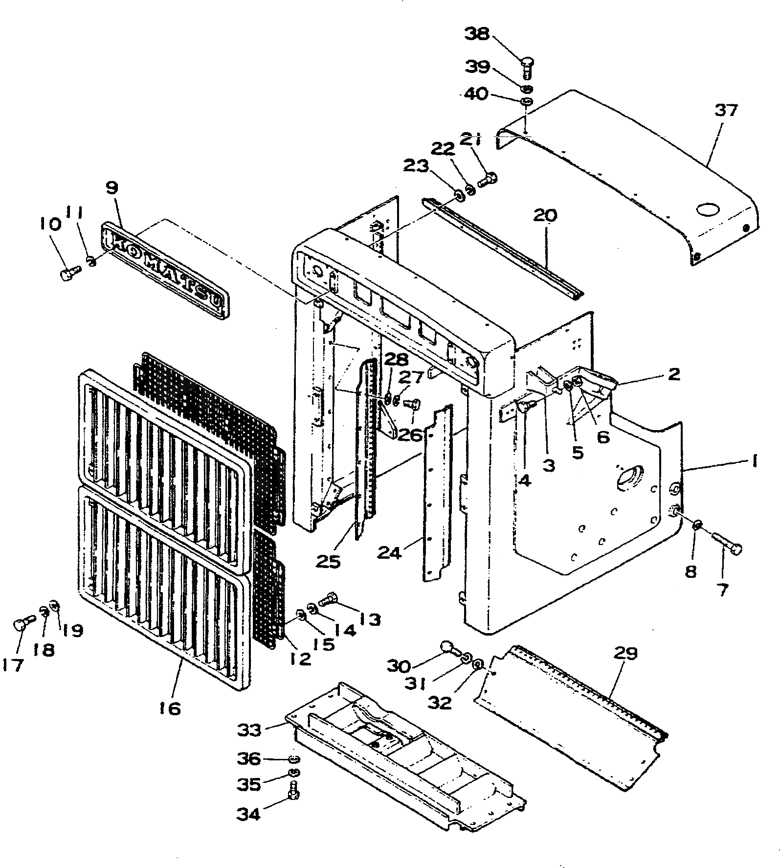
1

195-54-16105

GUARD ASS'Y

SN: 1632-3299

1шт.

2

195-54-11271

SUPPORT (WELDED)

SN: 1632-@

2шт.

3

195-54-11291

BRACKET (WELDED)

SN: 1632-3299

2шт.

4

01010-30835

BOLT

SN: 1067-@

2шт.

5

01602-00825

WASHER

SN: 1010-@

2шт.

6

01580-00806

NUT

SN: 1067-@

2шт.

7

195-54-11141

BOLT

SN: 1010-@

16шт.

8

01601-03075

WASHER

SN: 1010-@

16шт.

9

195-54-11281

MARK

SN: 1632-@

1шт.

10

01010-31035

BOLT

SN: 1632-@

4шт.

11

01602-01030

WASHER

SN: 1632-@

4шт.

12

195-54-11394

NET

SN: 1632-3299

2шт.

13

01010-30825

BOLT

SN: 1632-@

16шт.

14

01602-00825

WASHER

SN: 1632-@

16шт.

15

01643-30823

WASHER

SN: 1632-@

16шт.

16

195-54-11135

GRILLE

SN: 1632-3299

2шт.

17

01010-31650

BOLT

SN: 1117-@

8шт.

18

01602-01648

WASHER

SN: 1010-@

8шт.

19

01643-01645

WASHER

SN: 1117-@

8шт.

20

195-54-12644

PLATE

SN: 3300-@

1шт.

20

0

PLATE

SN: 1632-3299

1шт.

21

01010-31025

BOLT

SN: 1010-@

5шт.

22

01602-01030

WASHER

SN: 1010-@

5шт.

23

01643-01032

WASHER

SN: 1010-@

5шт.

24

195-54-11542

PLATE

SN: 1632-3299

1шт.

25

195-54-11552

PLATE

SN: 1632-@

1шт.

26

01010-31025

BOLT

SN: 1010-3299

8шт.

27

01602-01030

WASHER

SN: 1010-3299

8шт.

28

01643-01032

WASHER

SN: 1010-3299

8шт.

29

195-54-12630

PLATE

SN: 1010-3299

1шт.

30

01010-31225

BOLT

SN: 1010-@

4шт.

31

01602-01236

WASHER

SN: 1010-@

4шт.

32

01643-01232

WASHER

SN: 1010-@

4шт.

33

195-54-11532

COVER

SN: 1632-3299

1шт.

34

01010-32055

BOLT

SN: 1632-3299

6шт.

35

01602-02060

WASHER

SN: 1632-@

6шт.

36

01643-02045

WASHER

SN: 1632-@

6шт.

37

195-54-11225

COVER

SN: 1632-3299

1шт.

38

01010-31225

BOLT

SN: 1010-3299

9шт.

39

01602-01236

WASHER

SN: 1010-3299

9шт.

40

01643-01232

WASHER

SN: 1010-3299

9шт.

Выбрано товаров: 41