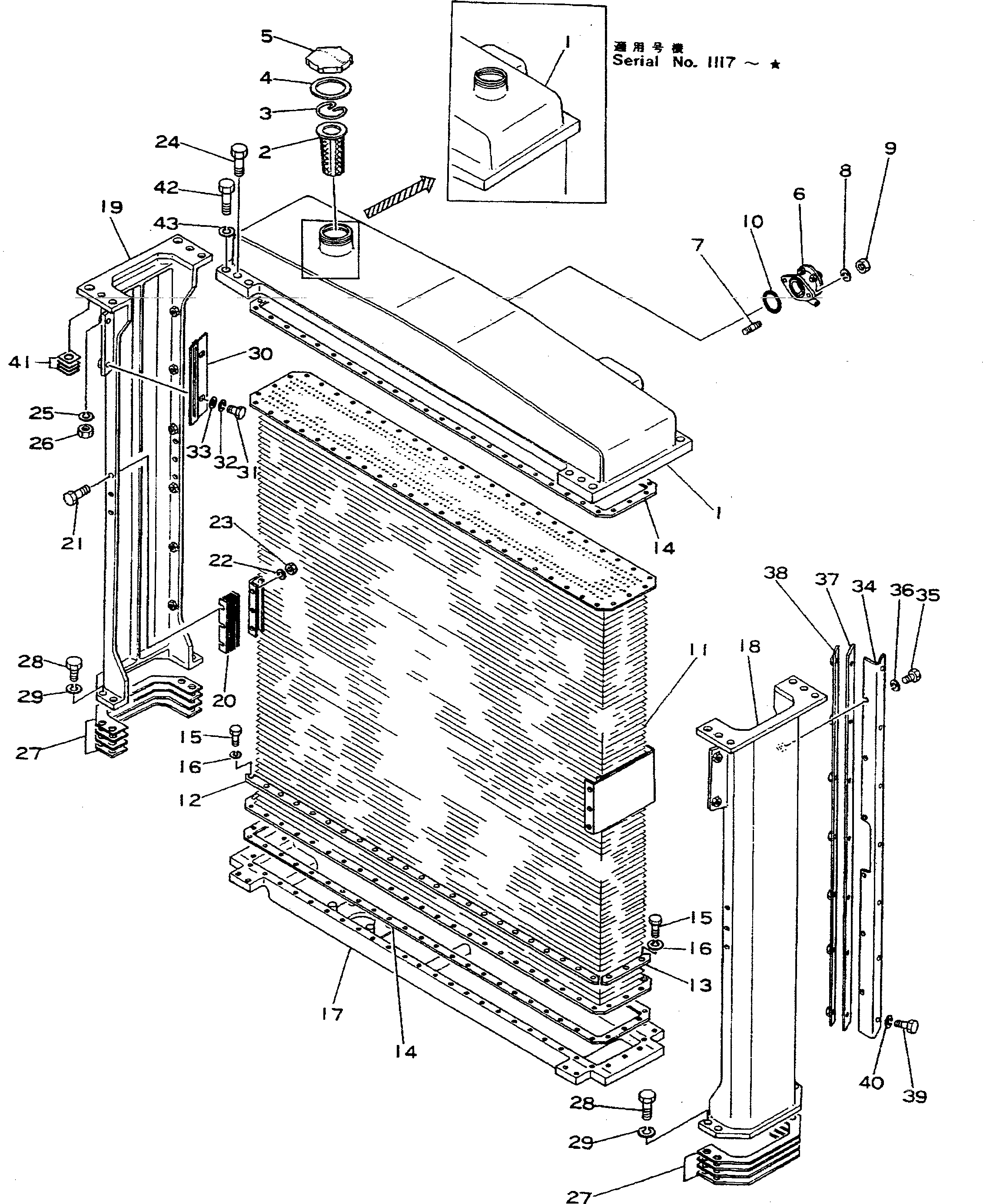
Запчасти Komatsu D355A-3 РАДИАТОР(№-) КОМПОНЕНТЫ ДВИГАТЕЛЯ И ЭЛЕКТРИКА

Схема запчастей Komatsu D355A-3 - РАДИАТОР(№-) КОМПОНЕНТЫ ДВИГАТЕЛЯ И ЭЛЕКТРИКА
FIT
1:1
100%

Артикул

Название

Примечание

Количество

|$0

195-03-00038

RADIATOR ASS'Y

SN: 1297-@

1шт.

|$1

0

RADIATOR ASS'Y

SN: 1211-1296

1шт.

|$2

195-03-00036

RADIATOR ASS'Y

SN: 1175-1210

1шт.

|$3

0

RADIATOR ASS'Y

SN: 1117-1174

1шт.

|$4

0

RADIATOR ASS'Y

SN: 1067-1116

1шт.

|$5

0

RADIATOR ASS'Y

SN: 1010-1066

1шт.

|$6

195-03-00203

UPPER TANK ASS'Y

SN: 1297-@

1шт.

|$7

0

UPPER TANK ASS'Y

SN: 1211-1296

1шт.

|$8

195-03-00201

UPPER TANK ASS'Y

SN: 1117-1210

1шт.

|$9

195-03-00200

UPPER TANK ASS'Y

SN: 1010-1116

1шт.

1

195-03-11115

TANK

SN: 1297-UP

1шт.

1

0

TANK

SN: 1211-1296

1шт.

1

195-03-11113

TANK

SN: 1117-1210

1шт.

1

195-03-11112

TANK

SN: 1010-1116

1шт.

2

07056-00048

STRAINER

SN: 1117-@

1шт.

2

0

STRAINER

SN: 1010-1116

1шт.

3

07057-03271

RING

SN: 1117-@

1шт.

3

0

RING

SN: 1010-1116

1шт.

4

07053-00002

GASKET

SN: 1117-@

1шт.

4

0

GASKET

SN: 1010-1116

1шт.

5

07053-10000

CAP

SN: 1297-@

1шт.

5

0

CAP

SN: 1117-1296

1шт.

5

175-03-21470

CAP

SN: 1010-1116

1шт.

5

07093-00000

CAP,(FOR VANDALISM PROTECTION)

SN: 1117-@

1шт.

6

154-03-11681

VALVE

SN: 1010-@

1шт.

6

0

VALVE

SN: 1010-1066

1шт.

7

01120-31025

STUD

SN: 1010-@

2шт.

8

01602-01030

WASHER

SN: 1010-@

2шт.

9

01582-01008

NUT

SN: 1010-@

2шт.

10

07000-03045

O-RING

SN: 1010-@

1шт.

11

195-03-11125

CORE

SN: 1297-@

1шт.

11

0

CORE

SN: 1211-1296

1шт.

11

195-03-11123

CORE

SN: 1175-1210

1шт.

11

0

CORE

SN: 1117-1174

1шт.

11

0

CORE

SN: 1010-1116

1шт.

12

195-03-11211

PLATE

SN: 1067-@

4шт.

12

0

PLATE

SN: 1010-1066

4шт.

13

195-03-11143

PLATE

SN: 1211-@

4шт.

13

195-03-11141

PLATE

SN: 1010-1210

4шт.

14

195-03-11152

GASKET (KIT)

SN: 1211-@

2шт.

14

195-03-11151

GASKET (KIT)

SN: 1010-1210

2шт.

15

01010-31030

BOLT

SN: 1010-@

104шт.

16

01602-01030

WASHER

SN: 1010-@

104шт.

17

195-03-11163

TANK

SN: 1211-@

1шт.

17

195-03-11162

TANK

SN: 1010-1210

1шт.

18

195-03-11484

SHIELD,L.H.

SN: 1211-@

1шт.

18

195-03-11483

SHIELD,L.H.

SN: 1175-1210

1шт.

18

0

SHIELD,L.H.

SN: 1010-1174

1шт.

19

195-03-11494

SHIELD,R.H.

SN: 1211-@

1шт.

19

195-03-11493

SHIELD,R.H.

SN: 1175-1210

1шт.

19

0

SHIELD,R.H.

SN: 1010-1174

1шт.

20

175-03-31490

SHIM, 0.6MM

SN: 1175-@

14шт.

21

01010-31030

BOLT

SN: 1175-@

12шт.

22

01602-01030

WASHER

SN: 1175-@

12шт.

23

01580-01080

NUT

SN: 1175-@

12шт.

24

01010-31465

BOLT

SN: 1067-@

8шт.

24

01040-31460

BOLT

SN: 1010-1066

8шт.

25

01602-01442

WASHER

SN: 1010-@

8шт.

26

01580-01411

NUT

SN: 1067-@

8шт.

26

01503-31411

NUT

SN: 1010-1066

8шт.

27

195-03-00071

SHIM ASS'Y

SN: 1211-@

2шт.

27

195-03-00070

SHIM ASS'Y

SN: 1010-1210

2шт.

27

0

SHIM, 0.1MM

SN: 1211-@

1шт.

27

0

SHIM, 0.2MM

SN: 1010-1210

1шт.

27

0

SHIM, 0.2MM

SN: 1211-@

2шт.

27

0

SHIM, 0.2MM

SN: 1010-1210

2шт.

27

0

SHIM, 0.5MM

SN: 1211-@

1шт.

27

0

SHIM, 0.5MM

SN: 1010-1210

1шт.

27

0

SHIM, 1.0MM

SN: 1211-@

1шт.

27

0

SHIM, 1.0MM

SN: 1010-1210

1шт.

28

01010-31440

BOLT

SN: 1067-@

8шт.

28

01040-31440

BOLT

SN: 1010-1066

8шт.

29

01602-01442

WASHER

SN: 1010-@

8шт.

30

195-03-11971

PLATE

SN: 1010-@

2шт.

31

01010-31030

BOLT

SN: 1010-@

4шт.

32

01602-01030

WASHER

SN: 1010-@

4шт.

33

01643-01032

WASHER

SN: 1010-@

4шт.

34

195-03-11635

PLATE

SN: 1297-1631

2шт.

34

195-03-11634

PLATE

SN: 1211-1296

2шт.

34

195-03-11633

PLATE

SN: 1175-1210

2шт.

34

0

PLATE

SN: 1010-1174

2шт.

35

01010-31030

BOLT

SN: 1010-@

12шт.

36

01602-01030

WASHER

SN: 1010-@

12шт.

37

195-03-11640

COVER

SN: 1010-1210

2шт.

38

195-03-11650

PLATE

SN: 1010-1210

2шт.

39

01010-30820

BOLT

SN: 1067-1210

14шт.

39

01000-30820

BOLT

SN: 1010-1066

14шт.

40

01602-00825

WASHER

SN: 1010-1210

14шт.

41

195-03-00080

SHIM ASS'Y

SN: 1010-@

4шт.

41

0

SHIM, 0.2MM

SN: 1010-@

2шт.

41

0

SHIM, 1.0MM

SN: 1010-@

2шт.

42

01010-31875

BOLT

SN: 1067-@

4шт.

42

01040-31875

BOLT

SN: 1010-1066

4шт.

43

01602-01854

WASHER

SN: 1010-@

4шт.

Выбрано товаров: 94