Запчасти Komatsu D355A-3 КРЫЛО(№9-) ЧАСТИ КОРПУСА

Схема запчастей Komatsu D355A-3 - КРЫЛО(№9-) ЧАСТИ КОРПУСА
FIT
1:1
100%

Артикул

Название

Примечание

Количество

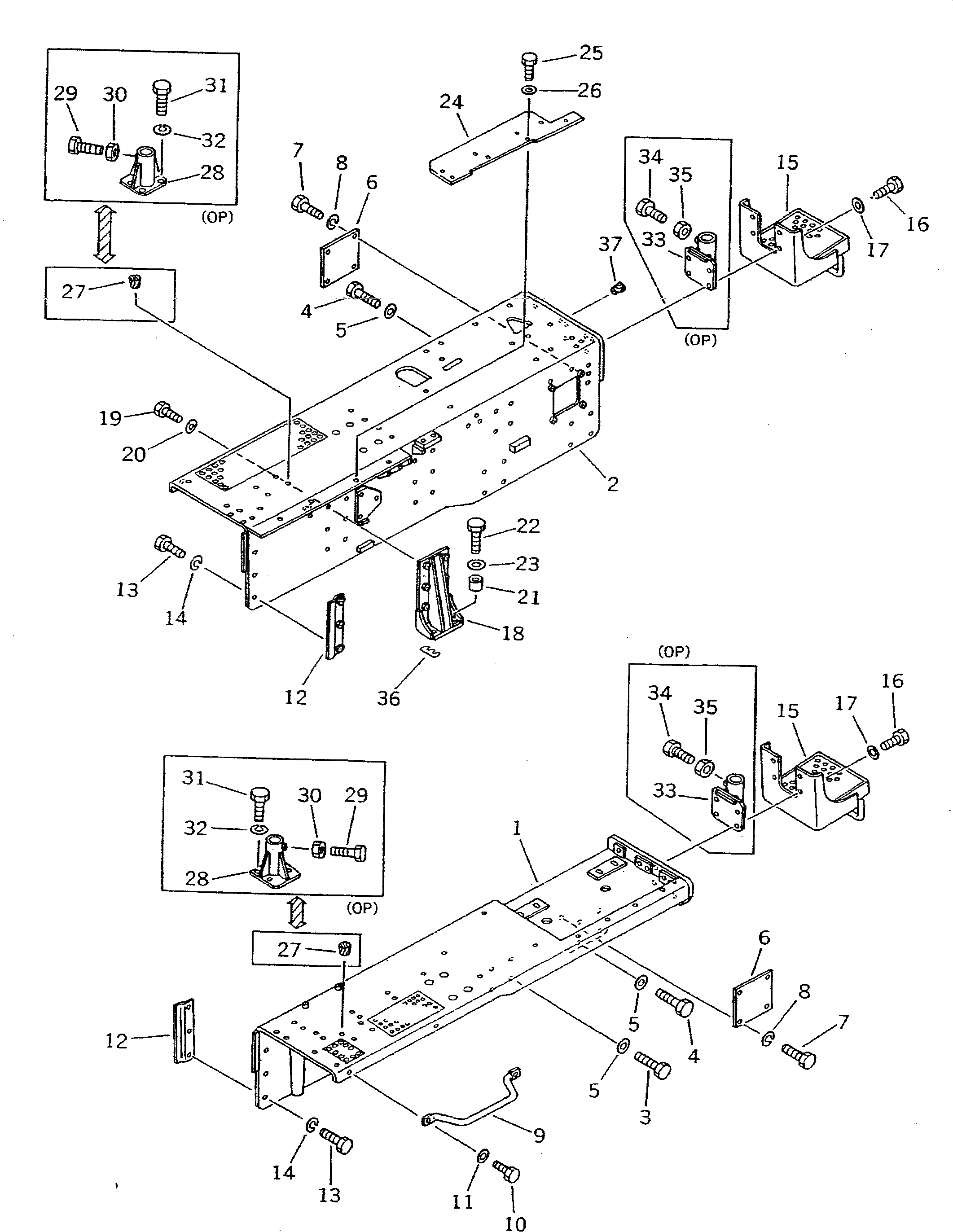
1

195-54-12659

FENDER,L.H.

SN: 9001-UP

1шт.

2

195-54-12851

FENDER,R.H.

SN: 9001-UP

1шт.

3

01010-82455

BOLT

SN: 9001-UP

8шт.

4

01010-52465

BOLT

SN: 9001-UP

8шт.

5

01643-32460

WASHER

SN: 2473-UP

16шт.

6

195-54-12582

PLATE

SN: 1117-UP

2шт.

7

01010-81240

BOLT

SN: 3301-UP

8шт.

8

01602-21236

WASHER

SN: 3301-UP

8шт.

9

175-54-22840

HANDLE

SN: 3301-UP

2шт.

10

01010-81445

BOLT

SN: 3301-UP

4шт.

11

01643-31445

WASHER

SN: 9001-UP

4шт.

12

195-54-12675

PLATE

SN: 3301-UP

2шт.

13

01010-81235

BOLT

SN: 3301-UP

6шт.

14

01602-21236

WASHER

SN: 3301-UP

6шт.

15

195-54-23991

STEP

SN: 3301-UP

2шт.

16

01010-81850

BOLT

SN: 3301-UP

8шт.

17

01643-31845

WASHER

SN: 9001-UP

8шт.

18

195-54-16331

BRACKET

SN: 2473-UP

2шт.

19

01010-81645

BOLT

SN: 1632-UP

12шт.

20

01643-31645

WASHER

SN: 3301-UP

12шт.

21

195-54-11570

SPACER

SN: 2473-UP

8шт.

22

01010-81675

BOLT

SN: 2473-UP

8шт.

23

01643-31645

WASHER

SN: 9001-UP

8шт.

24

175-54-33252

PLATE

SN: 4001-UP

1шт.

25

01010-81450

BOLT

SN: 4001-UP

4шт.

26

01643-31445

WASHER

SN: 4001-UP

4шт.

27

07049-01418

PLUG

SN: 3301-UP

8шт.

28

195-906-1112

BRACKET

SN: 1023-UP

2шт.

29

01010-81450

BOLT

SN: 3301-UP

4шт.

30

01580-01411

NUT

SN: 1067-UP

4шт.

31

01010-81440

BOLT

SN: 1067-UP

8шт.

32

01602-01442

WASHER

SN: 1023-UP

8шт.

33

175-54-22830

BRACKET

SN: 1632-UP

2шт.

34

01010-81450

BOLT

SN: 3301-UP

4шт.

35

01580-01411

NUT

SN: 1067-UP

4шт.

36

195-54-24770

SHIM, 1.0MM

SN: 9001-UP

3шт.

37

07049-03038

PLUG

SN: 9001-UP

10шт.

Выбрано товаров: 0