Запчасти Komatsu D355A-3 РАДИАТОР(№-99) КОМПОНЕНТЫ ДВИГАТЕЛЯ И ЭЛЕКТРИКА

Схема запчастей Komatsu D355A-3 - РАДИАТОР(№-99) КОМПОНЕНТЫ ДВИГАТЕЛЯ И ЭЛЕКТРИКА
FIT
1:1
100%

Артикул

Название

Примечание

Количество

|$0

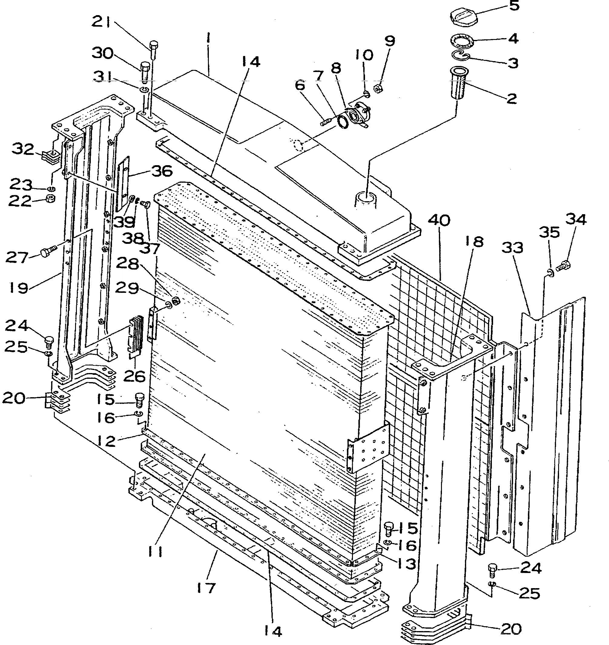
195-03-00038

RADIATOR ASS'Y,D-TYPE

SN: 1211-3299

1шт.

|$1

195-03-00120

RADIATOR ASS'Y,G-TYPE

SN: 1632-3299

1шт.

|$2

195-03-00203

UPPER TANK ASS'Y

SN: 1211-3299

1шт.

1

195-03-11115

TANK

SN: 1211-3299

1шт.

2

07056-00048

STRAINER

SN: 1010-@

1шт.

3

07057-03271

RING

SN: 1010-@

1шт.

4

07053-00002

GASKET

SN: 1010-@

1шт.

5

07053-10000

CAP

SN: 1117-@

1шт.

5

07093-00000

CAP,(FOR VANDALISM PROTECTION)

SN: 1117-@

1шт.

6

01120-31025

STUD

SN: 1010-@

2шт.

7

07000-03045

O-RING

SN: 1010-@

1шт.

8

154-03-11681

VALVE

SN: 1010-3299

1шт.

9

01582-01008

NUT

SN: 1010-@

2шт.

10

01602-01030

WASHER

SN: 1010-@

2шт.

11

195-03-11125

CORE,D-TYPE

SN: 1211-3299

1шт.

11

195-03-17160

CORE,G-TYPE

SN: 1632-3299

1шт.

12

195-03-11131

PLATE

SN: 1010-3299

4шт.

13

195-03-11143

PLATE

SN: 1211-@

4шт.

14

195-03-11152

GASKET

SN: 1211-3299

2шт.

15

01010-31030

BOLT

SN: 1010-3299

104шт.

16

01602-01030

WASHER

SN: 1010-3299

104шт.

17

195-03-11163

TANK

SN: 1211-3299

1шт.

18

195-03-11484

SHIELD

SN: 1211-3299

1шт.

19

195-03-11494

SHIELD

SN: 1211-3299

1шт.

20

195-03-00071

SHIM ASS'Y

SN: 1211-3299

2шт.

20

0

SHIM, 0.1MM

SN: 1211-3299

1шт.

20

0

SHIM, 0.2MM

SN: 1211-3299

2шт.

20

0

SHIM, 0.5MM

SN: 1211-3299

1шт.

20

0

SHIM, 1.0MM

SN: 1211-3299

1шт.

21

01010-31465

BOLT

SN: 1067-@

8шт.

22

01580-01411

NUT

SN: 1067-3299

8шт.

23

01602-01442

WASHER

SN: 1010-@

8шт.

24

01010-31440

BOLT

SN: 1067-3299

8шт.

25

01602-01442

WASHER

SN: 1010-3299

8шт.

26

175-03-31490

SHIM, 0.6MM

SN: 1175-3299

14шт.

27

01010-31030

BOLT

SN: 1175-3299

12шт.

28

01580-01008

NUT

SN: 1175-3299

12шт.

29

01602-01030

WASHER

SN: 1175-@

12шт.

30

01010-31875

BOLT

SN: 1067-3299

4шт.

31

01602-01854

WASHER

SN: 1010-@

4шт.

32

195-03-00080

SHIM ASS'Y

SN: 1010-@

4шт.

32

0

SHIM, 0.2MM

SN: 1010-@

2шт.

32

0

SHIM, 1.0MM

SN: 1010-@

2шт.

33

195-03-11636

PLATE,L.H.

SN: 1632-3299

1шт.

33

195-03-12640

PLATE,R.H.

SN: 1632-3299

1шт.

34

01010-31030

BOLT

SN: 1010-3299

12шт.

35

01602-01030

WASHER

SN: 1010-@

12шт.

36

195-03-11971

PLATE

SN: 1010-3299

2шт.

37

01010-31030

BOLT

SN: 1010-3299

4шт.

38

01602-01030

WASHER

SN: 1010-3299

4шт.

39

01643-01032

WASHER

SN: 1010-3299

4шт.

40

195-03-11941

GRID

SN: 1010-3299

1шт.

Выбрано товаров: 52