Запчасти Komatsu D355A-3 ПОЛ КАБИНЫ(№9-) ЧАСТИ КОРПУСА

Схема запчастей Komatsu D355A-3 - ПОЛ КАБИНЫ(№9-) ЧАСТИ КОРПУСА
FIT
1:1
100%

Артикул

Название

Примечание

Количество

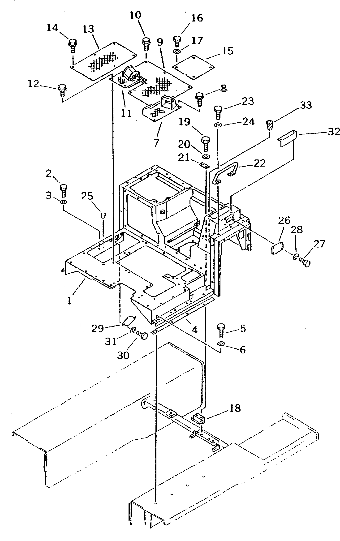
1

175-54-33113

FRAME

SN: 9001-UP

1шт.

2

01010-81475

BOLT

SN: 3301-UP

4шт.

3

01643-31445

WASHER

SN: 3301-UP

4шт.

4

175-54-33140

SEAT

SN: 3301-UP

1шт.

5

01010-81490

BOLT

SN: 9001-UP

4шт.

5

01011-51400

BOLT

SN: 3301-9000

4шт.

6

01643-31445

WASHER

SN: 3301-UP

4шт.

7

175-54-33214

COVER

SN: 9001-UP

1шт.

8

01439-01230

BOLT

SN: 13781-UP

4шт.

8

0

BOLT

SN: 9001-13780

4шт.

9

175-54-33175

COVER

SN: 9001-UP

1шт.

10

01439-01230

BOLT

SN: 13781-UP

9шт.

10

0

BOLT

SN: 9001-13780

9шт.

11

175-54-33197

COVER

SN: 9001-UP

1шт.

12

01439-01230

BOLT

SN: 13781-UP

3шт.

12

0

BOLT

SN: 9001-13780

3шт.

13

195-54-23562

COVER

SN: 9001-UP

1шт.

14

01439-01230

BOLT

SN: 13781-UP

6шт.

14

0

BOLT

SN: 9001-13780

6шт.

15

175-54-33233

COVER

SN: 9001-UP

1шт.

16

01010-80816

BOLT

SN: 9001-UP

4шт.

17

01643-30823

WASHER

SN: 9001-UP

4шт.

18

175-54-33151

SEAT

SN: 4001-UP

1шт.

19

01011-51400

BOLT

SN: 4001-UP

2шт.

20

01643-31445

WASHER

SN: 4001-UP

2шт.

21

195-54-23471

PLATE

SN: 4001-UP

1шт.

22

195-54-24780

HANDLE

SN: 9001-UP

1шт.

23

01010-81440

BOLT

SN: 9001-UP

2шт.

24

01643-31445

WASHER

SN: 9001-UP

2шт.

25

07049-01418

PLUG

SN: 9001-UP

15шт.

26

195-54-26240

COVER

SN: 9001-UP

1шт.

27

01010-80616

BOLT

SN: 9001-UP

4шт.

28

01602-20619

WASHER

SN: 9001-UP

4шт.

29

175-54-37260

COVER

SN: 9001-UP

1шт.

30

01010-80816

BOLT

SN: 9001-UP

2шт.

31

01602-20825

WASHER

SN: 9001-UP

2шт.

32

195-54-26250

COVER

SN: 9001-UP

1шт.

33

07049-00811

PLUG,(WITH CAB)

SN: 9001-UP

1шт.

Выбрано товаров: 38