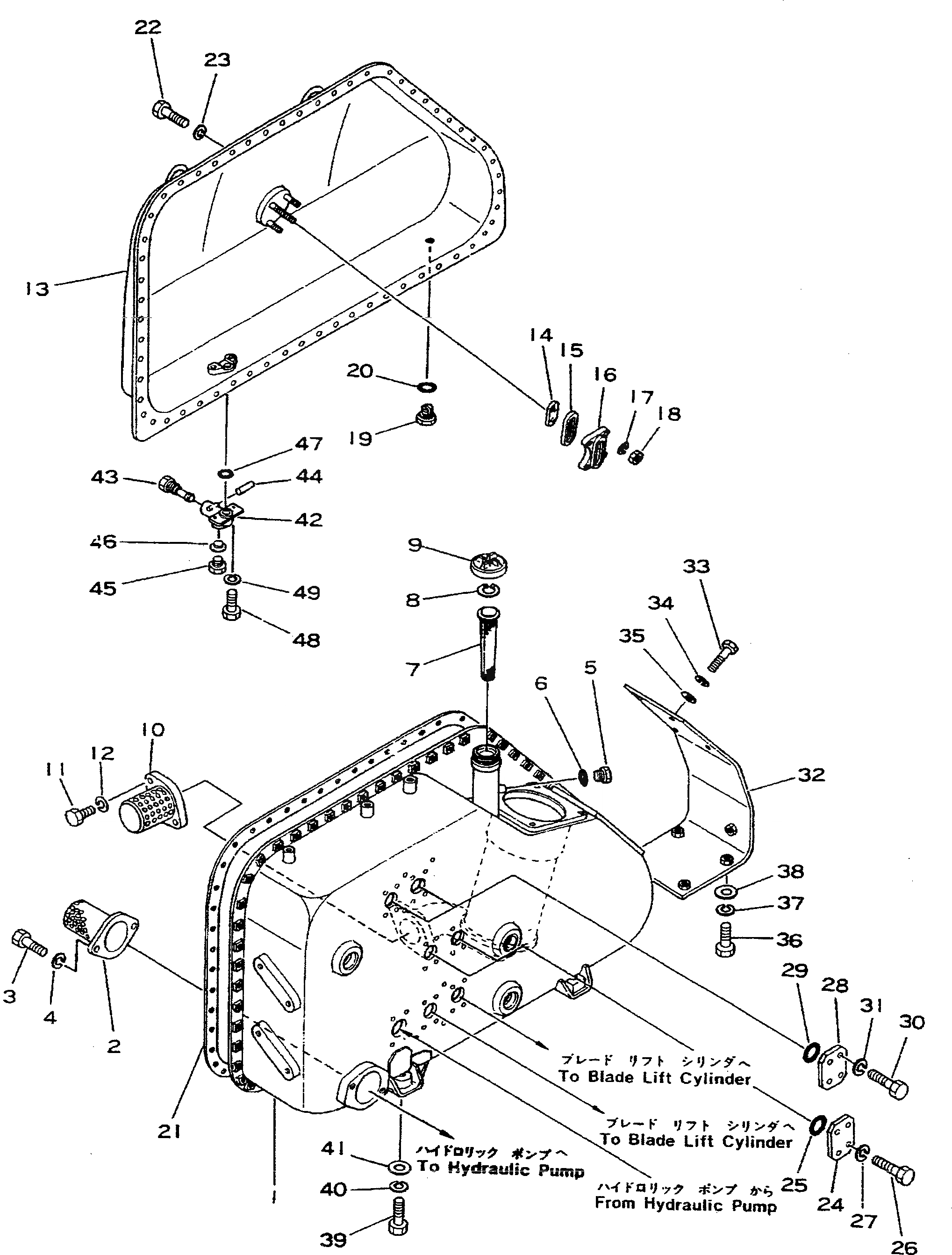
Запчасти Komatsu D355A-3 ГИДР. БАК. (/)(№-99) УПРАВЛ-Е РАБОЧИМ ОБОРУДОВАНИЕМ

Схема запчастей Komatsu D355A-3 - ГИДР. БАК. (/)(№-99) УПРАВЛ-Е РАБОЧИМ ОБОРУДОВАНИЕМ
FIT
1:1
100%

Артикул

Название

Примечание

Количество

|$0

195-60-13000

HYDRAULIC TANK ASS'Y

SN: @-3299

1шт.

|$1

0

HYDRAULIC TANK ASS'Y

SN: 1632-@

1шт.

|$$3

THESE ASSEMBLIES CONSIST OF ALL PARTS SHOWN IN FIGS.611A TO 625A.

-1шт.

1

195-60-11118

TANK

SN: 1632-3299

1шт.

2

155-60-12362

STRAINER

SN: 1116-3299

1шт.

3

01010-31435

BOLT

SN: 1632-3299

2шт.

4

01602-01442

WASHER

SN: 1632-3299

2шт.

5

701-30-63130

PLUG

SN: 1116-@

1шт.

6

07002-02034

O-RING

SN: 1116-@

1шт.

7

07056-10045

STRAINER

SN: 3300-@

1шт.

7

0

STRAINER

SN: 1010-3299

1шт.

8

150-60-22410

RING

SN: 1010-@

1шт.

9

07051-00000

CAP

SN: 1010-@

1шт.

9

07092-00000

CAP,(FOR VANDALISM PROTECTION)

SN: 1010-@

1шт.

9

07051-00003

GASKET

SN: 1010-@

1шт.

10

195-60-16510

BAFFLE

SN: 1010-3299

1шт.

11

01010-31445

BOLT

SN: 1010-3299

2шт.

12

01602-01442

WASHER

SN: 1010-@

2шт.

13

195-60-11143

TANK

SN: 1632-3299

1шт.

|$19

155-60-12300

LEVEL GAUGE ASS'Y

SN: 1010-@

1шт.

14

155-60-12320

PLATE

SN: 1010-@

1шт.

15

155-60-12310

PACKING

SN: 1010-@

1шт.

16

155-60-12330

CASE

SN: 1010-@

1шт.

17

01602-01030

WASHER

SN: 1010-@

4шт.

18

01580-01008

NUT

SN: 1010-@

4шт.

19

07044-13620

PLUG

SN: 1010-@

1шт.

20

07002-03634

O-RING

SN: 1010-@

1шт.

21

195-60-11133

GASKET

SN: 1010-@

1шт.

22

01010-31025

BOLT

SN: 1010-@

59шт.

23

01602-01030

WASHER

SN: 1010-@

59шт.

24

07378-01460

FLANGE

SN: 1632-@

2шт.

25

07000-13048

O-RING

SN: 1010-@

2шт.

26

01010-31240

BOLT

SN: 1010-@

8шт.

27

01602-01236

WASHER

SN: 1010-@

8шт.

28

07378-01460

FLANGE

SN: 1632-@

2шт.

29

07000-13048

O-RING

SN: 1010-@

2шт.

30

01010-31240

BOLT

SN: 1010-@

8шт.

31

01602-01236

WASHER

SN: 1010-@

8шт.

32

195-60-16560

BRACKET

SN: 1010-@

1шт.

33

01010-31235

BOLT

SN: 1010-@

4шт.

34

01602-01236

WASHER

SN: 1010-@

4шт.

35

01643-31232

WASHER

SN: 1010-@

4шт.

36

01010-31445

BOLT

SN: 1010-@

4шт.

37

01602-01442

WASHER

SN: 1010-@

4шт.

38

01643-31445

WASHER

SN: 1010-@

4шт.

39

01010-31855

BOLT

SN: 1184-@

5шт.

40

01602-01854

WASHER

SN: 1184-@

5шт.

41

01643-31845

WASHER

SN: 1184-@

5шт.

|$48

155-60-12500

VALVE ASS'Y

SN: 1632-@

1шт.

42

155-60-12510

BODY

SN: 1632-@

1шт.

43

155-60-12520

VALVE

SN: 1632-@

1шт.

44

04025-00532

PIN

SN: 1632-@

1шт.

45

07040-12412

PLUG

SN: 1632-@

1шт.

46

07005-02416

GASKET

SN: 1632-@

1шт.

47

07000-03025

O-RING

SN: 1632-@

1шт.

48

01010-31030

BOLT

SN: 1632-@

2шт.

49

01602-01030

WASHER

SN: 1632-@

2шт.

Выбрано товаров: 57