Запчасти Komatsu D355A-3 ГИДР. БАК. (/)(№-9) УПРАВЛ-Е РАБОЧИМ ОБОРУДОВАНИЕМ

Схема запчастей Komatsu D355A-3 - ГИДР. БАК. (/)(№-9) УПРАВЛ-Е РАБОЧИМ ОБОРУДОВАНИЕМ
FIT
1:1
100%

Артикул

Название

Примечание

Количество

|$0

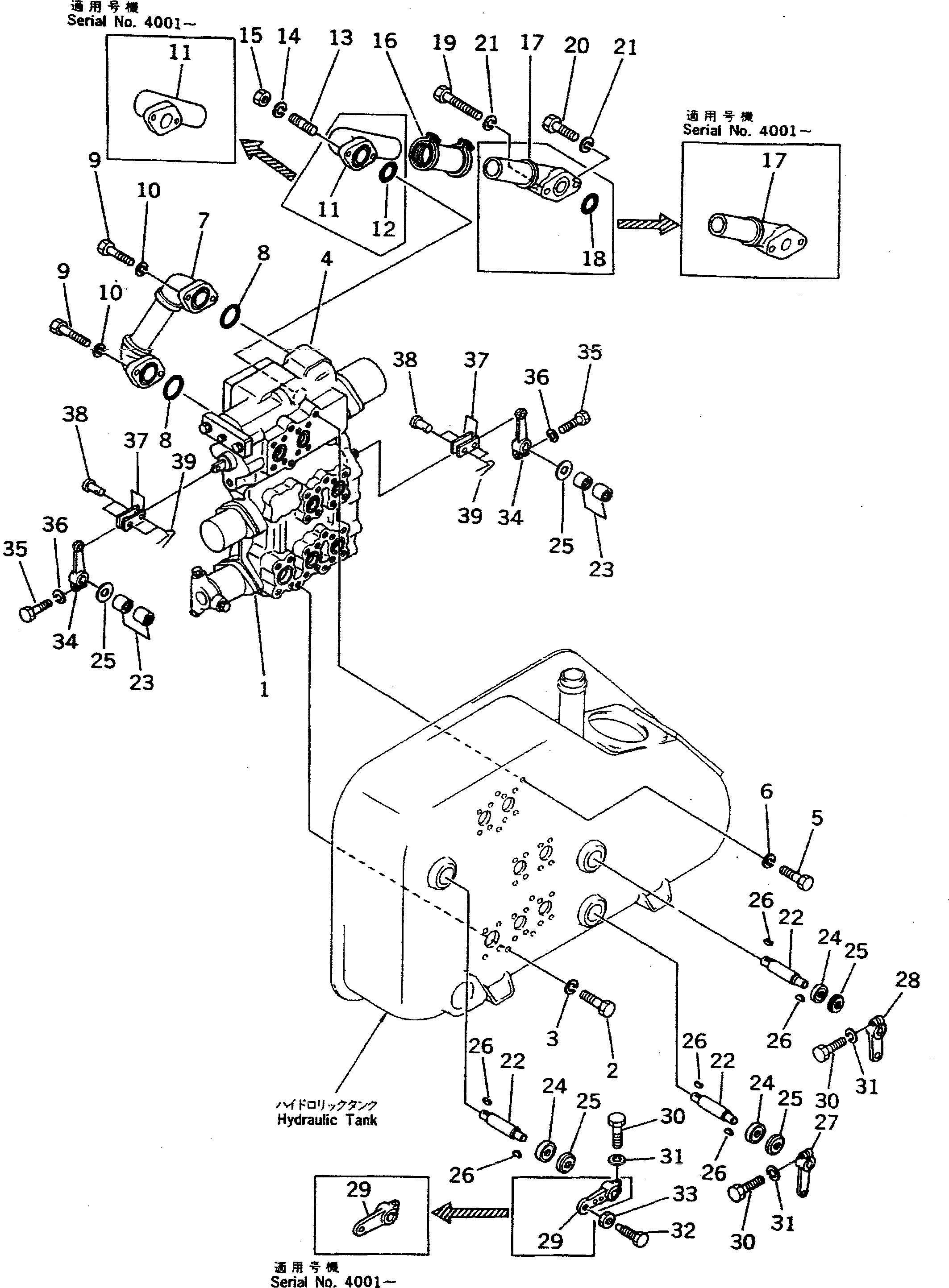
195-60-13003

HYDRAULIC TANK ASS'Y

SN: 9001-@

1шт.

|$1

0

HYDRAULIC TANK ASS'Y

SN: 4001-9000

1шт.

|$2

0

HYDRAULIC TANK ASS'Y

SN: 3301-4000

1шт.

|$$4

THESE ASSEMBLIES CONSIST OF ALL PARTS SHOWN IN FIGS.611B TO 625A

-1шт.

1

701-43-24002

VALVE ASS'Y

SN: 5001-@

1шт.

1

0

VALVE ASS'Y

SN: 4001-5000

1шт.

1

0

VALVE ASS'Y

SN: 3301-4000

1шт.

2

01010-31230

BOLT

SN: 1010-@

3шт.

3

01602-01236

WASHER

SN: 1010-@

3шт.

4

701-41-21002

CONTROL VALVE ASS'Y

SN: 1632-@

1шт.

5

01010-31230

BOLT

SN: 1010-@

3шт.

6

01602-01236

WASHER

SN: 1010-@

3шт.

7

175-60-27253

TUBE

SN: 9001-@

1шт.

7

0

TUBE

SN: 1632-9000

1шт.

8

07000-13050

O-RING

SN: 1632-@

2шт.

9

01010-31445

BOLT

SN: 1010-@

4шт.

10

20D-14-11510

WASHER

SN: 9001-@

4шт.

10

0

WASHER

SN: 1010-9000

4шт.

11

195-60-16631

TUBE

SN: 4001-@

1шт.

11

0

TUBE

SN: 3301-4000

1шт.

12

07000-02055

O-RING

SN: 3301-4000

1шт.

13

01144-31435

STUD

SN: 1010-@

2шт.

14

20D-14-11510

WASHER

SN: 9001-@

2шт.

14

0

WASHER

SN: 1010-9000

2шт.

15

01580-01411

NUT

SN: 1010-@

2шт.

16

0

COUPLING

SN: 1632-9000

1шт.

|$$27

(175-60-29160,07281-00709(2))

-1шт.

17

195-60-16641

TUBE

SN: 4001-@

1шт.

17

0

TUBE

SN: 3301-4000

1шт.

18

07000-03050

O-RING

SN: 1632-4000

1шт.

19

01010-31495

BOLT

SN: 3301-@

1шт.

20

01010-31440

BOLT

SN: 3301-@

1шт.

21

20D-14-11510

WASHER

SN: 9001-@

2шт.

21

0

WASHER

SN: 1010-9000

2шт.

22

175-60-27290

SHAFT

SN: 1632-9000

3шт.

23

06120-02520

BEARING

SN: 1010-@

6шт.

24

154-60-12370

SEAL

SN: 1010-@

3шт.

25

01640-22440

WASHER

SN: 1010-9000

6шт.

26

04010-00519

KEY

SN: 1010-9000

6шт.

27

175-60-27310

LEVER

SN: 1632-@

1шт.

28

195-60-13120

LEVER

SN: 3301-@

1шт.

29

175-60-29120

LEVER

SN: 4001-@

1шт.

29

175-60-27330

LEVER

SN: 1632-4000

1шт.

30

01010-31040

BOLT

SN: 1632-@

3шт.

31

01602-01030

WASHER

SN: 1010-@

3шт.

32

154-60-41220

BOLT

SN: 1632-4000

1шт.

33

01580-01613

NUT

SN: 1632-4000

1шт.

34

0

LEVER

SN: 1010-9000

3шт.

|$$49

(175-60-29140,175-60-29150)

-1шт.

35

01010-30830

BOLT

SN: 1010-9000

3шт.

36

01602-00825

WASHER

SN: 1010-9000

3шт.

37

141-60-32170

YOKE

SN: 1010-@

6шт.

38

04205-01028

PIN

SN: 1010-@

6шт.

39

04050-03015

PIN

SN: 1010-@

6шт.

Выбрано товаров: 54