Запчасти Komatsu D355A-3 КЛАПАН ПЕРЕКОСА ОТВАЛА(№-) УПРАВЛ-Е РАБОЧИМ ОБОРУДОВАНИЕМ

Схема запчастей Komatsu D355A-3 - КЛАПАН ПЕРЕКОСА ОТВАЛА(№-) УПРАВЛ-Е РАБОЧИМ ОБОРУДОВАНИЕМ
FIT
1:1
100%

Артикул

Название

Примечание

Количество

|$0

195-60-13005

HYDRAULIC TANK ASS'Y

SN: 13664-UP

1шт.

|$1

0

HYDRAULIC TANK ASS'Y

SN: 9001-13663

1шт.

|$2

0

HYDRAULIC TANK ASS'Y

SN: 4001-9000

1шт.

|$3

0

HYDRAULIC TANK ASS'Y

SN: 3301-4000

1шт.

|$4

195-60-13000

HYDRAULIC TANK ASS'Y

SN: .-3299

1шт.

|$5

0

HYDRAULIC TANK ASS'Y

SN: 1632-.

1шт.

|$$7

THESE ASSEMBLIES CONSIST OF ALL PARTS SHOWN IN FIGS.611A TO 625A.

-1шт.

|$7

701-41-21004

CONTROL VALVE ASS'Y

SN: 5001-UP

1шт.

|$8

0

CONTROL VALVE ASS'Y

SN: 4001-5000

1шт.

|$9

0

CONTROL VALVE ASS'Y

SN: 3301-4000

1шт.

|$10

701-41-21001

CONTROL VALVE ASS'Y

SN: 1632-3299

1шт.

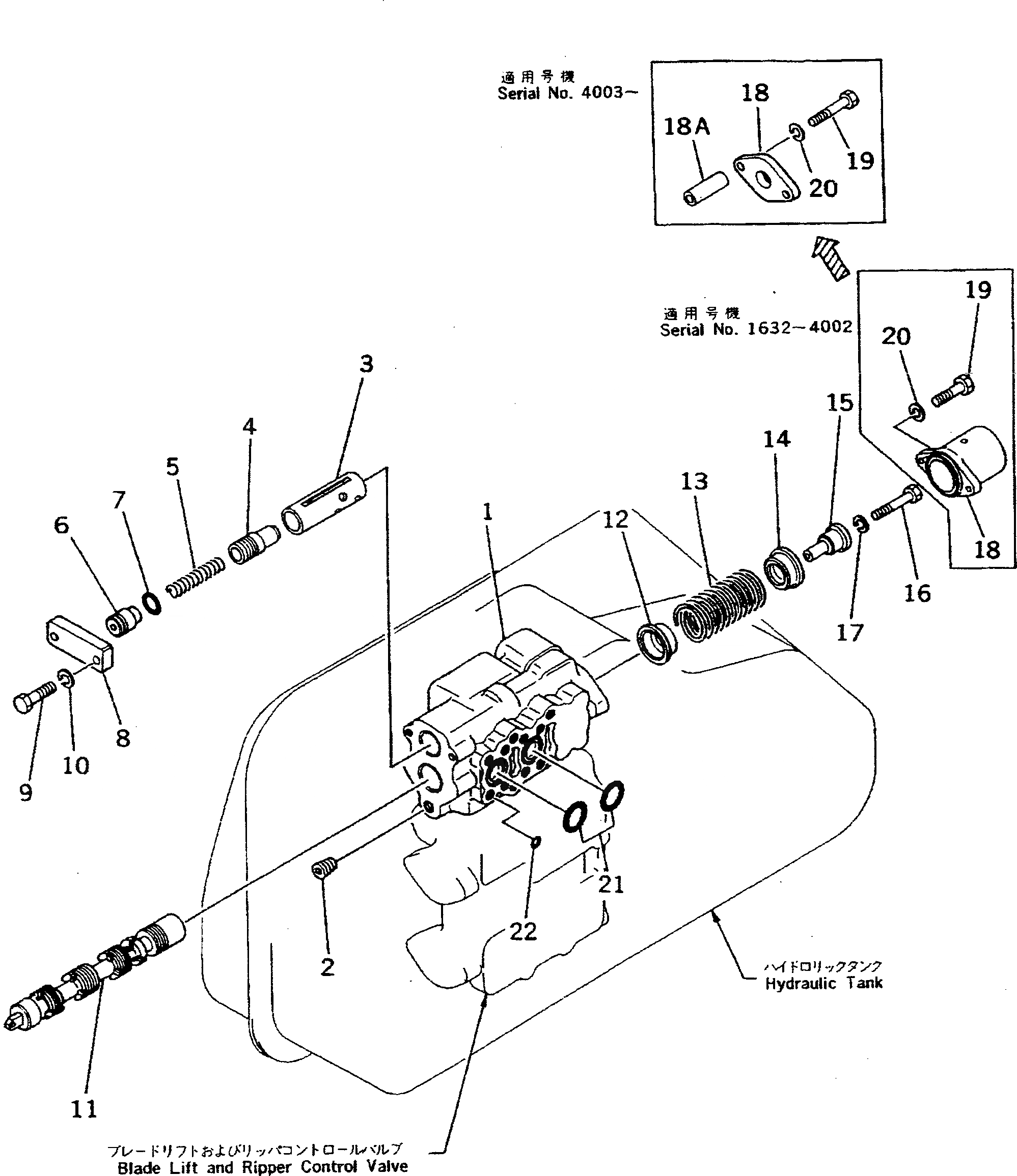
1

0

BODY

SN: 5001-UP

1шт.

1

0

BODY

SN: 1632-5000

1шт.

2

07042-00415

PLUG

SN: 1632-UP

1шт.

3

0

COLLAR

SN: 1632-UP

1шт.

4

0

VALVE

SN: 1632-UP

1шт.

5

701-41-31180

SPRING

SN: 1632-UP

1шт.

6

701-41-31150

SEAT

SN: 1632-UP

1шт.

7

07000-13028

O-RING

SN: 1632-UP

1шт.

8

701-51-31172

PLATE

SN: 1632-UP

1шт.

9

01010-31450

BOLT

SN: 1010-UP

2шт.

10

20D-14-11510

WASHER

SN: 9001-UP

2шт.

10

0

WASHER

SN: 1010-9000

2шт.

11

0

SPOOL

SN: 5001-UP

1шт.

11

0

SPOOL

SN: 1632-5000

1шт.

12

701-43-31181

SPACER

SN: 1632-UP

1шт.

13

701-43-31221

SPRING

SN: 1632-UP

1шт.

14

701-43-31191

SPACER

SN: 1632-UP

1шт.

15

701-43-31291

COLLAR

SN: 3301-UP

1шт.

15

701-43-31290

COLLAR

SN: 1632-3299

1шт.

16

01010-31290

BOLT

SN: 1632-UP

1шт.

17

01643-51232

WASHER

SN: 9001-UP

1шт.

17

0

WASHER

SN: 1010-9000

1шт.

18

701-43-31460

PLATE

SN: 4001-UP

1шт.

18

0

CASE

SN: 1632-4000

1шт.

|$$36

(701-43-31460,701-43-31470(2),

-1шт.

|$$37

01011-31215(2))

-1шт.

18A

701-43-31470

COLLAR

SN: 4001-UP

2шт.

19

01011-31215

BOLT

SN: 4001-UP

2шт.

19

01252-31235

BOLT

SN: 1010-4000

2шт.

20

01643-51232

WASHER

SN: 9001-UP

2шт.

20

0

WASHER

SN: 1010-9000

2шт.

21

701-51-31250

O-RING

SN: 1010-UP

2шт.

22

07000-02015

O-RING

SN: 1632-UP

11шт.

Выбрано товаров: 44