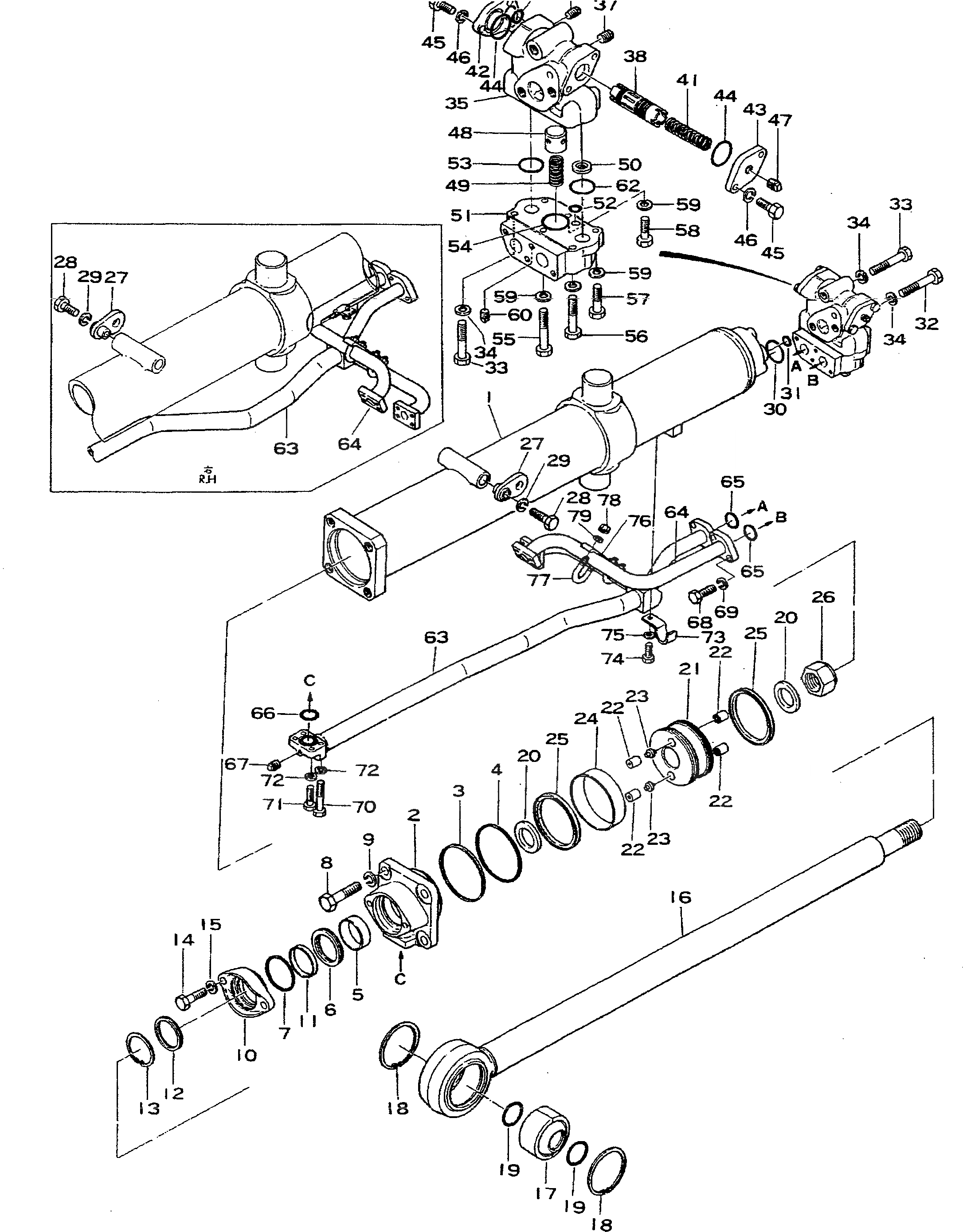
Запчасти Komatsu D355A-3 ЦИЛИНДР ПОДЪЕМА ОТВАЛА(№-9) УПРАВЛ-Е РАБОЧИМ ОБОРУДОВАНИЕМ

Схема запчастей Komatsu D355A-3 - ЦИЛИНДР ПОДЪЕМА ОТВАЛА(№-9) УПРАВЛ-Е РАБОЧИМ ОБОРУДОВАНИЕМ
FIT
1:1
100%

Артикул

Название

Примечание

Количество

|$0

195-63-12001

CYLINDER ASS'Y,L.H.

SN: 1010-1296

1шт.

|$1

195-63-12101

CYLINDER ASS'Y,R.H.

SN: 1010-1296

1шт.

1

195-63-12141

CYLINDER

SN: 1010-1296

1шт.

2

195-63-12130

HEAD

SN: 1010-@

1шт.

3

07146-05152

RING

SN: 1010-@

1шт.

4

07000-16150

O-RING

SN: 1010-@

1шт.

5

07177-08030

BUSHING

SN: 1010-@

1шт.

6

175-63-42270

U-PACKING

SN: 1010-1296

1шт.

7

07000-03100

O-RING

SN: 1010-@

1шт.

8

01010-32780

BOLT

SN: 1010-1296

4шт.

9

01602-02783

WASHER

SN: 1010-1296

4шт.

10

07178-08045

GLAND

SN: 1010-1296

1шт.

11

07177-08015

BUSHING

SN: 1010-@

1шт.

12

07016-00808

SEAL

SN: 1010-@

1шт.

13

07179-00103

RING

SN: 1010-@

1шт.

14

01010-31850

BOLT

SN: 1033-1296

2шт.

14

01040-31850

BOLT

SN: 1010-1032

2шт.

15

01602-01854

WASHER

SN: 1010-1296

2шт.

16

195-63-12120

ROD

SN: 1010-@

1шт.

17

07137-05509

BUSHING

SN: 1010-@

1шт.

18

04065-01240

RING

SN: 1010-@

2шт.

19

07000-03055

O-RING

SN: 1010-@

2шт.

20

07164-01608

WASHER

SN: 1010-1296

2шт.

21

195-63-12161

PISTON

SN: 1010-@

1шт.

21

0

PISTON

SN: (1010-@)

1шт.

22

07163-02429

SEAT

SN: 1010-1296

4шт.

23

07162-02178

VALVE

SN: 1010-1296

2шт.

24

07155-01640

RING

SN: 1010-@

1шт.

25

195-63-12250

RING

SN: 1010-@

2шт.

26

07165-15252

NUT

SN: 1010-@

1шт.

27

195-63-12170

PLATE

SN: 1010-@

1шт.

28

01010-31250

BOLT

SN: 1010-1296

1шт.

29

01602-01236

WASHER

SN: 1010-1296

1шт.

30

07000-12055

O-RING

SN: 1010-1296

1шт.

31

07000-13022

O-RING

SN: 1010-1296

1шт.

32

01011-31640

BOLT

SN: 1033-1296

1шт.

32

01041-31640

BOLT

SN: 1010-1032

1шт.

33

01011-31610

BOLT

SN: 1033-1296

2шт.

33

01041-31610

BOLT

SN: 1010-1032

2шт.

34

01602-01648

WASHER

SN: 1010-1296

3шт.

|$40

195-61-00010

VALVE ASS'Y

SN: 1010-1296

1шт.

|$41

195-61-00040

VALVE ASS'Y

SN: 1010-1296

1шт.

35

0

BODY

SN: 1010-1296

1шт.

36

07042-20312

PLUG

SN: 1010-1296

1шт.

37

07043-00312

PLUG

SN: 1010-1296

1шт.

38

0

VALVE

SN: 1010-1296

1шт.

39

01010-31485

BOLT

SN: 1033-1296

1шт.

39

01040-31485

BOLT

SN: 1010-1032

1шт.

40

01602-01442

WASHER

SN: 1010-1296

1шт.

41

175-61-11220

SPRING

SN: 1010-1296

1шт.

42

175-61-11250

FLANGE

SN: 1010-1296

1шт.

43

175-61-11260

FLANGE

SN: 1010-1296

1шт.

44

07000-13045

O-RING

SN: 1010-1296

2шт.

45

01010-31235

BOLT

SN: 1010-1296

5шт.

46

01602-01236

WASHER

SN: 1010-1296

5шт.

47

07042-10312

PLUG

SN: 1010-1296

1шт.

48

154-61-15260

VALVE

SN: 1010-1296

1шт.

49

175-61-11270

SPRING

SN: 1010-1296

1шт.

50

175-61-11340

ORIFICE

SN: 1010-1296

1шт.

51

175-61-11380

ELBOW

SN: 1010-1296

1шт.

52

07000-13025

O-RING

SN: 1010-1296

1шт.

53

07000-13042

O-RING

SN: 1010-1296

1шт.

54

07000-13045

O-RING

SN: 1010-1296

1шт.

55

01010-31480

BOLT

SN: 1033-1296

1шт.

55

01040-31480

BOLT

SN: 1010-1032

1шт.

56

01010-31485

BOLT

SN: 1033-1296

1шт.

56

01040-31485

BOLT

SN: 1010-1032

1шт.

57

01010-31460

BOLT

SN: 1033-1296

2шт.

57

01040-31460

BOLT

SN: 1010-1032

2шт.

58

01010-31445

BOLT

SN: 1033-1296

1шт.

58

01040-31445

BOLT

SN: 1010-1032

1шт.

59

01602-01442

WASHER

SN: 1010-1296

5шт.

60

07043-00312

PLUG

SN: 1010-1296

2шт.

61

07000-13025

O-RING

SN: 1010-1296

1шт.

62

07000-13042

O-RING

SN: 1010-1296

1шт.

63

195-63-12180

TUBE,L.H.

SN: 1010-1296

1шт.

63

195-63-12192

TUBE,R.H.

SN: .-1296

1шт.

63

195-63-12191

TUBE,R.H.

SN: 1010-.

1шт.

64

195-63-12280

TUBE,L.H.

SN: 1010-1296

1шт.

64

195-63-12290

TUBE,R.H.

SN: 1010-1296

1шт.

65

07000-13038

O-RING

SN: 1010-1296

2шт.

66

07000-13035

O-RING

SN: 1010-1296

1шт.

67

07042-00108

PLUG

SN: 1010-1296

1шт.

68

01010-31240

BOLT

SN: 1010-1296

4шт.

69

01602-01236

WASHER

SN: 1010-1296

4шт.

70

01010-31060

BOLT

SN: 1010-1296

2шт.

71

01010-31040

BOLT

SN: 1010-1296

2шт.

72

01602-01030

WASHER

SN: 1010-1296

4шт.

73

175-61-14390

PLATE

SN: 1010-1296

1шт.

74

01010-31020

BOLT

SN: 1010-1296

1шт.

75

01602-01030

WASHER

SN: 1010-1296

1шт.

76

195-61-13850

CLAMP

SN: 1010-1296

1шт.

77

07283-03442

CLIP

SN: 1010-1296

2шт.

78

01599-01011

NUT

SN: 1010-1296

4шт.

79

01643-01032

WASHER

SN: 1010-1296

4шт.

Выбрано товаров: 95