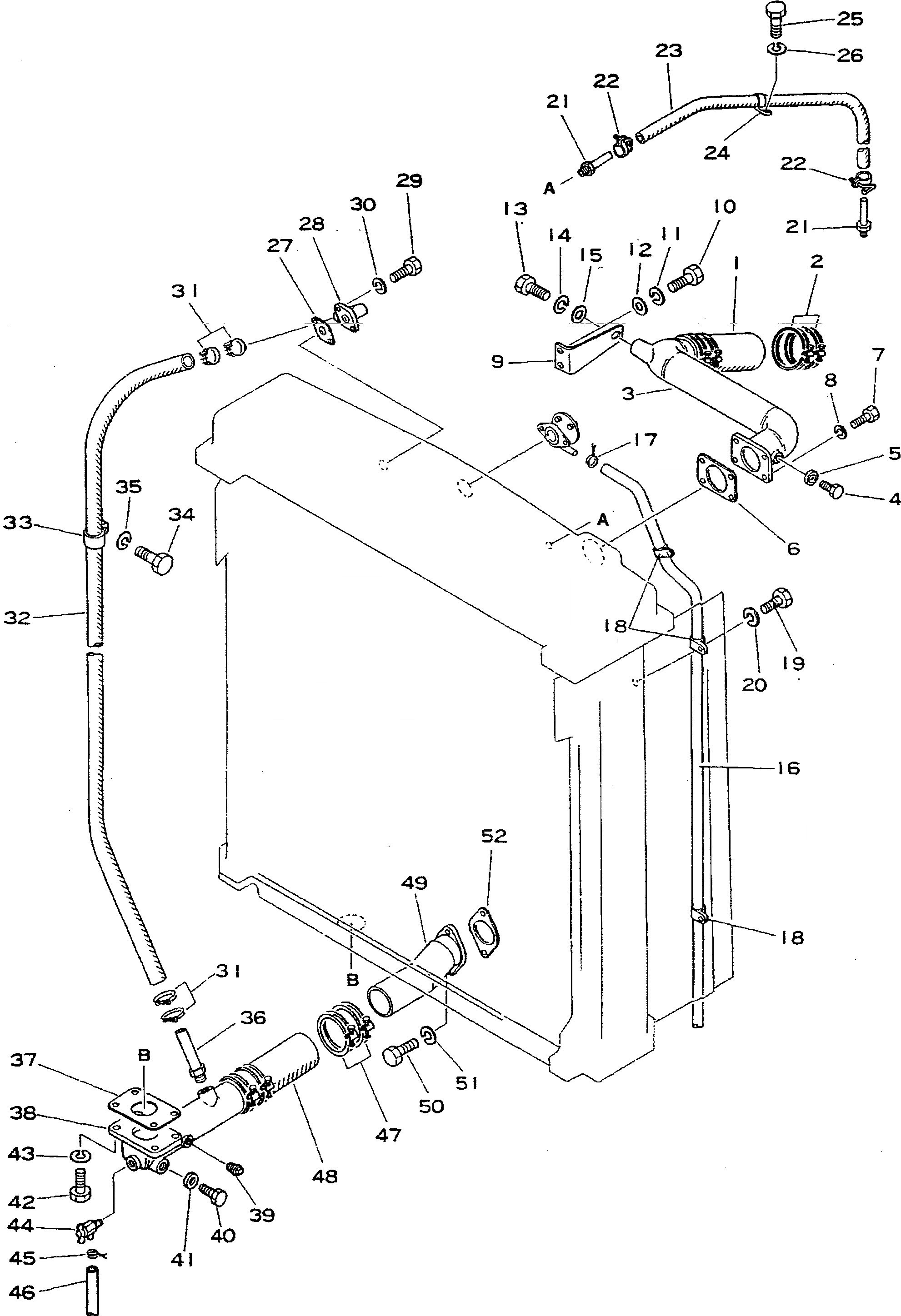
Запчасти Komatsu D355A-3 СИСТЕМА ТРУБ РАДИАТОРА(№-99) КОМПОНЕНТЫ ДВИГАТЕЛЯ И ЭЛЕКТРИКА

Схема запчастей Komatsu D355A-3 - СИСТЕМА ТРУБ РАДИАТОРА(№-99) КОМПОНЕНТЫ ДВИГАТЕЛЯ И ЭЛЕКТРИКА
FIT
1:1
100%

Артикул

Название

Примечание

Количество

1

195-03-13170

HOSE

SN: 1010-@

1шт.

2

07280-09832

CLAMP

SN: 1010-@

4шт.

|$2

195-03-00303

INLET TUBE ASS'Y

SN: 1632-3299

1шт.

3

0

TUBE

SN: 1632-3299

1шт.

4

07040-11612

PLUG

SN: 1067-@

1шт.

5

07005-01612

GASKET

SN: 1010-@

1шт.

6

195-03-11340

GASKET

SN: 1010-3299

1шт.

7

01010-31235

BOLT

SN: 1010-@

4шт.

8

01602-01236

WASHER

SN: 1010-@

4шт.

9

195-03-11392

BRACKET

SN: 1632-3299

1шт.

10

01010-31225

BOLT

SN: 1010-@

2шт.

11

01602-01236

WASHER

SN: 1010-@

2шт.

12

01643-01232

WASHER

SN: 1010-@

2шт.

13

01010-31635

BOLT

SN: 1067-@

1шт.

14

01602-01648

WASHER

SN: 1010-@

1шт.

15

01643-01645

WASHER

SN: 1010-@

1шт.

16

195-03-13130

TUBE

SN: 1010-3299

1шт.

17

04059-01010

WIRE

SN: 1010-@

1шт.

18

195-03-11690

CLIP

SN: 1010-3299

4шт.

19

01010-31230

BOLT

SN: 1632-3299

2шт.

20

01602-01236

WASHER

SN: 1632-@

2шт.

21

195-03-11530

NIPPLE

SN: 1010-@

2шт.

22

195-03-13250

CLAMP

SN: 1067-@

2шт.

23

195-03-11913

HOSE

SN: 1297-@

1шт.

24

195-03-11580

CLIP

SN: 1010-@

1шт.

25

01010-31020

BOLT

SN: 1010-@

1шт.

26

01602-01030

WASHER

SN: 1010-@

1шт.

27

195-03-11980

GASKET

SN: 1010-3299

1шт.

28

195-03-11992

TUBE

SN: 1632-3299

1шт.

29

01010-31030

BOLT

SN: 1010-3299

2шт.

30

01602-01030

WASHER

SN: 1010-3299

2шт.

31

07280-03826

CLAMP

SN: 1425-@

4шт.

32

195-03-13161

HOSE

SN: 1425-3299

1шт.

33

195-03-11511

CLIP

SN: 1425-@

2шт.

34

01010-31225

BOLT

SN: 1010-@

1шт.

35

01602-01236

WASHER

SN: 1010-@

1шт.

36

195-03-11521

NIPPLE

SN: 1067-3299

1шт.

37

195-03-11361

GASKET

SN: 1010-3299

1шт.

|$38

195-03-00403

OUTLET TUBE ASS'Y

SN: 1632-3299

1шт.

38

0

TUBE

SN: 1632-3299

1шт.

39

07042-00415

PLUG

SN: 1632-3299

1шт.

40

07040-11612

PLUG

SN: 1067-3299

1шт.

41

07005-01612

GASKET

SN: 1010-3299

1шт.

42

01010-31240

BOLT

SN: 1010-3299

4шт.

43

01602-01236

WASHER

SN: 1010-@

4шт.

44

195-03-13241

VALVE

SN: 1010-3299

1шт.

45

04059-01016

WIRE

SN: 1117-3299

1шт.

46

195-03-13180

HOSE

SN: 1010-3299

1шт.

47

07280-09832

CLAMP

SN: 1010-@

4шт.

48

195-03-13170

HOSE

SN: 1010-@

1шт.

49

195-03-11441

TUBE

SN: 1010-3299

1шт.

50

01010-31235

BOLT

SN: 1041-@

2шт.

51

01602-01236

WASHER

SN: 1010-@

2шт.

52

195-03-11620

GASKET

SN: 1010-@

1шт.

Выбрано товаров: 54