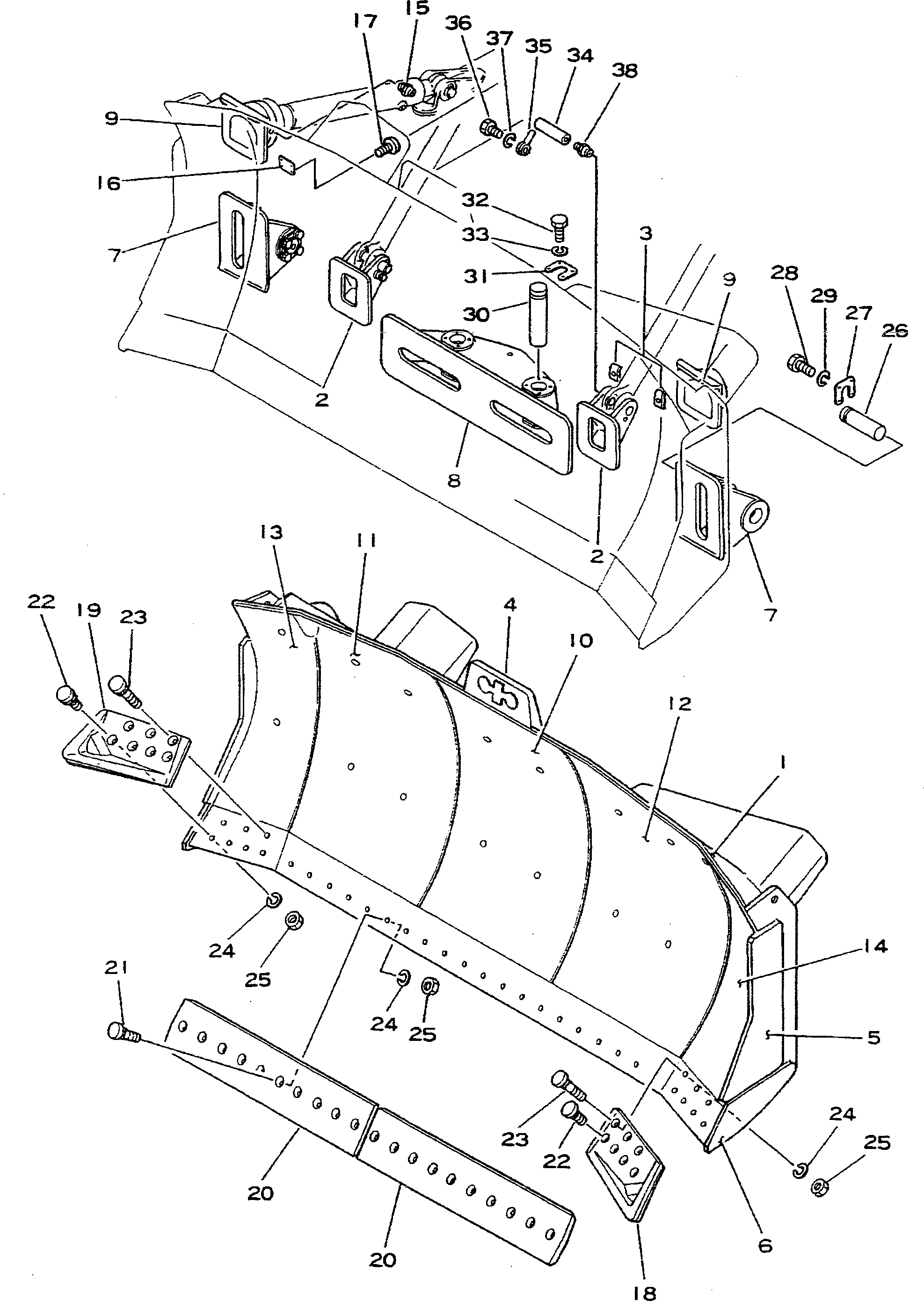
Запчасти Komatsu D355A-3 ПРЯМОЙ ОТВАЛ С ПЕРЕКОСОМ(№-) РАБОЧЕЕ ОБОРУДОВАНИЕ

Схема запчастей Komatsu D355A-3 - ПРЯМОЙ ОТВАЛ С ПЕРЕКОСОМ(№-) РАБОЧЕЕ ОБОРУДОВАНИЕ
FIT
1:1
100%

Артикул

Название

Примечание

Количество

|$0

195-71-00013

BLADE ASS'Y

SN: 1031-1121

1шт.

|$1

195-71-00100

BLADE ASS'Y,(REINFORCED TYPE)

SN: 1031-1121

1шт.

1

0

BLADE

SN: 1031-1121

1шт.

1

0

BLADE,(REINFORCED TYPE)

SN: 1031-1121

1шт.

2

195-71-11141

BRACKET (WELDED)

SN: 1010-1121

2шт.

3

154-81-18531

CLAMP (WELDED)

SN: 1010-@

2шт.

4

154-70-11410

PLATE, NAME (WELDED)

SN: 1010-@

1шт.

5

195-71-11630

PLATE (WELDED)

SN: 1010-1121

2шт.

6

195-71-11640

PLATE (WELDED)

SN: 1010-1121

2шт.

7

195-71-21130

BRACKET,L.H. (WELDED)

SN: 1031-1121

1шт.

7

195-71-21140

BRACKET,R.H. (WELDED)

SN: 1031-1121

1шт.

8

195-71-21150

BRACKET

SN: 1031-1121

1шт.

9

195-71-11252

PIVOT

SN: 1010-1121

2шт.

10

195-888-1120

PLATE,(REINFORCED TYPE) (WELDED)

SN: 1031-@

1шт.

11

195-888-1130

PLATE,(REINFORCED TYPE) (WELDED)

SN: 1031-@

1шт.

12

195-888-1140

PLATE,(REINFORCED TYPE) (WELDED)

SN: 1031-@

1шт.

13

195-888-1150

PLATE,(REINFORCED TYPE) (WELDED)

SN: 1031-@

1шт.

14

195-888-1160

PLATE,(REINFORCED TYPE) (WELDED)

SN: 1031-@

1шт.

15

07020-00000

FITTING

SN: 1010-@

2шт.

16

09601-00835

PLATE, NAME

SN: 1010-@

1шт.

17

04418-03060

SCREW

SN: 1010-@

4шт.

18

195-71-11170

BIT

SN: 1010-1121

1шт.

19

195-71-11180

BIT

SN: 1010-1121

1шт.

20

180-71-11152

EDGE

SN: 1010-1121

2шт.

21

195-71-11450

BOLT

SN: 1010-1121

20шт.

22

195-71-11460

BOLT

SN: 1010-1121

8шт.

23

195-71-11470

BOLT

SN: 1010-1121

6шт.

24

01602-02578

WASHER

SN: 1010-1121

34шт.

25

02290-11625

NUT

SN: 1010-@

34шт.

26

195-71-21220

PIN

SN: 1031-@

2шт.

27

195-71-21230

PLATE

SN: 1031-@

2шт.

28

01010-31645

BOLT

SN: 1031-@

8шт.

29

01602-01648

WASHER

SN: 1031-@

8шт.

30

195-71-21240

PIN

SN: 1031-1121

2шт.

31

195-71-21230

PLATE

SN: 1031-1121

2шт.

32

01010-31645

BOLT

SN: 1031-1121

8шт.

33

01602-01648

WASHER

SN: 1031-1121

8шт.

34

175-893-1440

SHAFT

SN: 1010-@

2шт.

35

195-71-11520

PIN

SN: 1010-@

2шт.

36

01010-31440

BOLT

SN: 1031-@

2шт.

37

01602-01442

WASHER

SN: 1010-@

2шт.

38

07020-00000

FITTING

SN: 1010-@

2шт.

Выбрано товаров: 42