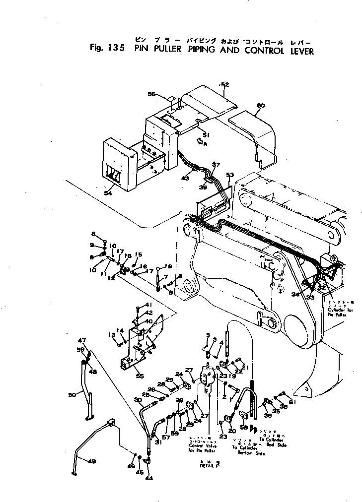
Запчасти Komatsu D355A-3 СИСТЕМА ТРУБ СТОПОРН. ПАЛЬЦА И РЫЧАГ УПРАВЛ-Я (ФИКС. 1-СТОЕЧН.) РАБОЧЕЕ ОБОРУДОВАНИЕ

Схема запчастей Komatsu D355A-3 - СИСТЕМА ТРУБ СТОПОРН. ПАЛЬЦА И РЫЧАГ УПРАВЛ-Я (ФИКС. 1-СТОЕЧН.) РАБОЧЕЕ ОБОРУДОВАНИЕ
FIT
1:1
100%

Артикул

Название

Примечание

Количество

1

01010-31095

BOLT

SN: 1010-UP

3шт.

2

01602-01030

WASHER

SN: 1010-UP

3шт.

3

04213-00830

YOKE

SN: 1010-UP

1шт.

4

04205-00822

PIN

SN: 1010-UP

2шт.

5

04050-02010

PIN

SN: 1010-UP

2шт.

6

175-79-31230

LEVER

SN: 1010-UP

1шт.

7

175-79-31270

LEVER

SN: 1010-UP

1шт.

8

01010-30825

BOLT

SN: 1010-UP

2шт.

9

01602-00825

WASHER

SN: 1010-UP

2шт.

10

04010-00516

KEY

SN: 1010-UP

2шт.

11

195-79-12130

SHAFT

SN: 1010-UP

1шт.

12

175-79-31280

BRACKET

SN: 1010-UP

1шт.

13

01010-31025

BOLT

SN: 1010-UP

3шт.

14

01602-01030

WASHER

SN: 1010-UP

3шт.

15

07020-00000

FITTING

SN: 1010-UP

1шт.

16

06120-01612

BEARING

SN: 1010-UP

2шт.

17

06122-01613

SEAL

SN: 1010-UP

2шт.

18

09304-01250

KNOB

SN: 1010-UP

1шт.

19

175-79-31290

TUBE

SN: 1010-UP

1шт.

19

175-79-31240

FLANGE (WELDED)

SN: 1010-UP

1шт.

19

07241-10210

ELBOW

SN: .-UP

1шт.

19

07292-00210

ELBOW (WELDED)

SN: 1010-.

1шт.

20

175-79-31310

TUBE

SN: 1010-UP

1шт.

20

175-79-31240

FLANGE (WELDED)

SN: 1010-UP

1шт.

20

07241-10210

ELBOW (WELDED)

SN: .-UP

1шт.

20

07292-00210

ELBOW (WELDED)

SN: 1010-.

1шт.

21

01010-60830

BOLT

SN: 1010-UP

8шт.

22

01602-00825

WASHER

SN: 1010-UP

8шт.

23

07000-03025

O-RING

SN: 1010-UP

2шт.

24

195-79-12140

FLANGE

SN: 1010-UP

2шт.

25

07230-10210

UNION

SN: 1010-UP

2шт.

26

07000-02012

O-RING

SN: 1010-UP

2шт.

27

07000-03025

O-RING

SN: 1010-UP

2шт.

28

01010-30830

BOLT

SN: 1010-UP

8шт.

29

01602-00825

WASHER

SN: 1010-UP

8шт.

30

07113-00209

HOSE

SN: .-UP

1шт.

30

195-79-12150

HOSE

SN: 1010-.

1шт.

31

07113-00204

HOSE

SN: .-UP

1шт.

31

195-79-12160

HOSE

SN: 1010-.

1шт.

32

07113-00257

HOSE

SN: 1010-UP

2шт.

33

175-79-31350

ELBOW

SN: 1010-UP

2шт.

34

07000-03017

O-RING

SN: 1010-UP

2шт.

35

175-79-31250

CLIP

SN: 1010-UP

7шт.

36

175-79-31440

COLLAR

SN: 1010-UP

7шт.

37

01010-31030

BOLT

SN: 1010-UP

7шт.

38

01602-01030

WASHER

SN: 1010-UP

7шт.

39

195-79-12170

PLATE

SN: 1010-UP

1шт.

40

195-79-12180

CLIP

SN: 1010-UP

2шт.

41

01010-31020

BOLT

SN: 1010-UP

2шт.

42

01602-01030

WASHER

SN: 1010-UP

2шт.

43

195-79-12190

PLATE

SN: 1010-UP

1шт.

44

07231-10210

ELBOW

SN: 1010-UP

1шт.

45

07239-11408

NUT

SN: 1010-UP

1шт.

46

07000-02012

O-RING

SN: 1010-UP

1шт.

47

07232-10210

ELBOW

SN: .-UP

1шт.

47

07230-10210

UNION

SN: 1010-.

1шт.

48

07000-02012

O-RING

SN: 1010-UP

1шт.

49

195-49-11950

TUBE

SN: 1010-1116

1шт.

49

195-49-11770

FLANGE (WELDED)

SN: 1010-1116

1шт.

49

195-49-11960

ELBOW (WELDED)

SN: 1010-1116

1шт.

50

195-49-11970

FILLER

SN: 1010-1116

1шт.

50

195-15-17120

FLANGE (WELDED)

SN: 1010-1116

1шт.

50

09250-00001

CAP (WELDED)

SN: 1010-1116

1шт.

51

195-54-18211

COVER

SN: .-UP

1шт.

51

195-54-18210

COVER

SN: 1010-.

1шт.

51

120-54-12190

BRACKET (WELDED)

SN: 1010-UP

1шт.

51

195-54-15150

BAR

SN: 1010-UP

1шт.

52

195-54-18220

COVER

SN: 1010-1116

1шт.

53

195-54-18230

COVER

SN: 1010-UP

1шт.

54

195-57-11310

FRAME

SN: 1010-1116

1шт.

55

195-61-13950

BRACKET

SN: 1010-1116

1шт.

56

175-79-31470

PLATE

SN: 1010-UP

1шт.

57

07234-10210

ELBOW

SN: 1010-UP

1шт.

58

195-79-12210

SEAT

SN: 1010-UP

1шт.

59

07239-11408

NUT

SN: 1010-UP

2шт.

60

195-54-15113

COVER

SN: 1010-1116

1шт.

61

01010-31065

BOLT

SN: 1010-UP

1шт.

Выбрано товаров: 77