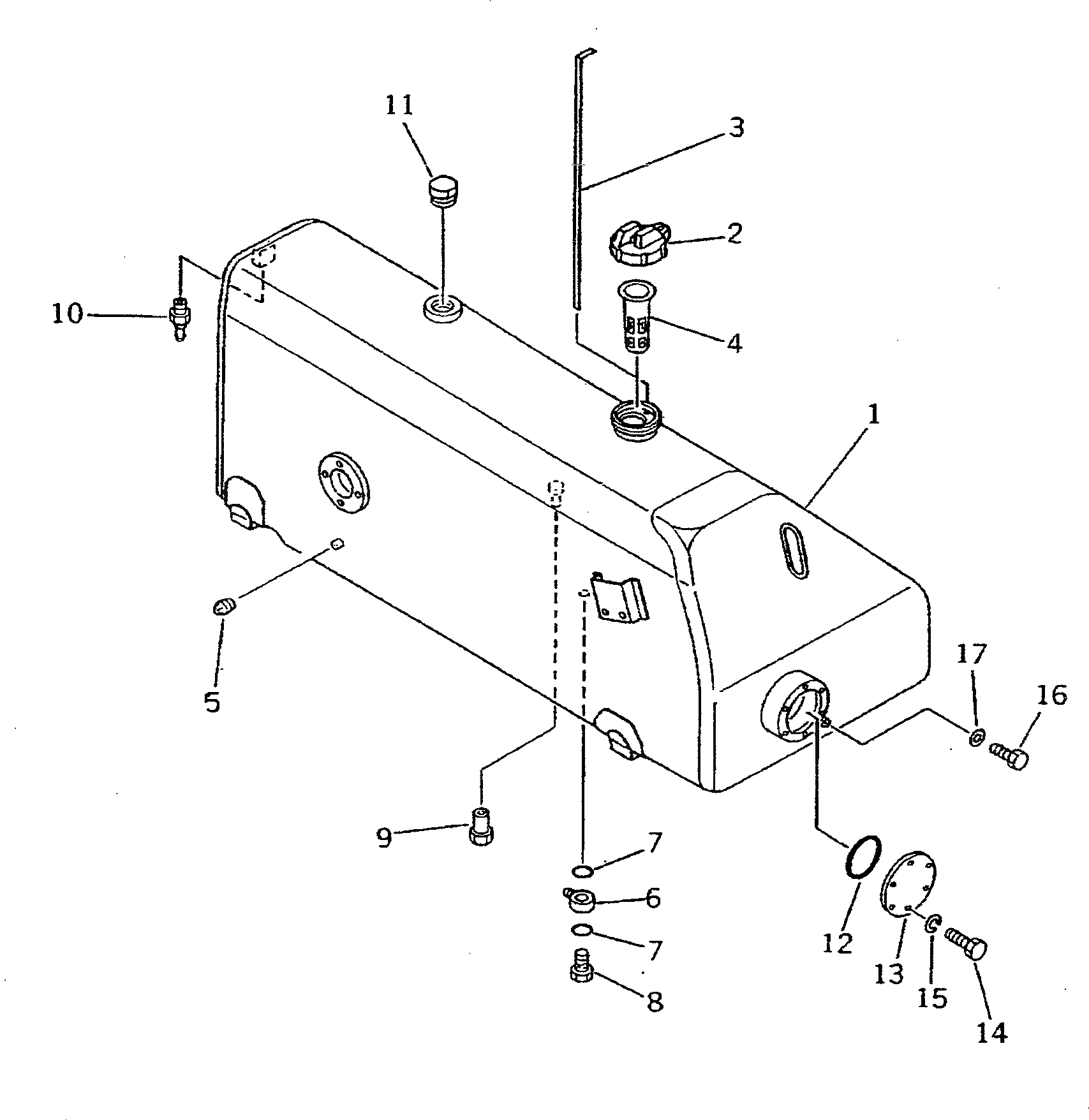
Запчасти Komatsu D355A-3 БЫСТР. ЗАПРАВ. ТОПЛИВН. БАК.(№-) ОПЦИОННЫЕ КОМПОНЕНТЫ

Схема запчастей Komatsu D355A-3 - БЫСТР. ЗАПРАВ. ТОПЛИВН. БАК.(№-) ОПЦИОННЫЕ КОМПОНЕНТЫ
FIT
1:1
100%

Артикул

Название

Примечание

Количество

|$0

195-04-00090

FUEL TANK ASS'Y

SN: 4001-UP

1шт.

1

0

TANK

SN: 4001-UP

1шт.

2

19M-04-11220

CAP

SN: 4001-UP

1шт.

3

195-04-12170

GAUGE

SN: 4001-UP

1шт.

4

07056-18416

STRAINER

SN: 4001-UP

1шт.

5

07042-00211

PLUG

SN: 4001-UP

1шт.

6

195-04-11230

JOINT

SN: 4001-UP

2шт.

7

07000-03035

O-RING

SN: 4001-UP

4шт.

8

195-04-11280

BOLT

SN: 4001-UP

2шт.

9

154-04-12470

PLUG

SN: 4001-UP

1шт.

10

195-04-12290

NIPPLE

SN: 4001-UP

1шт.

11

195-04-14130

PLUG

SN: 4001-UP

1шт.

12

07000-02115

O-RING

SN: 4001-UP

1шт.

13

195-04-14120

PLATE

SN: 4001-UP

1шт.

14

01010-80820

BOLT

SN: 4001-UP

6шт.

15

01602-00825

WASHER

SN: 4001-UP

6шт.

16

01010-81016

BOLT

SN: 4001-UP

1шт.

17

01643-31032

WASHER

SN: 4001-UP

1шт.

Выбрано товаров: 18