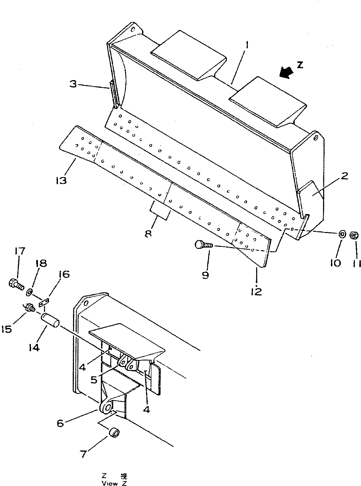
Запчасти Komatsu D355A-3 ДЕМПФЕРНЫЙ ОТВАЛ(№-) ОПЦИОННЫЕ КОМПОНЕНТЫ

Схема запчастей Komatsu D355A-3 - ДЕМПФЕРНЫЙ ОТВАЛ(№-) ОПЦИОННЫЕ КОМПОНЕНТЫ
FIT
1:1
100%

Артикул

Название

Примечание

Количество

|$0

195-928-0022

BLADE ASS'Y

SN: 3301-UP

1шт.

1

0

BLADE

SN: 3301-UP

1шт.

2

195-928-1480

PLATE (WELDED)

SN: 3301-UP

1шт.

3

195-928-1470

PLATE (WELDED)

SN: 3301-UP

1шт.

4

195-928-1131

PLATE (WELDED)

SN: 3301-UP

4шт.

5

195-928-1140

BRACKET (WELDED)

SN: 3301-UP

2шт.

6

195-928-1153

BRACKET (WELDED)

SN: 3301-UP

2шт.

7

195-928-1350

BUSHING

SN: 3301-UP

2шт.

8

195-71-11654

EDGE

SN: 3301-UP

2шт.

9

195-71-11452

BOLT

SN: 4152-UP

28шт.

9

195-71-11451

BOLT

SN: 1010-4151

28шт.

10

02290-11625

NUT

SN: 3301-UP

28шт.

11

01643-02460

WASHER

SN: 3301-UP

28шт.

12

195-70-12610

BIT, END,END

SN: 3301-UP

1шт.

13

195-70-12620

BIT, END,END

SN: 3301-UP

1шт.

14

09241-65195

PIN

SN: 3301-UP

2шт.

15

07020-00000

FITTING

SN: 3301-UP

2шт.

16

04082-00514

LOCK

SN: 3301-UP

2шт.

17

01010-81435

BOLT

SN: 3301-UP

4шт.

18

01643-31445

WASHER

SN: 3301-UP

4шт.

Выбрано товаров: 20