Запчасти Komatsu D355A-3 АККУМУЛЯТОР И РЕЛЕ(№97-99) КОМПОНЕНТЫ ДВИГАТЕЛЯ И ЭЛЕКТРИКА

Схема запчастей Komatsu D355A-3 - АККУМУЛЯТОР И РЕЛЕ(№97-99) КОМПОНЕНТЫ ДВИГАТЕЛЯ И ЭЛЕКТРИКА
FIT
1:1
100%

Артикул

Название

Примечание

Количество

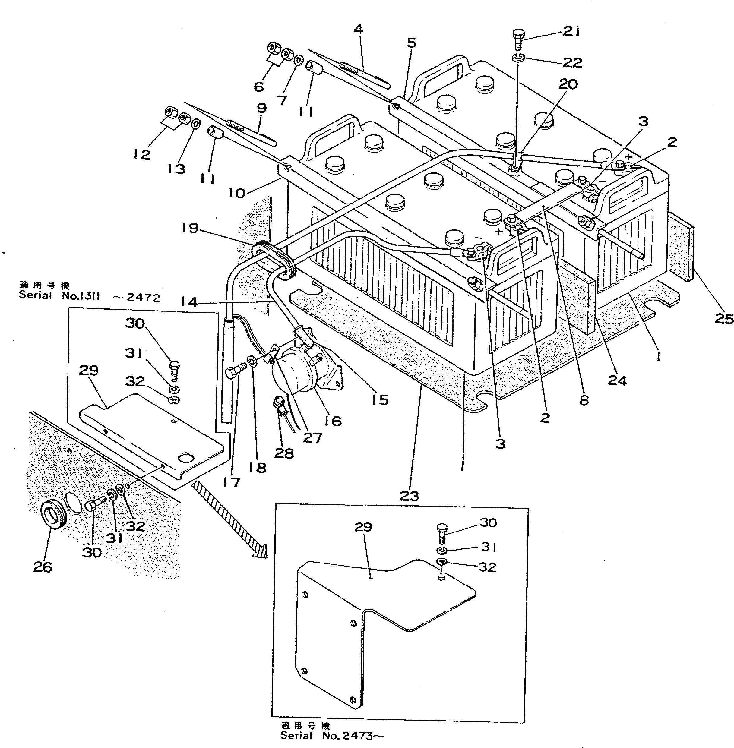
1

195-06-13830

BATTERY, 12V 200AH

SN: 1297-3299

2шт.

2

08000-00000

TERMINAL, (+)

SN: 1010-@

2шт.

3

08000-00001

TERMINAL, (-)

SN: 1010-@

2шт.

4

154-06-33180

BAR

SN: 1117-3299

2шт.

5

195-06-19460

PLATE

SN: 1297-3299

1шт.

6

01580-01008

NUT

SN: 1117-@

4шт.

7

01640-01016

WASHER

SN: 1117-@

2шт.

8

195-06-18581

WIRE ASS'Y

SN: 1297-3299

1шт.

9

154-06-33180

BAR

SN: 1317-3299

2шт.

9

0

BAR

SN: 1297-1316

2шт.

10

154-06-13232

PLATE

SN: 1117-3299

1шт.

11

175-06-31121

SPACER

SN: 1297-1316

2шт.

12

01580-01008

NUT

SN: 1117-@

4шт.

13

01640-01016

WASHER

SN: 1117-@

2шт.

14

195-06-21530

CABLE

SN: 2473-3299

1шт.

14

175-06-37450

CABLE

SN: 1632-2472

1шт.

14

0

CABLE

SN: 1297-1631

1шт.

15

08038-06031

CAP

SN: 1632-@

1шт.

15

0

CAP

SN: 1117-1631

1шт.

16

08088-10000

SWITCH,BATTERY RELAY

SN: 1974-@

1шт.

16

08088-00000

SWITCH,BATTERY RELAY

SN: 1010-1973

1шт.

17

01010-30820

BOLT

SN: 1067-3299

2шт.

18

01602-00825

WASHER

SN: 1010-@

2шт.

19

170-43-11370

GROMMET

SN: 1117-3299

1шт.

20

08036-01814

CLIP

SN: 1632-@

1шт.

20

0

CLIP

SN: 1297-1631

1шт.

21

01010-31016

BOLT

SN: 1297-@

1шт.

22

01602-01030

WASHER

SN: 1297-@

1шт.

23

195-06-15920

SEAT

SN: 1297-3299

1шт.

24

154-06-13262

SEAT

SN: 1117-@

1шт.

25

154-06-13271

SEAT

SN: 1117-3299

1шт.

26

195-06-15930

GROMMET

SN: 1297-3299

1шт.

27

08036-10610

CLIP

SN: 1297-1631

1шт.

28

22-403807-01

CAP

SN: 1297-3299

1шт.

29

195-06-21540

COVER

SN: 2473-3299

1шт.

29

195-06-19720

COVER

SN: 1311-2472

1шт.

30

01010-30816

BOLT

SN: 2473-3299

5шт.

30

01010-30816

BOLT

SN: 1311-2472

3шт.

31

01602-00825

WASHER

SN: 2473-3299

5шт.

31

01602-00825

WASHER

SN: 1311-2472

3шт.

32

01641-00812

WASHER

SN: 2473-3299

5шт.

32

01641-00812

WASHER

SN: 1311-2472

3шт.

Выбрано товаров: 42