Запчасти Komatsu D355A-3 АККУМУЛЯТОР И РЕЛЕ(№9-) КОМПОНЕНТЫ ДВИГАТЕЛЯ И ЭЛЕКТРИКА

Схема запчастей Komatsu D355A-3 - АККУМУЛЯТОР И РЕЛЕ(№9-) КОМПОНЕНТЫ ДВИГАТЕЛЯ И ЭЛЕКТРИКА
FIT
1:1
100%

Артикул

Название

Примечание

Количество

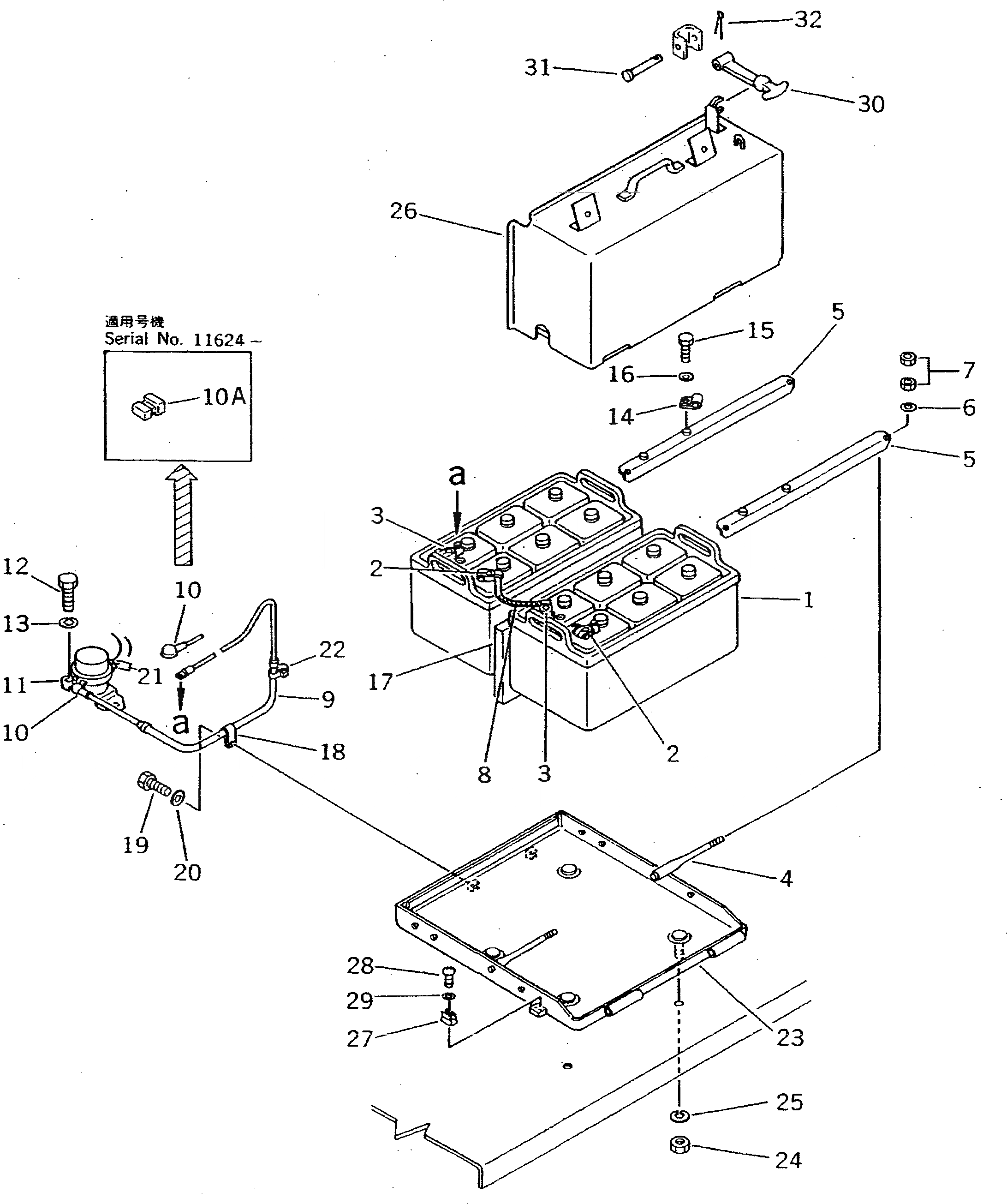
1

08000-32220

BATTERY, WET(165G51),NS200

SN: 4001-UP

2шт.

1

08000-12221

BATTERY, DRY(C200),(C200 OR F300-20)

SN: 4001-UP

2шт.

1

08000-42220

BATTERY, DRY(165G51),NS200 (EXCEPT JAPAN)

SN: 4001-UP

2шт.

2

08000-00000

TERMINAL, (+)

SN: 3561-UP

2шт.

3

08000-00001

TERMINAL, (-)

SN: 3565-UP

2шт.

4

175-06-39621

ROD

SN: 3301-UP

4шт.

5

195-06-19461

HOLDER

SN: 3301-UP

2шт.

6

01640-21016

WASHER

SN: 1117-UP

4шт.

7

01580-01008

NUT

SN: 1117-UP

8шт.

8

08028-15011

WIRE, 110MM

SN: 11703-UP

1шт.

8

0

WIRE ASS'Y

SN: 3565-11702

1шт.

9

195-06-21533

WIRE

SN: 9001-UP

1шт.

10

08038-00035

CAP

SN: 11624-UP

1шт.

10

08038-00035

CAP

SN: 4001-11623

3шт.

10A

08038-22511

CAP

SN: 11624-UP

4шт.

11

08088-20000

SWITCH,BATTERY RELAY

SN: 1904-UP

1шт.

12

01010-80820

BOLT

SN: 3301-UP

2шт.

13

01602-20825

WASHER

SN: 1010-UP

2шт.

14

08036-01814

CLIP

SN: 1297-UP

1шт.

15

01010-81016

BOLT

SN: 1297-UP

1шт.

16

01643-31032

WASHER

SN: 9001-UP

1шт.

17

154-06-13262

SEAT

SN: 1117-UP

1шт.

18

08035-03010

CLIP

SN: 3301-UP

1шт.

19

01010-81016

BOLT

SN: 3301-UP

1шт.

20

01643-31032

WASHER

SN: 9001-UP

1шт.

21

140-06-18260

CAP

SN: 3301-UP

2шт.

22

08034-00519

BAND

SN: 3301-UP

1шт.

23

175-54-33295

CASE

SN: 13718-UP

1шт.

23

175-54-33294

CASE

SN: 9001-13717

1шт.

23A

08007-03549

CUSHION (BONDED)

SN: 13718-UP

3шт.

24

01580-11210

NUT

SN: 3301-UP

4шт.

25

01602-21236

WASHER

SN: 3301-UP

4шт.

26

175-54-33325

COVER

SN: 13718-UP

1шт.

26

175-54-33324

COVER

SN: 9001-13717

1шт.

27

20R-54-11460

SPRING

SN: 9001-UP

2шт.

28

01220-40408

SCREW

SN: 9001-UP

4шт.

29

01641-20405

WASHER

SN: 9001-UP

4шт.

30

09450-00000

CATCH

SN: 9001-UP

1шт.

31

09450-00002

PIN

SN: 9001-UP

1шт.

32

04050-01610

PIN

SN: 9001-UP

1шт.

Выбрано товаров: 40