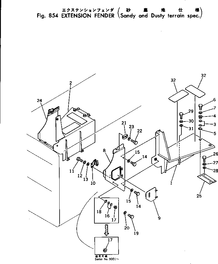
Запчасти Komatsu D355A-3 ДОПОЛНИТЕЛЬНОЕ КРЫЛО (ДЛЯ ЗАПЫЛЕНН. РАЙОНОВ)(№-) ОПЦИОННЫЕ КОМПОНЕНТЫ

Схема запчастей Komatsu D355A-3 - ДОПОЛНИТЕЛЬНОЕ КРЫЛО (ДЛЯ ЗАПЫЛЕНН. РАЙОНОВ)(№-) ОПЦИОННЫЕ КОМПОНЕНТЫ
FIT
1:1
100%

Артикул

Название

Примечание

Количество

1

195-54-24450

COVER

SN: 3301-UP

1шт.

2

195-54-24460

COVER

SN: 3301-UP

1шт.

3

175-54-27350

SPRING

SN: 3301-UP

8шт.

4

175-54-27360

COLLAR

SN: 3301-UP

4шт.

5

175-54-28770

RING

SN: 3301-UP

4шт.

6

01010-81235

BOLT

SN: 3301-UP

4шт.

7

01602-01236

WASHER

SN: 3301-UP

4шт.

8

195-54-24470

COVER

SN: 3301-UP

1шт.

9

175-54-25270

COVER

SN: 3301-UP

1шт.

10

175-54-25281

CATCH

SN: 3301-UP

1шт.

11

01010-81025

BOLT

SN: 3301-UP

2шт.

12

01602-01030

WASHER

SN: 3301-UP

2шт.

13

01643-31032

WASHER

SN: 3301-UP

2шт.

14

01010-81220

BOLT

SN: 3301-UP

4шт.

15

124-54-26540

WASHER

SN: 3301-UP

4шт.

16

175-54-27350

SPRING

SN: 3301-9000

4шт.

17

154-55-19341

COLLAR

SN: 9001-UP

2шт.

17

175-54-27360

COLLAR

SN: 3301-9000

2шт.

18

175-54-28770

RING

SN: 3301-9000

2шт.

19

01010-81235

BOLT

SN: 3301-UP

2шт.

20

01602-01236

WASHER

SN: 3301-UP

2шт.

21

09462-00080

STOPPER

SN: 3301-UP

2шт.

22

01010-81250

BOLT

SN: 3301-UP

2шт.

23

01602-01236

WASHER

SN: 3301-UP

2шт.

24

195-54-24480

COVER

SN: 3301-UP

1шт.

25

195-54-24490

PLATE

SN: 3301-UP

2шт.

26

01010-81235

BOLT

SN: 3301-UP

4шт.

27

01602-01236

WASHER

SN: 3301-UP

4шт.

28

01643-31232

WASHER

SN: 3301-UP

4шт.

29

01010-81640

BOLT

SN: 3301-UP

4шт.

30

01602-01648

WASHER

SN: 3301-UP

4шт.

31

01643-31645

WASHER

SN: 3301-UP

4шт.

32

175-54-22861

SEAT

SN: 3301-UP

4шт.

Выбрано товаров: 33