Запчасти Komatsu D355A-3 ПАНЕЛЬ ПРИБОРОВ(№-9) КОМПОНЕНТЫ ДВИГАТЕЛЯ И ЭЛЕКТРИКА

Схема запчастей Komatsu D355A-3 - ПАНЕЛЬ ПРИБОРОВ(№-9) КОМПОНЕНТЫ ДВИГАТЕЛЯ И ЭЛЕКТРИКА
FIT
1:1
100%

Артикул

Название

Примечание

Количество

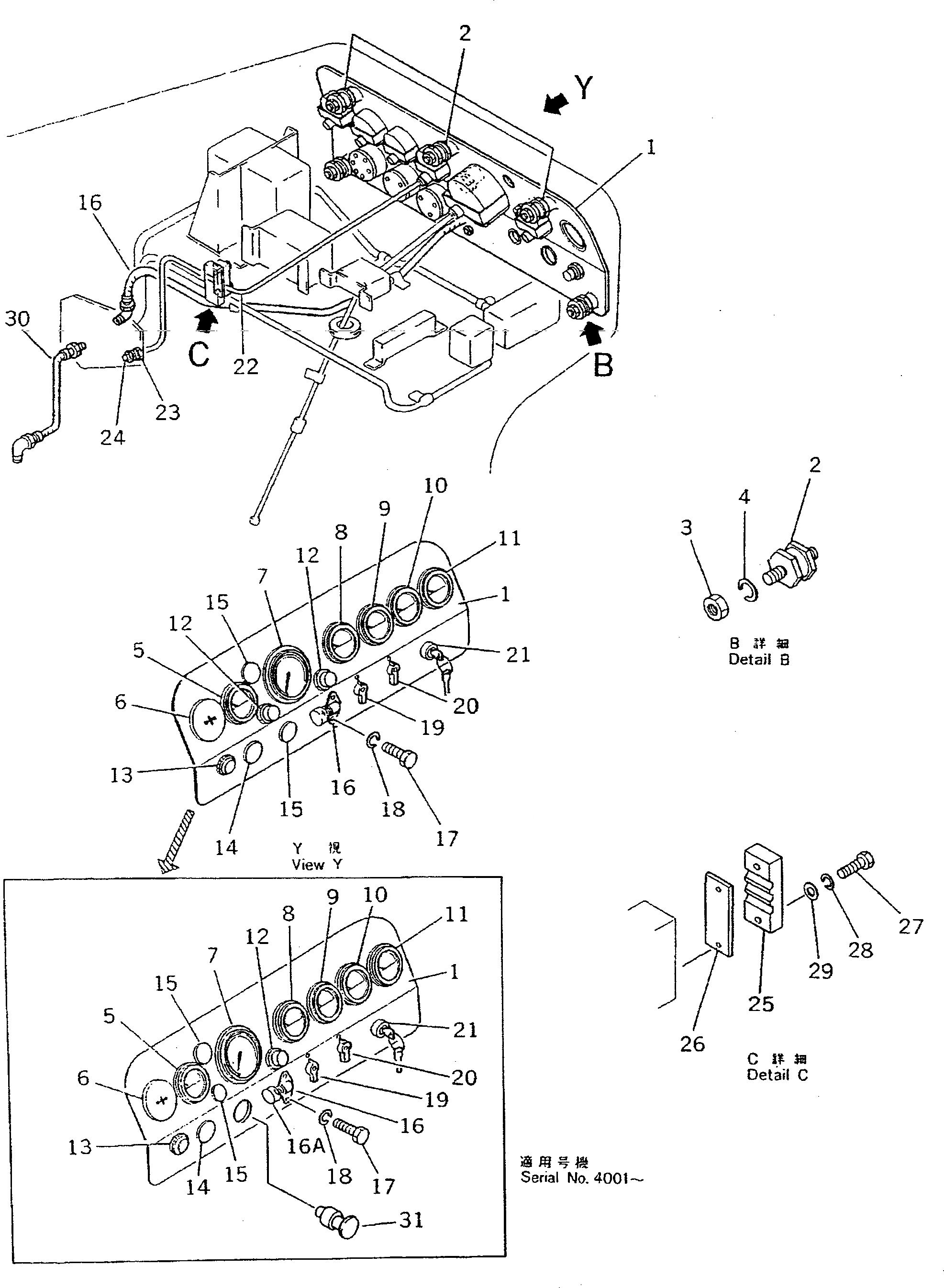
1

175-06-35590

PANEL,INSTRUMENT

SN: 3301-9000

1шт.

2

154-06-13910

ISOLATOR

SN: 1632-9000

5шт.

3

01582-01008

NUT

SN: 1632-9000

5шт.

4

01643-31032

WASHER

SN: 1632-@

5шт.

5

195-06-23170

GAUGE,FUEL

SN: 4001-@

1шт.

5

195-06-22450

GAUGE,FUEL

SN: 3301-4000

1шт.

5

08111-12430

BULB, 3W

SN: 4001-@

1шт.

6

195-06-21610

CAP

SN: 1974-@

1шт.

7

175-06-35182

TACHOMETER

SN: 1632-9000

1шт.

7

08111-12430

BULB, 3W

SN: 1632-9000

1шт.

8

195-06-23130

GAUGE,OIL PRESSURE

SN: 4001-9000

1шт.

8

08643-01000

GAUGE,OIL PRESSURE

SN: 1632-4000

1шт.

8

08111-12430

BULB, 3W

SN: 4001-9000

1шт.

9

195-06-23110

GAUGE,WATER TEMPERATURE

SN: 4001-@

1шт.

9

154-06-36511

GAUGE,WATER TEMPERATURE

SN: 3617-4000

1шт.

9

0

GAUGE,WATER TEMPERATURE

SN: 3301-3616

1шт.

|$$17

(154-06-36511,198-06-11941)

-1шт.

9

08111-12430

BULB, 3W

SN: 4001-@

1шт.

10

195-06-23120

GAUGE,OIL TEMPERATURE

SN: 4001-@

1шт.

10

154-06-36521

GAUGE,OIL TEMPERATURE

SN: 3617-4000

1шт.

10

0

GAUGE,OIL TEMPERATURE

SN: 3301-3616

1шт.

|$$22

(154-06-36521,198-06-11941)

-1шт.

10

08111-12430

BULB, 3W

SN: 4001-@

1шт.

11

195-06-23140

AMMETER

SN: 4001-@

1шт.

11

08641-05000

AMMETER

SN: 1632-4000

1шт.

11

195-06-23160

AMMETER,(FOR 50A ALTERNATOR)

SN: 4001-@

1шт.

11

198-06-19130

AMMETER,(FOR 50A ALTERNATOR)

SN: 3301-4000

1шт.

11

08111-12430

BULB, 3W

SN: 4001-@

1шт.

12

08147-21202

LAMP

SN: 6421-@

1шт.

12

08111-01230

BULB, 4W

SN: 6421-@

1шт.

12

600-815-2210

SIGNAL,HEATER

SN: 4001-6420

1шт.

12

600-815-2210

SIGNAL,HEATER

SN: 1632-4000

2шт.

13

08147-22400

LAMP,CAUTION

SN: 3301-@

1шт.

14

195-06-22430

CAP

SN: 3301-9000

1шт.

15

09415-01610

CAP

SN: 4001-9000

3шт.

15

09415-01610

CAP

SN: 3301-4000

2шт.

16

08671-00090

HOSE

SN: 3301-9000

1шт.

16

08671-40020

HOSE (OP)

SN: 3301-9000

1шт.

16A

08670-50635

INDICATOR

SN: 4001-9000

1шт.

16A

08670-00001

INDICATOR

SN: 3301-4000

1шт.

17

01010-30616

BOLT

SN: 3301-9000

2шт.

18

01602-00619

WASHER

SN: 1010-9000

2шт.

19

08063-02000

SWITCH,LAMP

SN: 3301-9000

1шт.

20

08063-01000

SWITCH,PREHEATER

SN: 3301-9000

1шт.

21

08086-10000

SWITCH,STARTING

SN: 3637-@

1шт.

21

0

SWITCH,STARTING

SN: 1297-3636

1шт.

22

175-06-35165

TUBE

SN: 3301-9000

1шт.

23

07201-50512

NUT

SN: 3301-9000

1шт.

24

07213-50510

CONNECTOR

SN: 3301-9000

1шт.

25

196-06-13330

CLAMP

SN: 1974-9000

1шт.

26

195-06-13320

CUSHION

SN: 1974-9000

1шт.

27

01220-30420

SCREW

SN: 1974-9000

2шт.

28

01601-00410

WASHER

SN: 1974-9000

2шт.

29

01641-20405

WASHER

SN: 3301-9000

2шт.

30

08671-40020

HOSE

SN: 3301-9000

1шт.

31

195-822-6151

LIGHTER

SN: 4001-@

1шт.

Выбрано товаров: 56