Запчасти Komatsu D355A-3 КАПОТ (ФРАНЦ. СТАНДАРТ ШУМОПОДАВЛНИЯ)(№9-) ОПЦИОННЫЕ КОМПОНЕНТЫ (КРОМЕ ЯПОН.)

Схема запчастей Komatsu D355A-3 - КАПОТ (ФРАНЦ. СТАНДАРТ ШУМОПОДАВЛНИЯ)(№9-) ОПЦИОННЫЕ КОМПОНЕНТЫ (КРОМЕ ЯПОН.)
FIT
1:1
100%

Артикул

Название

Примечание

Количество

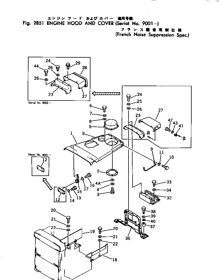
1

195-54-11657

HOOD

SN: 4001-UP

1шт.

1

0

HOOD

SN: 3301-4000

1шт.

2

195-54-15621

COVER

SN: 3301-UP

1шт.

3

01010-80820

BOLT

SN: 3301-UP

4шт.

4

01602-00825

WASHER

SN: 3301-UP

4шт.

4A

01643-30823

WASHER

SN: 3301-UP

4шт.

5

175-862-3530

COVER

SN: 3301-UP

1шт.

6

01010-81020

BOLT

SN: 1632-UP

4шт.

7

01602-01030

WASHER

SN: 1632-9000

4шт.

8

01643-31032

WASHER

SN: 1632-UP

4шт.

9

09420-01903

HANDLE

SN: 3301-UP

2шт.

10

01010-81235

BOLT

SN: 3301-UP

4шт.

11

01602-01236

WASHER

SN: 3301-UP

4шт.

12

175-54-21811

PLATE

SN: 4001-UP

2шт.

12

175-54-21810

PLATE

SN: 3301-4000

2шт.

13

01010-81235

BOLT

SN: 3301-UP

4шт.

14

01602-01236

WASHER

SN: 3301-UP

4шт.

15

175-54-21361

CATCH ASS'Y

SN: 4001-UP

2шт.

15

0

CATCH ASS'Y

SN: 1117-4000

4шт.

16

01010-81025

BOLT

SN: 4001-UP

6шт.

16

01010-31025

BOLT

SN: 3301-4000

12шт.

17

01602-01030

WASHER

SN: 4001-UP

6шт.

17

01602-01030

WASHER

SN: 3301-4000

12шт.

18

195-54-11665

GUARD,L.H.

SN: 4001-UP

1шт.

18

0

GUARD,L.H.

SN: 3301-4000

1шт.

19

195-54-11674

GUARD,R.H.

SN: 4001-UP

1шт.

19

0

GUARD,R.H.

SN: 3301-4000

1шт.

20

01010-81635

BOLT

SN: 9001-UP

4шт.

20

01010-31040

BOLT

SN: 1067-9000

4шт.

21

01602-01648

WASHER

SN: 1010-UP

4шт.

22

01643-31645

WASHER

SN: 1010-UP

4шт.

23

175-54-21841

COVER

SN: 9001-UP

1шт.

23

175-54-21840

COVER

SN: 3301-9000

1шт.

24

195-54-26230

BOLT

SN: 9001-UP

5шт.

24

01010-31235

BOLT

SN: 3301-9000

9шт.

25

01602-01236

WASHER

SN: 3301-9000

9шт.

26

175-54-34170

WASHER

SN: 9001-UP

10шт.

26

124-54-26540

WASHER

SN: 3301-9000

9шт.

27

175-54-34290

COVER

SN: 9001-UP

1шт.

27

175-54-33442

COVER

SN: 6421-9000

1шт.

27

0

COVER

SN: 3301-6420

1шт.

28

155-54-11411

STRIP

SN: 9001-UP

1шт.

29

195-54-26230

BOLT

SN: 9001-UP

6шт.

32

175-54-33345

DASHBOARD

SN: 9001-UP

1шт.

32

175-54-33344

DASHBOARD

SN: 6421-9000

1шт.

32

0

DASHBOARD

SN: 3301-6420

1шт.

33

01010-81225

BOLT

SN: 3301-UP

4шт.

34

01643-31232

WASHER

SN: 9001-UP

6шт.

34

01602-01236

WASHER

SN: 3301-9000

4шт.

36

195-54-24790

BRACKET

SN: 9001-UP

1шт.

37

198-21-12240

BOSS

SN: 3301-4000

7шт.

38

01010-81650

BOLT

SN: 9001-UP

8шт.

38

0

BOLT

SN: 4001-9000

8шт.

38

01010-31470

BOLT

SN: 3301-4000

7шт.

39

01602-01648

WASHER

SN: 4001-9000

8шт.

39

01602-01442

WASHER

SN: 3301-4000

7шт.

40

01643-31645

WASHER

SN: 4001-UP

8шт.

40

01643-31445

WASHER

SN: 3301-4000

7шт.

41

175-54-33940

LOCK ASS'Y

SN: 3301-9000

1шт.

42

01010-30816

BOLT

SN: 3301-9000

1шт.

43

01602-00825

WASHER

SN: 3301-9000

1шт.

44

01010-81235

BOLT

SN: 9001-UP

5шт.

Выбрано товаров: 62