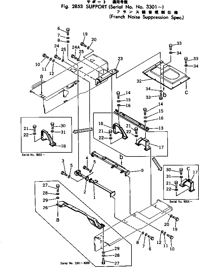
Запчасти Komatsu D355A-3 СУППОРТ (ФРАНЦ. СТАНДАРТ ШУМОПОДАВЛНИЯ)(№-) ОПЦИОННЫЕ КОМПОНЕНТЫ (КРОМЕ ЯПОН.)

Схема запчастей Komatsu D355A-3 - СУППОРТ (ФРАНЦ. СТАНДАРТ ШУМОПОДАВЛНИЯ)(№-) ОПЦИОННЫЕ КОМПОНЕНТЫ (КРОМЕ ЯПОН.)
FIT
1:1
100%

Артикул

Название

Примечание

Количество

|$0

195-54-23502

SUPPORT ASS'Y

SN: 9001-UP

1шт.

|$1

195-54-23501

SUPPORT ASS'Y

SN: 4903-9000

1шт.

|$2

195-54-23500

SUPPORT ASS'Y

SN: 3301-4902

1шт.

1

195-54-23423

SUPPORT

SN: 9001-UP

1шт.

1

195-54-23422

SUPPORT

SN: 3301-9000

1шт.

2

195-54-23571

SUPPORT

SN: 4903-UP

1шт.

2

195-54-23570

SUPPORT

SN: 3301-4902

1шт.

3

01090-31235

BOLT

SN: 3301-UP

1шт.

4

01010-81235

BOLT

SN: 3301-UP

2шт.

5

01602-01236

WASHER

SN: 3301-UP

3шт.

6

01010-81645

BOLT

SN: 9001-UP

5шт.

6

0

BOLT

SN: 3301-9000

5шт.

7

01602-01648

WASHER

SN: 3301-9000

5шт.

8

01643-31645

WASHER

SN: 3301-UP

5шт.

9

195-862-4521

SUPPORT

SN: 9001-UP

1шт.

10

01010-81645

BOLT

SN: 9001-UP

6шт.

10

0

BOLT

SN: 3301-9000

6шт.

11

01602-01648

WASHER

SN: 3301-9000

6шт.

12

01643-31645

WASHER

SN: 3301-UP

6шт.

13

195-54-14145

STAY

SN: 9001-UP

1шт.

13

195-54-14144

STAY

SN: 3301-9000

1шт.

14

01010-81235

BOLT

SN: 1010-UP

4шт.

15

01602-01236

WASHER

SN: 1010-9000

4шт.

16

01643-31232

WASHER

SN: 1010-UP

4шт.

17

195-862-1452

BRACKET

SN: 9001-UP

1шт.

18

195-54-12549

BRACKET

SN: 9001-UP

1шт.

18

195-54-12548

BRACKET,R.H.

SN: 3301-9000

1шт.

19

01010-82060

BOLT

SN: 3301-UP

6шт.

20

01602-02060

WASHER

SN: 3301-9000

6шт.

21

01010-81645

BOLT

SN: 9001-UP

4шт.

21

01010-31645

BOLT

SN: 3301-9000

8шт.

22

01643-31645

WASHER

SN: 9001-UP

4шт.

22

01602-01648

WASHER

SN: 3301-9000

8шт.

23

195-862-1561

BRACKET

SN: 9001-UP

1шт.

24

01010-82050

BOLT

SN: 1117-UP

4шт.

24A

01010-82060

BOLT

SN: 1117-UP

2шт.

25

01643-32060

WASHER

SN: 1117-UP

6шт.

25

0

WASHER

SN: 1117-9000

6шт.

26

195-54-23390

BRACKET

SN: 3301-4000

1шт.

27

01010-31655

BOLT

SN: 3301-4000

8шт.

28

01602-01648

WASHER

SN: 3301-4000

8шт.

29

01643-31645

WASHER

SN: 3301-4000

8шт.

30

01010-82050

BOLT

SN: 9001-UP

4шт.

31

01643-32060

WASHER

SN: 9001-UP

4шт.

32

195-862-1482

PLATE

SN: 9001-UP

1шт.

33

01010-81230

BOLT

SN: 9001-UP

8шт.

34

01643-31232

WASHER

SN: 9001-UP

8шт.

Выбрано товаров: 47