Запчасти Komatsu D355A-3 ЗАДН. КРЫШКА (ДЛЯ ПОДОГРЕВ. РАКЕТНОГО ТИПА)(№-) ОПЦИОННЫЕ КОМПОНЕНТЫ (КРОМЕ ЯПОН.)

Схема запчастей Komatsu D355A-3 - ЗАДН. КРЫШКА (ДЛЯ ПОДОГРЕВ. РАКЕТНОГО ТИПА)(№-) ОПЦИОННЫЕ КОМПОНЕНТЫ (КРОМЕ ЯПОН.)
FIT
1:1
100%

Артикул

Название

Примечание

Количество

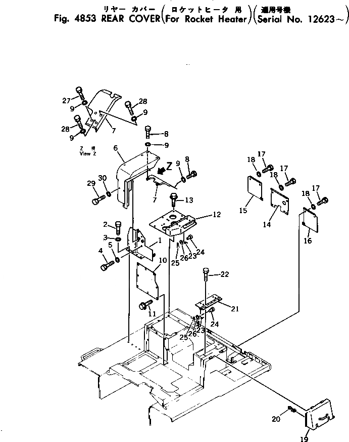
1

195-54-26330

BRACKET

SN: 12623-UP

1шт.

2

01010-81440

BOLT

SN: 12623-UP

4шт.

3

01643-31445

WASHER

SN: 12623-UP

4шт.

4

01010-81230

BOLT

SN: 12623-UP

4шт.

5

01643-31232

WASHER

SN: 12623-UP

4шт.

6

195-54-15127

COVER

SN: 12623-UP

1шт.

7

195-54-21962

COVER

SN: 12623-UP

1шт.

8

01010-81225

BOLT

SN: 12623-UP

4шт.

9

01643-31232

WASHER

SN: 12623-UP

7шт.

10

175-54-33742

COVER

SN: 12623-UP

1шт.

11

01439-00820

BOLT

SN: 13781-UP

8шт.

11

0

BOLT

SN: 12623-13780

8шт.

12

175-54-33731

COVER,(FOR TILT DOZER)

SN: 12623-UP

1шт.

12

175-54-37412

COVER,(FOR GIANT RIPPER)

SN: 12623-UP

1шт.

12

175-54-37390

COVER,(FOR MULTI RIPPER)

SN: 12623-UP

1шт.

13

01439-00820

BOLT

SN: 13781-UP

7шт.

13

0

BOLT

SN: 12623-13780

7шт.

14

195-54-14124

COVER

SN: 12623-UP

1шт.

15

195-54-14171

COVER

SN: 12623-UP

1шт.

16

195-54-14181

COVER

SN: 12623-UP

1шт.

17

01010-81225

BOLT

SN: 12623-UP

8шт.

18

01643-31232

WASHER

SN: 12623-UP

8шт.

19

175-54-33314

COVER

SN: 12623-UP

1шт.

20

09459-20000

LOCK

SN: 14003-UP

2шт.

20

09459-00000

LOCK

SN: 12623-14002

2шт.

21

175-54-37421

COVER

SN: 12623-UP

1шт.

22

01439-00820

BOLT

SN: 13781-UP

2шт.

22

0

BOLT

SN: 12623-13780

2шт.

23

120-54-12210

SPRING

SN: 12623-UP

2шт.

24

04205-00620

PIN

SN: 12623-UP

4шт.

25

04052-00633

PIN

SN: 12623-UP

4шт.

26

01641-00608

WASHER

SN: 12623-UP

4шт.

27

01010-81235

BOLT

SN: 12623-UP

1шт.

28

01010-81245

BOLT

SN: 12623-UP

2шт.

29

01010-81220

BOLT

SN: 12623-UP

2шт.

30

01643-31232

WASHER

SN: 12623-UP

2шт.

Выбрано товаров: 36