Запчасти Komatsu D355A-3 БОКОВ. КРЫШКА ДВИГ. (ЛЕВ.) (ДЛЯ ПОДОГРЕВ. РАКЕТНОГО ТИПА)(№-) ОПЦИОННЫЕ КОМПОНЕНТЫ (КРОМЕ ЯПОН.)

Схема запчастей Komatsu D355A-3 - БОКОВ. КРЫШКА ДВИГ. (ЛЕВ.) (ДЛЯ ПОДОГРЕВ. РАКЕТНОГО ТИПА)(№-) ОПЦИОННЫЕ КОМПОНЕНТЫ (КРОМЕ ЯПОН.)
FIT
1:1
100%

Артикул

Название

Примечание

Количество

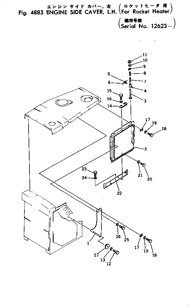
1

195-54-24231

COVER

SN: 12623-UP

1шт.

2

195-54-24210

COVER

SN: 12623-UP

1шт.

3

175-862-3140

GUIDE

SN: 12623-UP

1шт.

4

175-54-25492

LEVER

SN: 12623-UP

1шт.

5

01306-10820

SCREW

SN: 12623-UP

2шт.

6

04059-01020

WIRE

SN: 12623-UP

1шт.

7

175-862-3130

ROD

SN: 12623-UP

1шт.

8

175-54-25511

SPRING

SN: 12623-UP

1шт.

9

175-54-25530

PLATE

SN: 12623-UP

1шт.

10

01643-31232

WASHER

SN: 12623-UP

1шт.

11

01580-11210

NUT

SN: 12623-UP

1шт.

12

01010-81230

BOLT

SN: 12623-UP

1шт.

13

01602-21236

WASHER

SN: 12623-UP

1шт.

14

09420-01903

HANDLE

SN: 12623-UP

1шт.

15

01010-81235

BOLT

SN: 12623-UP

2шт.

16

01602-21236

WASHER

SN: 12623-UP

2шт.

17

09462-00080

STOPPER

SN: 12623-UP

4шт.

18

01010-81250

BOLT

SN: 12623-UP

4шт.

19

01602-21236

WASHER

SN: 12623-UP

4шт.

20

01010-81235

BOLT

SN: 12623-UP

4шт.

21

01643-31232

WASHER

SN: 12623-UP

4шт.

22

195-54-23152

GUARD

SN: 12623-UP

1шт.

23

01010-81635

BOLT

SN: 12623-UP

2шт.

24

01643-31645

WASHER

SN: 12623-UP

2шт.

25

01010-81230

BOLT

SN: 12623-UP

2шт.

26

01643-31232

WASHER

SN: 12623-UP

2шт.

27

154-55-19341

COLLAR

SN: 12623-UP

1шт.

Выбрано товаров: 27