Запчасти Komatsu D355A-3 КАБИНА ROPS (/) (ЭЛЕКТРИКА) (ДЛЯ ПОДОГРЕВ. РАКЕТНОГО ТИПА)(№-) ОПЦИОННЫЕ КОМПОНЕНТЫ (КРОМЕ ЯПОН.)

Схема запчастей Komatsu D355A-3 - КАБИНА ROPS (/) (ЭЛЕКТРИКА) (ДЛЯ ПОДОГРЕВ. РАКЕТНОГО ТИПА)(№-) ОПЦИОННЫЕ КОМПОНЕНТЫ (КРОМЕ ЯПОН.)
FIT
1:1
100%

Артикул

Название

Примечание

Количество

|$0

195-979-0110

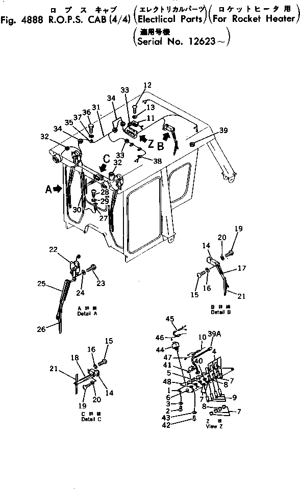
ROPS CAB ASS'Y

SN: 12623-UP

1шт.

|$$2

THIS ASSEMBLY CONSISTS OF ALL PARTS SHOWN IN FIGS.4885 TO 4888.

-1шт.

1

195-979-3363

PLATE

SN: 12623-UP

1шт.

2

195-979-7710

SCREW

SN: 12623-UP

6шт.

3

01642-20508

WASHER

SN: 12623-UP

6шт.

4

195-979-8370

SWITCH

SN: 12623-UP

4шт.

5

08501-22501

SWITCH,ROOM LAMP

SN: 12623-UP

1шт.

6

195-979-3270

CAP

SN: 12623-UP

4шт.

7

195-979-8440

HOLDER

SN: 12623-UP

3шт.

8

195-979-8450

HOLDER

SN: 12623-UP

1шт.

9

198-06-12810

FUSE

SN: 12623-UP

4шт.

10

175-06-33170

CABLE

SN: 13684-UP

1шт.

10

195-979-8410

CABLE

SN: 12623-13683

1шт.

11

08141-12400

LAMP

SN: 13684-UP

1шт.

11

08142-32400

LAMP ASS'Y,ROOM

SN: 12623-13683

1шт.

11

08116-02410

BULB, 10W

SN: 13684-UP

1шт.

11

08110-12410

BULB, 12W

SN: 12623-13683

1шт.

12

01220-40412

SCREW

SN: 13684-UP

2шт.

12

195-979-7710

SCREW

SN: 12623-13683

2шт.

13

01601-20410

WASHER

SN: 13684-UP

2шт.

13

01643-20508

WASHER

SN: 12623-13683

2шт.

14

198-911-3290

WIPER MOTOR ASS'Y

SN: 12623-UP

2шт.

15

01220-40512

SCREW

SN: 12623-UP

4шт.

16

01601-20513

WASHER

SN: 12623-UP

4шт.

17

195-979-9430

ARM,WIPER

SN: 12623-UP

1шт.

18

195-979-9460

ARM,WIPER

SN: 12623-UP

1шт.

19

195-979-7810

SCREW

SN: 12623-UP

2шт.

20

01642-20508

WASHER

SN: 12623-UP

2шт.

21

08185-00400

BLADE,WIPER

SN: 12623-UP

2шт.

22

195-979-3121

WIPER MOTOR ASS'Y

SN: 12623-UP

2шт.

23

01010-80614

BOLT

SN: 12623-UP

8шт.

24

01643-30623

WASHER

SN: 12623-UP

8шт.

25

195-979-3171

ARM,WIPER

SN: 12623-UP

2шт.

26

195-979-3150

BLADE,WIPER

SN: 12623-UP

2шт.

27

195-979-3221

WIRE ASS'Y

SN: 12623-UP

1шт.

28

01220-40312

SCREW

SN: 12623-UP

4шт.

29

01601-20307

WASHER

SN: 12623-UP

4шт.

30

195-979-7731

PROTECTOR

SN: 12623-UP

1шт.

31

175-979-2911

WIRE

SN: 12623-UP

1шт.

32

08037-01008

GROMMET

SN: 12623-UP

2шт.

33

08037-01610

GROMMET

SN: 12623-UP

2шт.

34

08037-03614

GROMMET

SN: 12623-UP

3шт.

35

08036-21414

CLIP

SN: 12623-UP

1шт.

36

01010-81020

BOLT

SN: 12623-UP

1шт.

37

01602-21030

WASHER

SN: 12623-UP

1шт.

38

08036-30810

CLIP

SN: 12623-UP

3шт.

39

09415-03614

CAP

SN: 12623-UP

1шт.

39A

195-Z79-1270

CABLE

SN: 12623-UP

1шт.

40

08051-22501

SWITCH,HEAD LAMP

SN: 12623-UP

1шт.

41

195-979-8340

BREAKER

SN: 12623-UP

1шт.

42

01220-40308

SCREW

SN: 12623-UP

2шт.

43

01641-20305

WASHER

SN: 12623-UP

2шт.

44

195-979-3290

SWITCH,WENTILATOR

SN: 12623-UP

1шт.

45

195-979-8380

WIRING HARNESS

SN: 12623-UP

1шт.

46

195-979-8390

CABLE

SN: 12623-UP

1шт.

47

195-979-8350

WIRE

SN: 12623-UP

1шт.

48

08501-20720

SWITCH,AUXILIARY HEATER

SN: 12623-UP

2шт.

Выбрано товаров: 57