Запчасти Komatsu D355A-3 СИСТЕМА ПОДОГРЕВА (OP)(№-) КОМПОНЕНТЫ ДВИГАТЕЛЯ И ЭЛЕКТРИКА

Схема запчастей Komatsu D355A-3 - СИСТЕМА ПОДОГРЕВА (OP)(№-) КОМПОНЕНТЫ ДВИГАТЕЛЯ И ЭЛЕКТРИКА
FIT
1:1
100%

Артикул

Название

Примечание

Количество

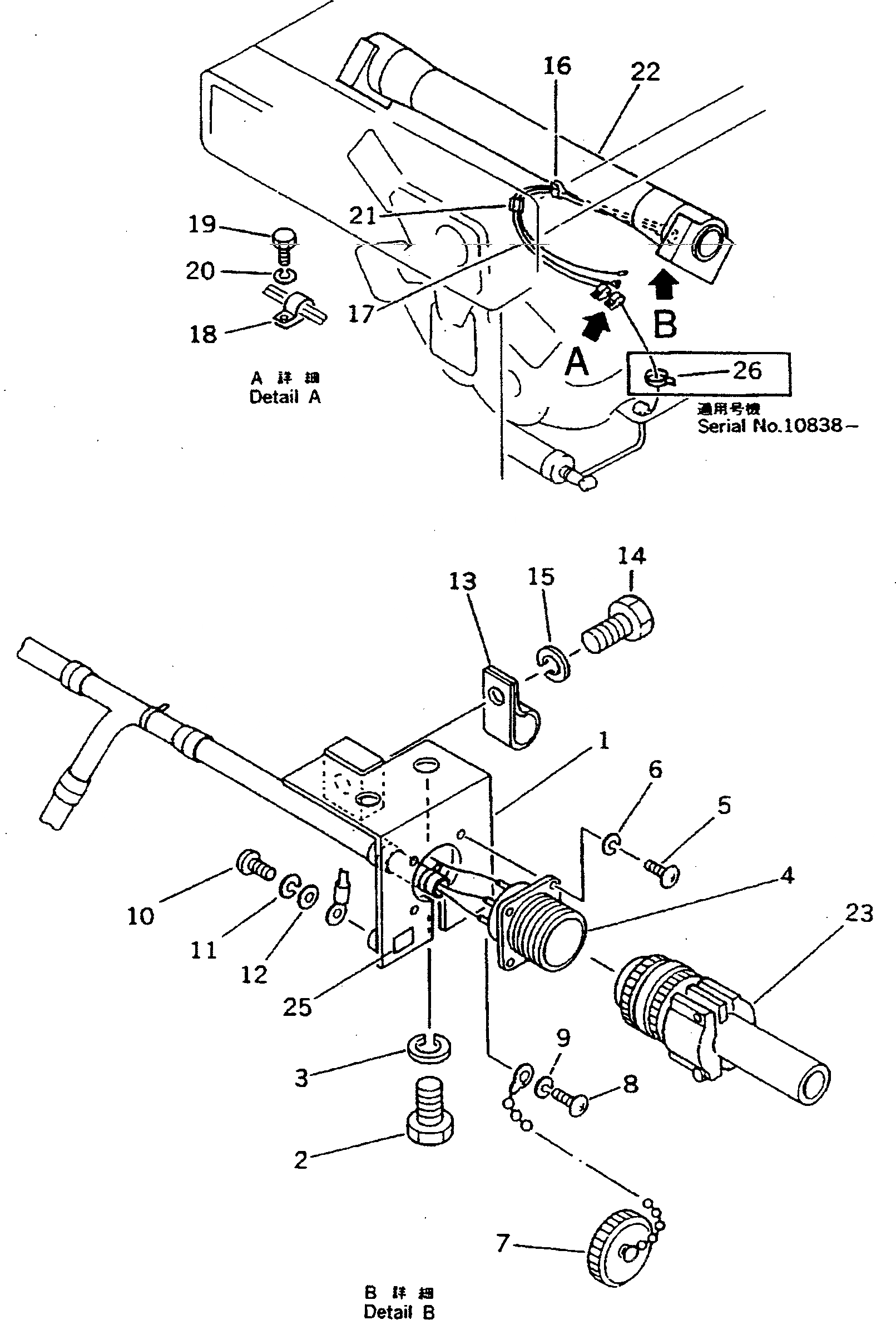
1

154-06-42690

BRACKET

SN: 13854-UP

1шт.

1

195-06-22810

BRACKET

SN: 3301-13853

1шт.

2

01010-81225

BOLT

SN: 3301-UP

2шт.

3

01602-21236

WASHER

SN: 3301-UP

2шт.

4

195-06-22821

WIRE ASS'Y

SN: 10447-UP

1шт.

4

0

WIRE ASS'Y

SN: 3301-10446

1шт.

5

01220-40312

SCREW

SN: 1632-UP

4шт.

6

01601-20307

WASHER

SN: 1632-UP

4шт.

7

175-06-39830

CAP

SN: 1632-UP

1шт.

8

01220-40312

SCREW

SN: 3301-UP

1шт.

9

01601-20307

WASHER

SN: 3301-UP

1шт.

10

01220-40612

SCREW

SN: 3301-UP

1шт.

11

01602-20619

WASHER

SN: 3301-UP

1шт.

12

01641-20608

WASHER

SN: 3301-UP

1шт.

13

08036-21814

CLIP

SN: 3301-UP

1шт.

14

01010-81220

BOLT

SN: 3301-UP

1шт.

15

01602-21236

WASHER

SN: 3301-UP

1шт.

16

08036-21814

CLIP

SN: 3301-UP

3шт.

17

195-06-22830

WIRE ASS'Y

SN: 3301-10446

1шт.

18

08036-81214

CLIP

SN: 10447-UP

1шт.

18

0

CLIP

SN: 1632-10446

1шт.

19

01010-81220

BOLT

SN: 1632-UP

1шт.

20

01602-21236

WASHER

SN: 1632-UP

1шт.

21

08026-01920

TAPE

SN: 1632-10837

1шт.

22

195-61-12512

STAY

SN: 10838-UP

1шт.

22

195-61-12511

STAY

SN: 3301-10837

1шт.

23

175-06-37871

PLUG

SN: 1632-UP

1шт.

24

6127-81-5710

PLATE, CAUTION,(JAPANESE) (NOT SHOWN)

SN: 1632-UP

1шт.

24

6127-81-5730

PLATE, CAUTION,(ENGLISH) (NOT SHOWN)

SN: 1632-UP

1шт.

25

195-98-14750

PLATE, CAUTION

SN: 10092-UP

1шт.

26

08034-00414

BAND

SN: 10838-UP

1шт.

Выбрано товаров: 31