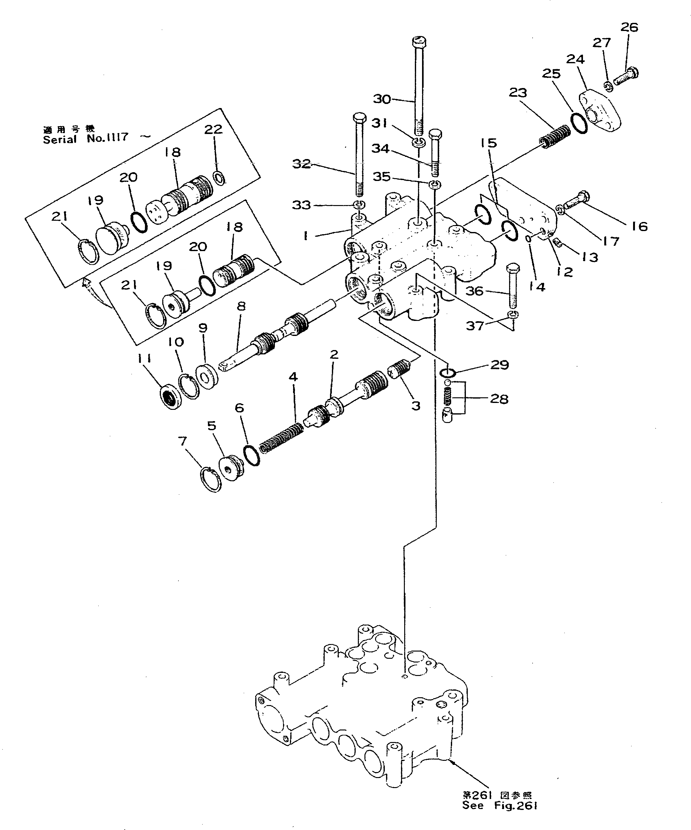
Запчасти Komatsu D355A-3 КЛАПАН УПРАВЛЕНИЯ ТРАНСМИССИЕЙ (/)(№-) ГИДРОТРАНСФОРМАТОР И ТРАНСМИССИЯ

Схема запчастей Komatsu D355A-3 - КЛАПАН УПРАВЛЕНИЯ ТРАНСМИССИЕЙ (/)(№-) ГИДРОТРАНСФОРМАТОР И ТРАНСМИССИЯ
FIT
1:1
100%

Артикул

Название

Примечание

Количество

|$0

195-15-00016

TRANSMISSION ASS'Y

SN: 1297-1631

1шт.

|$1

195-15-00015

TRANSMISSION ASS'Y

SN: 1247-1296

1шт.

|$2

0

TRANSMISSION ASS'Y

SN: 1212-1246

1шт.

|$3

0

TRANSMISSION ASS'Y

SN: 1117-1211

1шт.

|$4

0

TRANSMISSION ASS'Y

SN: 1039-1116

1шт.

|$5

0

TRANSMISSION ASS'Y

SN: 1010-1038

1шт.

|$$7

THIS ASSEMBLY CONSISTS OF ALL PARTS SHOWN IN FIGS.251 TO 255 AND FIG.261, 262, 263.

-1шт.

|$7

195-15-00023

CONTROL VALVE ASS'Y

SN: 1117-1632

1шт.

|$8

0

CONTROL VALVE ASS'Y

SN: 1039-1116

1шт.

|$9

0

CONTROL VALVE ASS'Y

SN: 1010-1038

1шт.

|$$11

THIS ASSEMBLY CONSISTS OF ALL PARTS SHOWN IN FIGS.261 AND 262.

-1шт.

|$11

195-15-15412

BODY

SN: 1117-1631

1шт.

|$12

0

BODY

SN: 1010-1116

1шт.

|$$14

(195-15-15412,195-15-15661,

-1шт.

|$$15

195-15-15710,195-15-45320)

-1шт.

2

195-15-15421

VALVE

SN: 1010-1631

1шт.

3

175-15-35430

PISTON

SN: 1010-1631

1шт.

4

195-15-15440

SPRING

SN: 1010-1631

1шт.

5

195-15-15451

STOPPER

SN: 1010-1631

1шт.

6

07000-03028

O-RING (KIT)

SN: 1010-1631

1шт.

7

04065-03815

RING

SN: 1010-1631

1шт.

8

195-15-15612

SPOOL

SN: 1010-1631

1шт.

9

145-14-23320

BUSHING

SN: 1010-1631

1шт.

10

04065-03815

RING

SN: 1010-1631

1шт.

11

195-15-19150

SEAL (KIT)

SN: 1247-1631

1шт.

11

0

SEAL (KIT)

SN: 1010-1246

1шт.

|$26

195-15-00220

COVER ASS'Y

SN: 1010-1631

1шт.

12

195-15-15460

COVER

SN: 1010-1631

1шт.

13

07042-20108

PLUG

SN: 1010-1631

1шт.

14

07000-02008

O-RING (KIT)

SN: 1010-1631

1шт.

15

07000-03032

O-RING (KIT)

SN: 1010-1631

2шт.

16

01010-31035

BOLT

SN: 1010-1631

3шт.

17

01602-01030

WASHER

SN: 1010-1631

3шт.

18

195-15-15710

VALVE

SN: 1117-1631

1шт.

18

0

VALVE

SN: 1010-1116

1шт.

|$$36

(195-15-15710,195-15-15412,

-1шт.

|$$37

195-15-15661,175-15-45320)

-1шт.

19

195-15-15661

STOPPER

SN: 1117-1631

1шт.

19

0

STOPPER

SN: 1010-1116

1шт.

|$$40

(195-15-15661,195-15-15415,

-1шт.

|$$41

195-15-15710,195-15-45320)

-1шт.

20

07000-03028

O-RING (KIT)

SN: 1010-1631

1шт.

21

04065-03815

RING

SN: 1010-1631

1шт.

22

175-15-45320

WASHER

SN: 1117-1631

1шт.

23

175-15-15590

SPRING

SN: 1010-1631

1шт.

24

175-15-35480

COVER

SN: 1010-1631

1шт.

25

07000-03032

O-RING (KIT)

SN: 1010-1631

1шт.

26

01010-31035

BOLT

SN: 1010-1631

2шт.

27

01602-01030

WASHER

SN: 1010-1631

2шт.

28

195-15-15671

DETENT

SN: 1010-1631

1шт.

28

195-15-15680

SPRING

SN: 1010-1631

1шт.

28

04260-00952

BALL

SN: 1010-1631

1шт.

29

07000-03020

O-RING (KIT)

SN: 1010-1631

1шт.

30

195-15-15550

BOLT

SN: 1010-1631

2шт.

31

01602-01236

WASHER

SN: 1010-1631

2шт.

32

195-15-15560

BOLT

SN: 1010-1631

5шт.

33

01602-01030

WASHER

SN: 1010-1631

5шт.

34

01010-31075

BOLT

SN: 1010-1631

2шт.

35

01602-01030

WASHER

SN: 1010-1631

2шт.

36

01010-31070

BOLT

SN: 1010-1631

2шт.

37

01602-01030

WASHER

SN: 1010-1631

2шт.

Выбрано товаров: 61