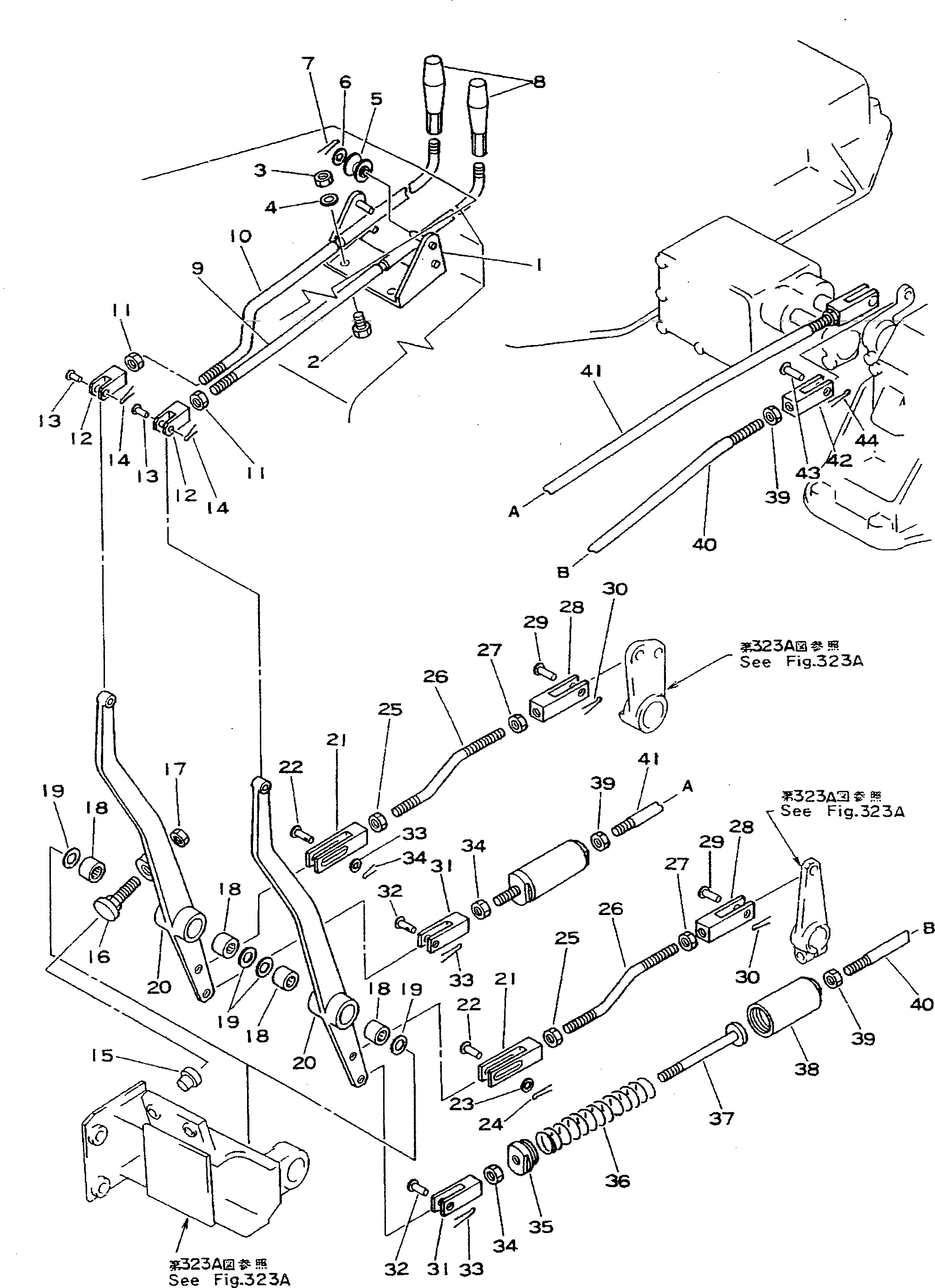
Запчасти Komatsu D355A-3 РЫЧАГ УПРАВЛЕНИЯ ПОВОРОТОМ(№-99) СИСТЕМАУПРАВЛЕНИЯ ПОВОРОТОМ И КОНЕЧНАЯ ПЕРЕДАЧА

Схема запчастей Komatsu D355A-3 - РЫЧАГ УПРАВЛЕНИЯ ПОВОРОТОМ(№-99) СИСТЕМАУПРАВЛЕНИЯ ПОВОРОТОМ И КОНЕЧНАЯ ПЕРЕДАЧА
FIT
1:1
100%

Артикул

Название

Примечание

Количество

1

195-43-12740

BRACKET

SN: 1010-3299

1шт.

2

01010-31230

BOLT

SN: 1010-3299

3шт.

3

01580-01210

NUT

SN: 1010-3299

3шт.

4

01602-01236

WASHER

SN: 1010-3299

3шт.

5

175-43-11130

ROLLER

SN: 1010-3299

4шт.

6

01640-00816

WASHER

SN: 1010-@

4шт.

7

04050-03015

PIN

SN: 1010-@

4шт.

8

09305-11400

KNOB

SN: 1010-@

2шт.

9

195-43-12693

ROD,L.H.

SN: 1632-3299

1шт.

10

195-43-12714

ROD,R.H.

SN: 1632-3299

1шт.

11

01582-01613

NUT

SN: 1067-@

2шт.

12

175-43-11311

YOKE

SN: 1632-@

2шт.

13

175-43-31470

PIN

SN: 1632-@

2шт.

14

04050-03015

PIN

SN: 1010-@

2шт.

15

130-43-11161

CUSHION

SN: 1632-3299

2шт.

16

195-43-18450

BOLT

SN: 1067-3299

2шт.

17

01580-01613

NUT

SN: 1067-3299

2шт.

18

06120-02520

BEARING

SN: 1010-3299

4шт.

19

06122-02504

SEAL

SN: 1010-3299

4шт.

20

195-43-12664

LEVER

SN: 1632-3299

2шт.

21

195-43-12390

YOKE

SN: 1010-3299

2шт.

22

04205-01238

PIN

SN: 1010-3299

2шт.

23

01641-01223

WASHER

SN: 1010-3299

2шт.

24

04050-03020

PIN

SN: 1010-3299

2шт.

25

01582-01210

NUT

SN: 1010-3299

2шт.

26

195-43-12680

ROD

SN: 1010-3299

2шт.

27

01582-01411

NUT

SN: 1067-3299

2шт.

28

04211-01478

YOKE

SN: 1010-3299

2шт.

29

04205-01438

PIN

SN: 1010-3299

2шт.

30

04050-04022

PIN

SN: 1010-3299

2шт.

31

04211-01266

YOKE

SN: 1010-3299

2шт.

32

04205-01235

PIN

SN: 1010-3299

2шт.

33

04050-03020

PIN

SN: 1010-@

2шт.

34

01582-01210

NUT

SN: 1010-@

2шт.

35

195-43-12651

PLUG

SN: 1067-3299

2шт.

36

195-43-12192

SPRING

SN: 1010-3299

2шт.

37

195-43-12381

ROD

SN: 1010-3299

2шт.

38

195-43-12672

HOLDER

SN: 1067-3299

2шт.

39

01582-01210

NUT

SN: 1010-@

4шт.

40

195-43-12221

ROD,L.H.

SN: 1010-3299

1шт.

41

195-43-12213

ROD,R.H.

SN: 1117-3299

1шт.

42

04211-01266

YOKE

SN: 1010-3299

2шт.

43

04205-01235

PIN

SN: 1010-3299

2шт.

44

04050-03020

PIN

SN: 1010-3299

2шт.

Выбрано товаров: 0