Запчасти Komatsu D355A-3 ПЕДАЛЬ ТОРМОЗА(№9-) СИСТЕМАУПРАВЛЕНИЯ ПОВОРОТОМ И КОНЕЧНАЯ ПЕРЕДАЧА

Схема запчастей Komatsu D355A-3 - ПЕДАЛЬ ТОРМОЗА(№9-) СИСТЕМАУПРАВЛЕНИЯ ПОВОРОТОМ И КОНЕЧНАЯ ПЕРЕДАЧА
FIT
1:1
100%

Артикул

Название

Примечание

Количество

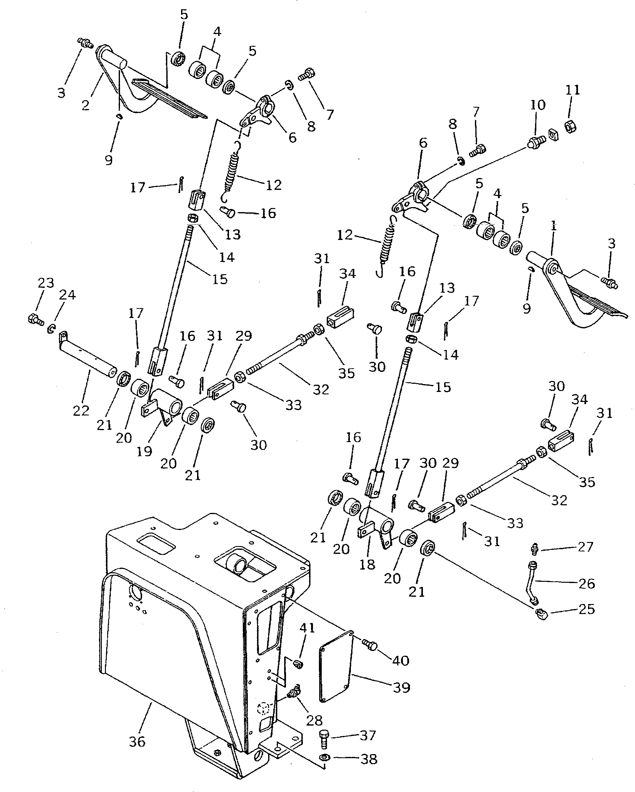
1

195-43-12116

PEDAL

SN: 9001-UP

1шт.

2

195-43-12126

PEDAL

SN: 9001-UP

1шт.

3

07020-00000

FITTING

SN: 3301-UP

2шт.

4

06120-03520

BEARING

SN: 3301-UP

4шт.

5

06122-03504

SEAL

SN: 3301-UP

4шт.

6

195-43-24190

LEVER

SN: 3301-UP

2шт.

7

01010-81245

BOLT

SN: 3301-UP

2шт.

8

01602-21236

WASHER

SN: 3301-UP

2шт.

9

04010-01032

KEY

SN: 3301-UP

2шт.

10

09311-31237

BUMPER

SN: 3301-UP

2шт.

11

01580-11210

NUT

SN: 3301-UP

2шт.

12

154-43-15330

SPRING

SN: 3301-UP

2шт.

13

04211-21478

YOKE

SN: 9001-UP

2шт.

14

01582-11411

NUT

SN: 9001-UP

2шт.

15

04244-51448

ROD

SN: 9001-UP

2шт.

16

04205-11438

PIN

SN: 3301-UP

4шт.

17

04050-14022

PIN

SN: 3301-UP

4шт.

18

195-43-25240

LEVER

SN: 9001-UP

1шт.

19

195-43-25250

LEVER

SN: 9001-UP

1шт.

20

06120-03520

BEARING

SN: 9001-UP

4шт.

21

06122-03504

SEAL

SN: 9001-UP

4шт.

22

195-43-25260

SHAFT

SN: 9001-UP

1шт.

23

01010-81025

BOLT

SN: 9001-UP

1шт.

24

01602-21030

WASHER

SN: 9001-UP

1шт.

25

176-43-41350

ELBOW

SN: 9001-UP

1шт.

26

195-43-25270

TUBE

SN: 9001-UP

1шт.

27

07213-50710

CONNECTOR

SN: 9001-UP

1шт.

28

07020-00675

FITTING

SN: 9001-UP

1шт.

29

04221-21478

YOKE

SN: 3301-UP

2шт.

30

04205-11438

PIN

SN: 3301-UP

4шт.

31

04050-14022

PIN

SN: 3301-UP

4шт.

32

04248-31432

ROD

SN: 9001-UP

2шт.

33

01508-21408

NUT

SN: 3301-UP

2шт.

34

04211-21478

YOKE

SN: 9001-UP

2шт.

35

01582-11411

NUT

SN: 3301-UP

2шт.

36

195-43-24111

BRACKET

SN: 9001-UP

1шт.

37

01010-81445

BOLT

SN: 9001-UP

7шт.

38

01643-31445

WASHER

SN: 9001-UP

7шт.

39

195-43-25280

PLATE

SN: 9001-UP

1шт.

40

01439-00814

BOLT

SN: 13781-UP

4шт.

|40

0

BOLT

SN: 9001-13780

4шт.

41

07049-00811

PLUG

SN: 9001-UP

2шт.

Выбрано товаров: 42