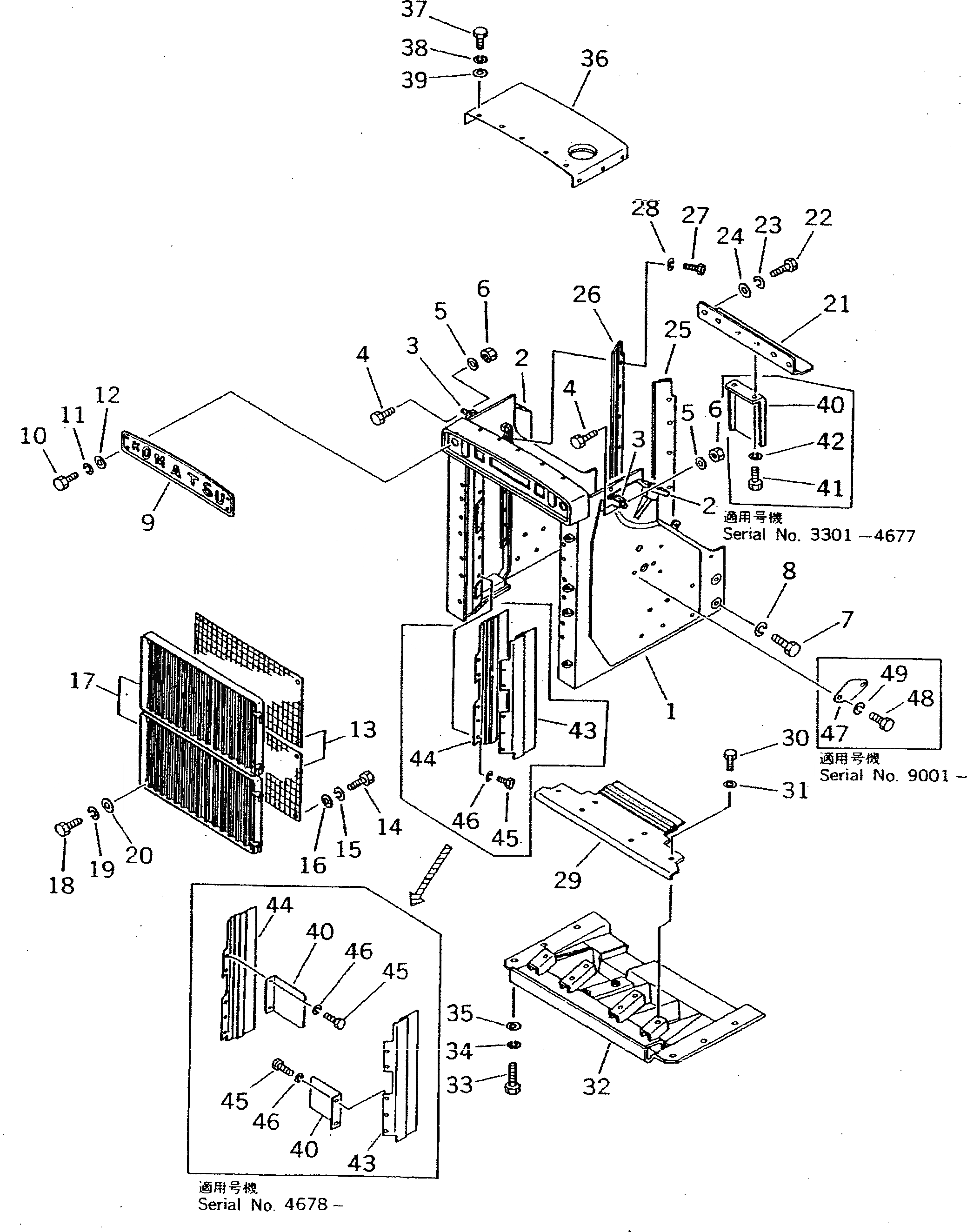
Запчасти Komatsu D355A-3 ЗАЩИТА РАДИАТОРА(№78-) ЧАСТИ КОРПУСА

Схема запчастей Komatsu D355A-3 - ЗАЩИТА РАДИАТОРА(№78-) ЧАСТИ КОРПУСА
FIT
1:1
100%

Артикул

Название

Примечание

Количество

1

195-54-24701

GUARD ASS'Y

SN: 9001-UP

1шт.

|1

195-54-24700

GUARD ASS'Y

SN: 4678-9000

1шт.

2

195-54-11271

SUPPORT (WELDED)

SN: 1632-UP

2шт.

3

195-862-2121

BRACKET (WELDED)

SN: 3301-UP

2шт.

4

01010-80835

BOLT

SN: 1067-UP

2шт.

5

01643-30823

WASHER

SN: 9001-UP

2шт.

|5

0

WASHER

SN: 1010-9000

2шт.

6

01580-00806

NUT

SN: 1067-UP

2шт.

7

195-54-11141

BOLT

SN: 1010-UP

16шт.

8

01643-33080

WASHER

SN: 9001-UP

16шт.

|8

0

WASHER

SN: 1010-9000

16шт.

9

195-54-11283

MARK

SN: 13545-UP

1шт.

|9

195-54-11282

MARK

SN: 4001-13544

1шт.

10

01010-81020

BOLT

SN: 9001-UP

4шт.

|10

0

BOLT

SN: 4001-9000

4шт.

11

01602-01030

WASHER

SN: 1632-9000

4шт.

12

01643-31032

WASHER

SN: 4001-UP

4шт.

13

195-54-11395

NET

SN: 3301-UP

2шт.

14

01010-80820

BOLT

SN: 9001-UP

16шт.

|14

0

BOLT

SN: 1632-9000

16шт.

15

01602-00825

WASHER

SN: 1632-9000

16шт.

16

01643-30823

WASHER

SN: 1632-UP

16шт.

17

195-54-11136

GRILLE

SN: 3301-UP

2шт.

18

01010-81650

BOLT

SN: 1117-UP

8шт.

19

01602-01648

WASHER

SN: 1010-UP

8шт.

20

01643-31645

WASHER

SN: 1117-UP

8шт.

21

195-54-12644

PLATE

SN: 1632-UP

1шт.

22

01010-81020

BOLT

SN: 9001-UP

5шт.

|22

0

BOLT

SN: 1010-9000

5шт.

23

01602-01030

WASHER

SN: 1010-9000

5шт.

24

01643-31032

WASHER

SN: 1010-UP

5шт.

25

195-54-24580

BRAKER

SN: 4678-UP

1шт.

26

195-54-24590

BRAKER

SN: 4678-UP

1шт.

27

01010-81025

BOLT

SN: 4678-UP

10шт.

28

01602-21030

WASHER

SN: 4678-UP

10шт.

29

195-54-24551

BREAKER

SN: 4678-UP

1шт.

30

01010-31230

BOLT

SN: 4678-UP

6шт.

31

01643-31232

WASHER

SN: 4678-UP

6шт.

32

195-54-24720

COVER

SN: 4678-UP

1шт.

33

01010-82060

BOLT

SN: 3301-UP

6шт.

34

01602-02060

WASHER

SN: 1632-9000

6шт.

35

01643-32060

WASHER

SN: 1632-UP

6шт.

36

195-54-11227

COVER

SN: 3301-UP

1шт.

37

01010-81220

BOLT

SN: 9001-UP

11шт.

|37

0

BOLT

SN: 3301-9000

11шт.

38

01602-01236

WASHER

SN: 3301-9000

11шт.

39

01643-31232

WASHER

SN: 3301-UP

11шт.

40

195-54-23791

PLATE

SN: 4678-UP

2шт.

|40

195-54-23790

COVER

SN: 3301-4677

1шт.

|40

195-54-22870

COVER,(FOR HIGH SPEED FAN)

SN: 3301-4677

1шт.

41

01010-31020

BOLT

SN: 3301-4677

2шт.

42

01602-01030

WASHER

SN: 3301-4677

2шт.

43

195-54-24560

BREAKER

SN: 4678-UP

1шт.

44

195-54-24570

BREAKER

SN: 4678-UP

1шт.

45

01010-81025

BOLT

SN: 4678-UP

10шт.

46

01602-21030

WASHER

SN: 4678-UP

10шт.

47

175-54-41320

PLATE

SN: 9001-UP

1шт.

48

01010-81020

BOLT

SN: 9001-UP

2шт.

49

01643-31032

WASHER

SN: 9001-UP

2шт.

Выбрано товаров: 59