Запчасти Komatsu D355A-3 КРЫЛО(№7-99) ЧАСТИ КОРПУСА

Схема запчастей Komatsu D355A-3 - КРЫЛО(№7-99) ЧАСТИ КОРПУСА
FIT
1:1
100%

Артикул

Название

Примечание

Количество

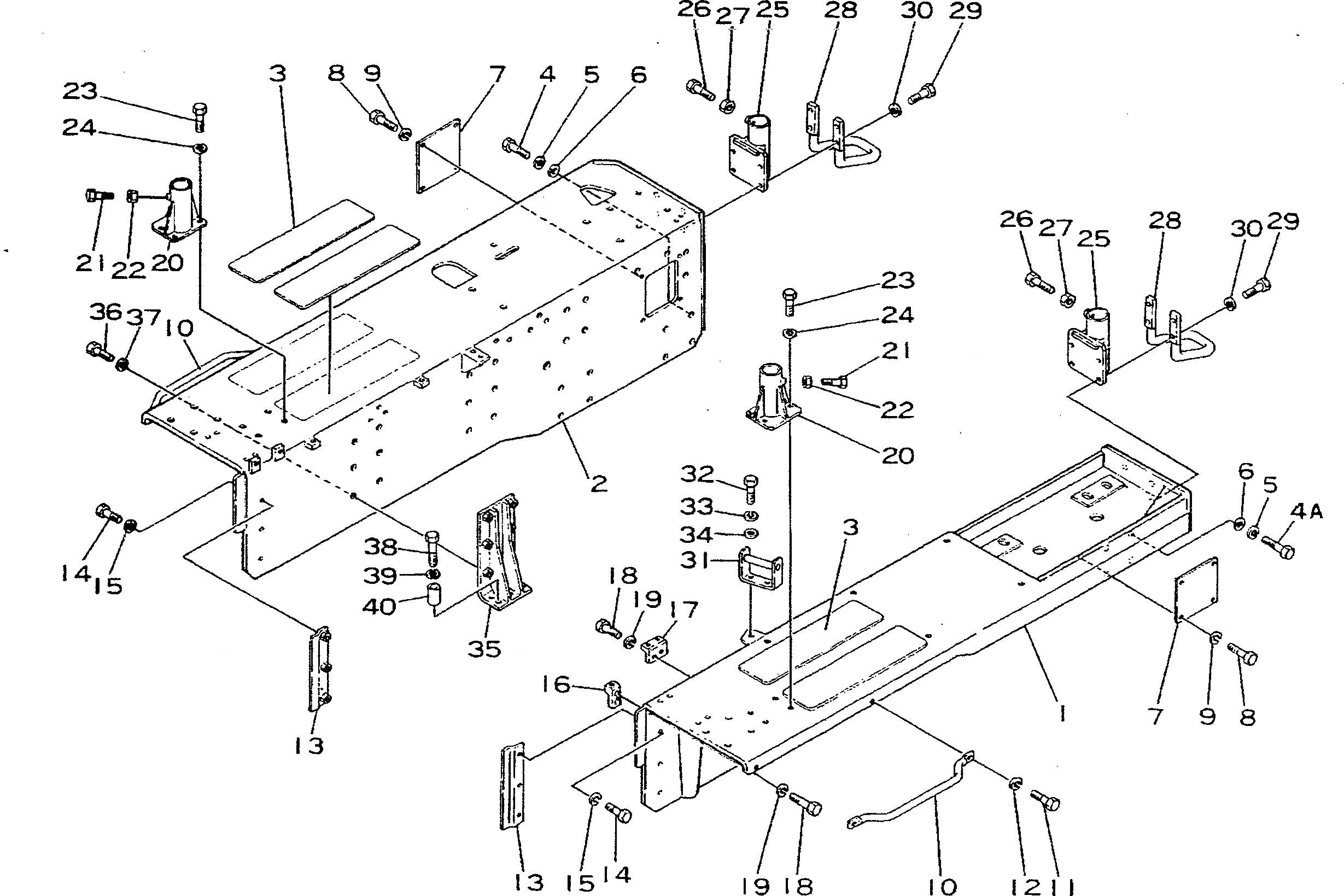
1

195-978-1141

FENDER

SN: 2473-3299

1шт.

2

195-978-1151

FENDER

SN: 2473-3299

1шт.

3

175-54-22860

SEAT

SN: 1632-3299

4шт.

4

01010-32460

BOLT

SN: 2473-3299

8шт.

4A

01010-32480

BOLT

SN: 2473-3299

8шт.

5

01602-02472

WASHER

SN: 2473-@

16шт.

6

01643-02460

WASHER

SN: 2473-@

16шт.

7

195-54-12582

PLATE

SN: 1117-3299

2шт.

8

01010-31220

BOLT

SN: 1010-3299

8шт.

9

01602-01236

WASHER

SN: 1010-@

8шт.

10

175-54-22840

HANDLE

SN: 1632-3299

2шт.

11

01010-31445

BOLT

SN: 1632-@

4шт.

12

01602-01442

WASHER

SN: 1632-@

4шт.

13

195-54-12672

PLATE

SN: 1297-3299

2шт.

14

01010-31235

BOLT

SN: 1297-@

6шт.

15

01602-01236

WASHER

SN: 1297-@

6шт.

16

195-54-11640

SEAT

SN: 1010-3299

1шт.

17

195-54-12570

SEAT

SN: 1010-3299

1шт.

18

01010-31235

BOLT

SN: 1010-3299

4шт.

19

01602-01236

WASHER

SN: 1010-3299

4шт.

20

09470-06420

BRACKET

SN: 3300-@

2шт.

|20

0

BRACKET

SN: 1023-3299

2шт.

21

01016-31450

BOLT

SN: 1067-3299

4шт.

22

01580-01411

NUT

SN: 1067-@

4шт.

23

01010-31440

BOLT

SN: 1067-@

8шт.

24

01602-01442

WASHER

SN: 1023-@

8шт.

25

09470-06425

BRACKET

SN: 3300-@

2шт.

|25

0

BRACKET

SN: 1632-3299

2шт.

26

01016-31450

BOLT

SN: 1067-3299

4шт.

27

01580-01411

NUT

SN: 1067-@

4шт.

28

195-54-12521

HANDLE

SN: 1632-@

2шт.

29

01010-31860

BOLT

SN: 1632-@

8шт.

30

01602-01854

WASHER

SN: 1632-@

8шт.

31

150-54-16191

REST

SN: 1117-3299

1шт.

32

01010-31225

BOLT

SN: 1117-3299

2шт.

33

01602-01236

WASHER

SN: 1117-3299

2шт.

34

01643-01232

WASHER

SN: 1117-3299

2шт.

35

195-54-16331

BRACKET

SN: 2473-@

2шт.

36

01010-31645

BOLT

SN: 1632-@

12шт.

37

01602-01648

WASHER

SN: 1010-@

12шт.

38

01010-31675

BOLT

SN: 2473-@

8шт.

39

01602-01648

WASHER

SN: 2473-@

8шт.

40

195-54-11570

SPACER

SN: 2473-@

8шт.

Выбрано товаров: 43