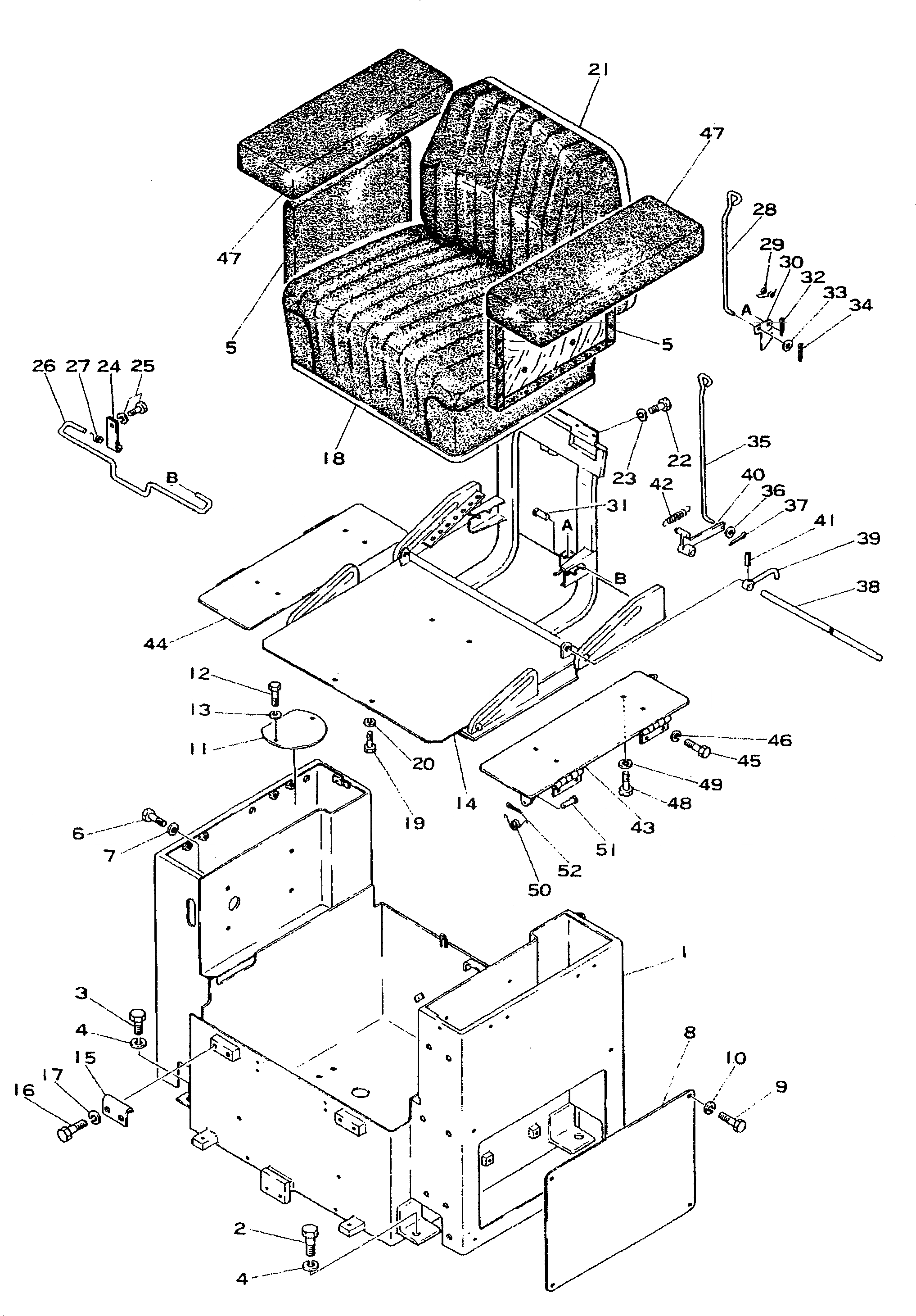
Запчасти Komatsu D355A-3 СИДЕНЬЕ ОПЕРАТОРА(№7-9) ЧАСТИ КОРПУСА

Схема запчастей Komatsu D355A-3 - СИДЕНЬЕ ОПЕРАТОРА(№7-9) ЧАСТИ КОРПУСА
FIT
1:1
100%

Артикул

Название

Примечание

Количество

1

195-57-11114

CASE

SN: 1117-1296

1шт.

2

01010-31460

BOLT

SN: 1117-1296

2шт.

3

01010-31435

BOLT

SN: 1117-1296

2шт.

4

01602-01442

WASHER

SN: 1117-1296

4шт.

5

195-57-11291

SEAT

SN: 1010-@

2шт.

6

01010-30825

BOLT

SN: 1117-@

8шт.

7

01602-00825

WASHER

SN: 1010-@

8шт.

8

154-57-21120

PLATE

SN: 1010-1296

1шт.

9

01010-30816

BOLT

SN: 1010-1296

4шт.

10

01602-00825

WASHER

SN: 1010-1296

4шт.

11

175-57-21340

PLATE

SN: 1010-1296

1шт.

12

01010-30816

BOLT

SN: 1010-1296

2шт.

13

01602-00825

WASHER

SN: 1010-1296

2шт.

14

195-57-11350

FRAME

SN: 1010-1296

1шт.

15

140-57-12190

PLATE

SN: 1010-@

2шт.

16

01010-31225

BOLT

SN: 1010-@

4шт.

17

01602-01236

WASHER

SN: 1010-@

4шт.

18

175-57-21330

SEAT

SN: 1117-1296

1шт.

19

01010-30835

BOLT

SN: 1117-1296

4шт.

20

01602-00825

WASHER

SN: 1117-1296

4шт.

21

09401-10000

SEAT

SN: 1010-1296

1шт.

22

01010-30835

BOLT

SN: 1117-1296

4шт.

23

01602-00825

WASHER

SN: 1010-1296

4шт.

24

145-57-12230

PLATE

SN: 1010-1296

2шт.

25

01010-30835

BOLT

SN: 1117-1296

2шт.

|25

01602-00825

WASHER

SN: 1010-1296

2шт.

26

154-57-21150

ROD

SN: 1117-1296

1шт.

27

150-57-14140

SPRING

SN: 1010-1296

1шт.

28

195-57-11410

BAR

SN: 1117-1296

1шт.

29

135-57-12230

SPRING

SN: 1117-1296

1шт.

30

135-57-12191

PLATE

SN: 1117-1296

1шт.

31

135-43-16270

PIN

SN: 1117-1296

1шт.

32

04050-03015

PIN

SN: 1117-1296

1шт.

33

01640-00610

WASHER

SN: 1117-1296

1шт.

34

04050-01612

PIN

SN: 1117-1296

1шт.

35

195-57-11390

BAR

SN: 1117-1296

1шт.

36

01640-00610

WASHER

SN: 1117-1296

1шт.

37

04050-01612

PIN

SN: 1117-1296

1шт.

38

195-57-11360

SHAFT

SN: 1117-1296

1шт.

39

195-57-11370

LEVER

SN: 1117-1296

2шт.

40

195-57-11380

LEVER

SN: 1117-1296

1шт.

41

04025-00524

PIN

SN: 1117-1296

3шт.

42

154-44-12460

SPRING

SN: 1117-1296

1шт.

43

195-57-11123

COVER

SN: 1010-1296

1шт.

44

195-57-11133

COVER

SN: 1010-*

1шт.

45

01010-30816

BOLT

SN: 1067-1296

8шт.

46

01602-00825

WASHER

SN: 1010-1296

8шт.

47

195-57-11211

REST

SN: 1010-*

2шт.

48

01010-30825

BOLT

SN: 1067-1296

8шт.

49

01602-00825

WASHER

SN: 1010-1296

8шт.

50

131-54-11150

SPRING

SN: 1010-1296

2шт.

51

04205-00616

PIN

SN: 1010-1296

4шт.

52

04050-01610

PIN

SN: 1010-1296

4шт.

Выбрано товаров: 53