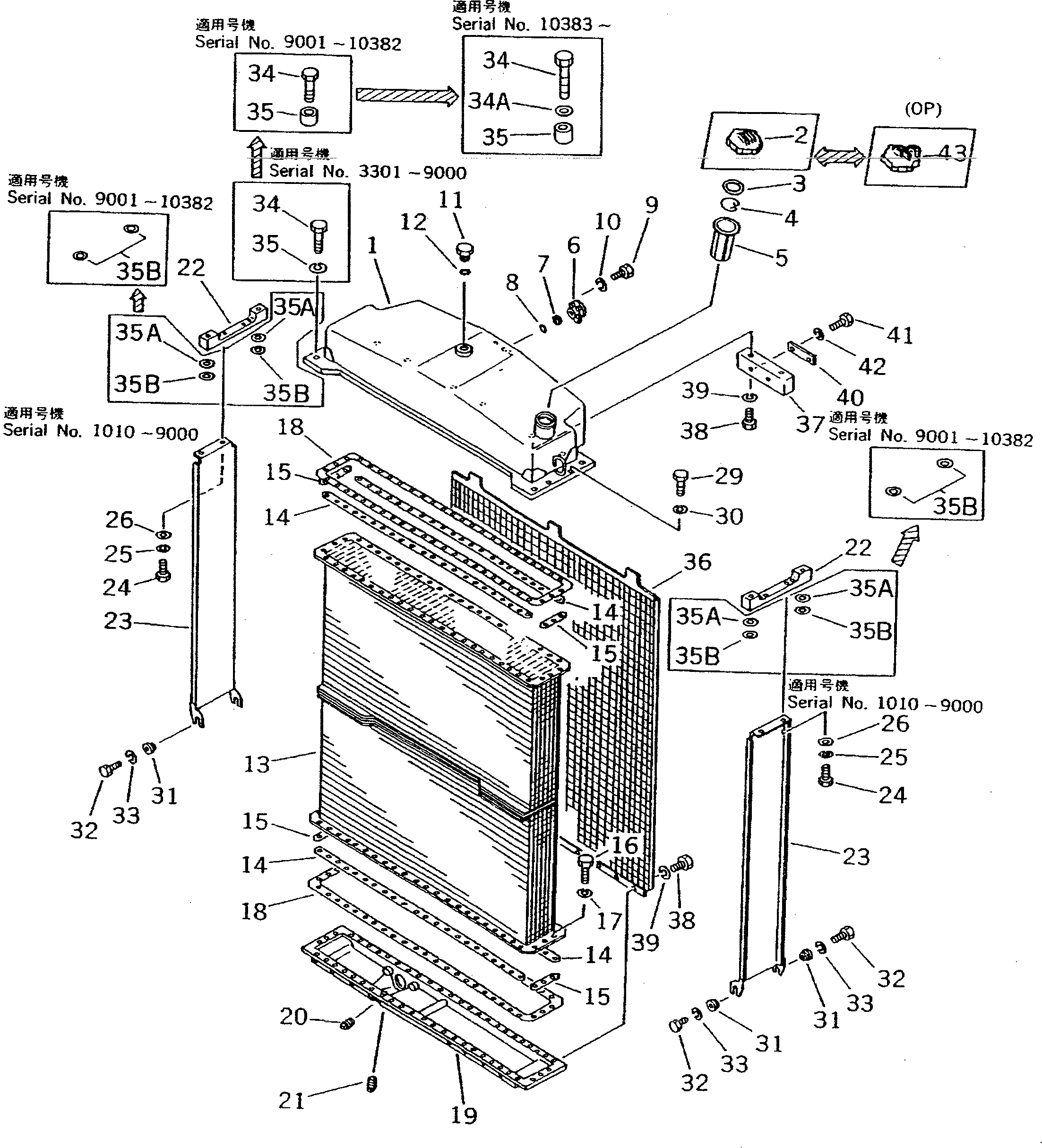
Запчасти Komatsu D355A-3 РАДИАТОР(№78-) КОМПОНЕНТЫ ДВИГАТЕЛЯ И ЭЛЕКТРИКА

Схема запчастей Komatsu D355A-3 - РАДИАТОР(№78-) КОМПОНЕНТЫ ДВИГАТЕЛЯ И ЭЛЕКТРИКА
FIT
1:1
100%

Артикул

Название

Примечание

Количество

|1

195-03-00173

RADIATOR ASS'Y

SN: 13664-UP

1шт.

|1

195-03-00172

RADIATOR ASS'Y

SN: 10838-13663

1шт.

|1

0

RADIATOR ASS'Y

SN: 9178-10837

1шт.

|1

195-03-00170

RADIATOR ASS'Y

SN: 4678-9177

1шт.

|1

195-03-00206

UPPER TANK ASS'Y

SN: 9178-UP

1шт.

|1

195-03-00205

UPPER TANK ASS'Y

SN: 4678-9177

1шт.

1

195-03-22111

TANK

SN: 9178-UP

1шт.

|1

0

TANK

SN: 4678-9177

1шт.

|$$9

(195-03-22111{175-06-41300)}

-1шт.

2

07053-10000

CAP

SN: 1117-UP

1шт.

3

07053-00002

GASKET

SN: 1010-UP

1шт.

4

07057-03271

RING

SN: 1010-UP

1шт.

5

07056-00048

STRAINER

SN: 1010-UP

1шт.

6

154-03-11682

VALVE

SN: 3301-UP

1шт.

7

175-03-32570

SCREEN

SN: 3301-UP

1шт.

8

07000-13045

O-RING

SN: 1010-UP

1шт.

9

01010-81025

BOLT

SN: 4678-UP

2шт.

10

01602-21030

WASHER

SN: 1010-UP

2шт.

11

07040-13618

PLUG

SN: 4678-UP

1шт.

12

07002-23634

O-RING

SN: 4678-UP

1шт.

13

195-03-22131

CORE

SN: 10838-UP

1шт.

|13

0

CORE

SN: 4678-10837

1шт.

14

195-03-22260

PLATE

SN: 4678-UP

4шт.

15

195-03-11143

PLATE

SN: 1211-UP

4шт.

16

01010-81030

BOLT

SN: 4678-UP

104шт.

17

01602-21030

WASHER

SN: 4678-UP

104шт.

18

195-03-22431

GASKET

SN: 13664-UP

2шт.

|18

0

GASKET

SN: 4678-13663

2шт.

19

195-03-22121

TANK

SN: 10838-UP

1шт.

|19

195-03-22120

TANK

SN: 4678-10837

1шт.

20

07042-10415

PLUG

SN: 3301-UP

1шт.

21

07042-30108

PLUG

SN: 3301-UP

1шт.

22

195-03-22150

SPACER

SN: 4678-UP

2шт.

23

195-03-22140

PLATE

SN: 4678-UP

2шт.

24

01010-81020

BOLT

SN: 4678-UP

4шт.

25

01602-21030

WASHER

SN: 4678-UP

4шт.

26

01643-31032

WASHER

SN: 4678-UP

4шт.

29

01010-81080

BOLT

SN: 4678-UP

4шт.

30

01602-21030

WASHER

SN: 4678-UP

4шт.

31

195-03-22160

SEAT

SN: 4678-UP

4шт.

32

01010-81030

BOLT

SN: 4678-UP

4шт.

33

01602-21030

WASHER

SN: 4678-UP

4шт.

34

195-09-18250

BOLT

SN: 9001-UP

4шт.

|34

01011-31815

BOLT

SN: 3301-9000

4шт.

34A

01643-31845

WASHER

SN: 10383-UP

4шт.

35

195-03-18930

WASHER

SN: 9001-UP

4шт.

|35

01602-01854

WASHER

SN: 1010-9000

4шт.

|35A

195-03-00080

SHIM ASS'Y

SN: 1010-9000

4шт.

35A

0

SHIM¤ 0.2MM

SN: 1010-9000

2шт.

35B

0

SHIM¤ 1.0MM

SN: 9001-10382

20шт.

|35B

0

SHIM¤ 1.0MM

SN: 1010-9000

2шт.

36

195-03-22250

GRID

SN: 4678-UP

1шт.

37

198-03-22390

BRACKET

SN: 4678-UP

3шт.

38

01010-81020

BOLT

SN: 4678-UP

6шт.

39

01643-31032

WASHER

SN: 4678-UP

6шт.

40

198-03-22410

PLATE

SN: 4678-UP

3шт.

41

01010-81040

BOLT

SN: 4678-UP

6шт.

42

01643-31032

WASHER

SN: 4678-UP

6шт.

43

07013-20000

CAP,(FOR VANDALISM PROTECTION)

SN: 1117-UP

1шт.

Выбрано товаров: 59