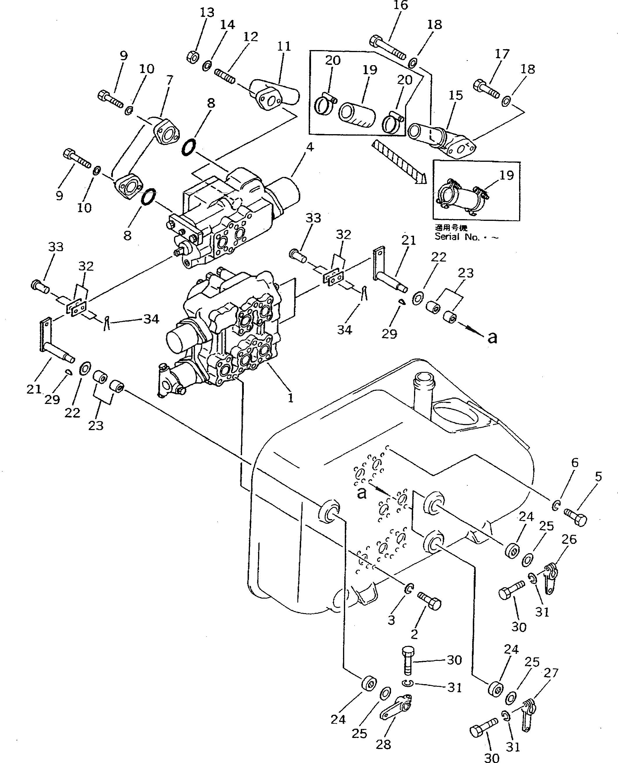
Запчасти Komatsu D355A-3 ГИДР. БАК. (/)(№9-) УПРАВЛ-Е РАБОЧИМ ОБОРУДОВАНИЕМ

Схема запчастей Komatsu D355A-3 - ГИДР. БАК. (/)(№9-) УПРАВЛ-Е РАБОЧИМ ОБОРУДОВАНИЕМ
FIT
1:1
100%

Артикул

Название

Примечание

Количество

|1

195-60-13005

.HYDRAULIC TANK ASS'Y

SN: 13664-UP

1шт.

|1

0

HYDRAULIC TANK ASS'Y

SN: 9001-13663

1шт.

|$2

THESE ASSEMBLIES CONSIST OF ALL PARTS SHOWN IN FIGS.611B TO 625A

-1шт.

1

701-43-24002

.VALVE ASS'Y

SN: 5001-UP

1шт.

2

01010-81230

.BOLT

SN: 1010-UP

4шт.

3

01602-21236

.WASHER

SN: 1010-UP

4шт.

4

701-41-21004

.CONTROL VALVE ASS'Y

SN: 1632-UP

1шт.

5

01010-81230

.BOLT

SN: 1010-UP

3шт.

6

01602-21236

.WASHER

SN: 1010-UP

3шт.

7

175-60-27253

.TUBE

SN: 9001-UP

1шт.

8

07000-13050

.O-RING

SN: 1632-UP

2шт.

9

01010-81445

.BOLT

SN: 1010-UP

4шт.

10

20D-14-11510

.WASHER

SN: 9001-UP

4шт.

11

195-60-16631

.TUBE

SN: 4001-UP

1шт.

12

01144-31435

.STUD

SN: 1010-UP

2шт.

13

01580-01411

.NUT

SN: 1010-UP

2шт.

14

20D-14-11510

.WASHER

SN: 9001-UP

2шт.

15

195-60-16641

.TUBE

SN: 4001-UP

1шт.

16

01010-81495

.BOLT

SN: 3301-UP

1шт.

17

01010-81440

.BOLT

SN: 3301-UP

1шт.

18

20D-14-11510

.WASHER

SN: 9001-UP

2шт.

19

07332-01400

.COUPLING ASS'Y

SN: .-UP

1шт.

|19

0

.HOSE

SN: 9001-.

1шт.

20

07281-00709

.CLAMP

SN: 9001-.

2шт.

21

175-60-29140

.LEVER

SN: 9001-UP

3шт.

22

175-60-29150

.WASHER

SN: 9001-UP

3шт.

23

06120-02520

.BEARING

SN: 1010-UP

6шт.

24

154-60-12370

.SEAL

SN: 1010-UP

3шт.

25

01640-22440

.WASHER

SN: 1010-UP

3шт.

26

195-60-13120

.LEVER

SN: 3301-UP

1шт.

27

175-60-27310

.LEVER

SN: 1632-UP

1шт.

28

175-60-29120

.LEVER

SN: 4001-UP

1шт.

29

04010-00519

.KEY

SN: 1010-UP

3шт.

30

01010-81040

.BOLT

SN: 1632-UP

3шт.

31

01602-21030

.WASHER

SN: 1010-UP

3шт.

32

141-60-32170

.YOKE

SN: 1010-UP

6шт.

33

04205-01028

.PIN

SN: 1010-UP

6шт.

34

04050-03015

.PIN

SN: 1010-UP

6шт.

Выбрано товаров: 38