Запчасти Komatsu D355A-3 ЦИЛИНДР ПЕРЕКОСА ОТВАЛА(№-99) УПРАВЛ-Е РАБОЧИМ ОБОРУДОВАНИЕМ

Схема запчастей Komatsu D355A-3 - ЦИЛИНДР ПЕРЕКОСА ОТВАЛА(№-99) УПРАВЛ-Е РАБОЧИМ ОБОРУДОВАНИЕМ
FIT
1:1
100%

Артикул

Название

Примечание

Количество

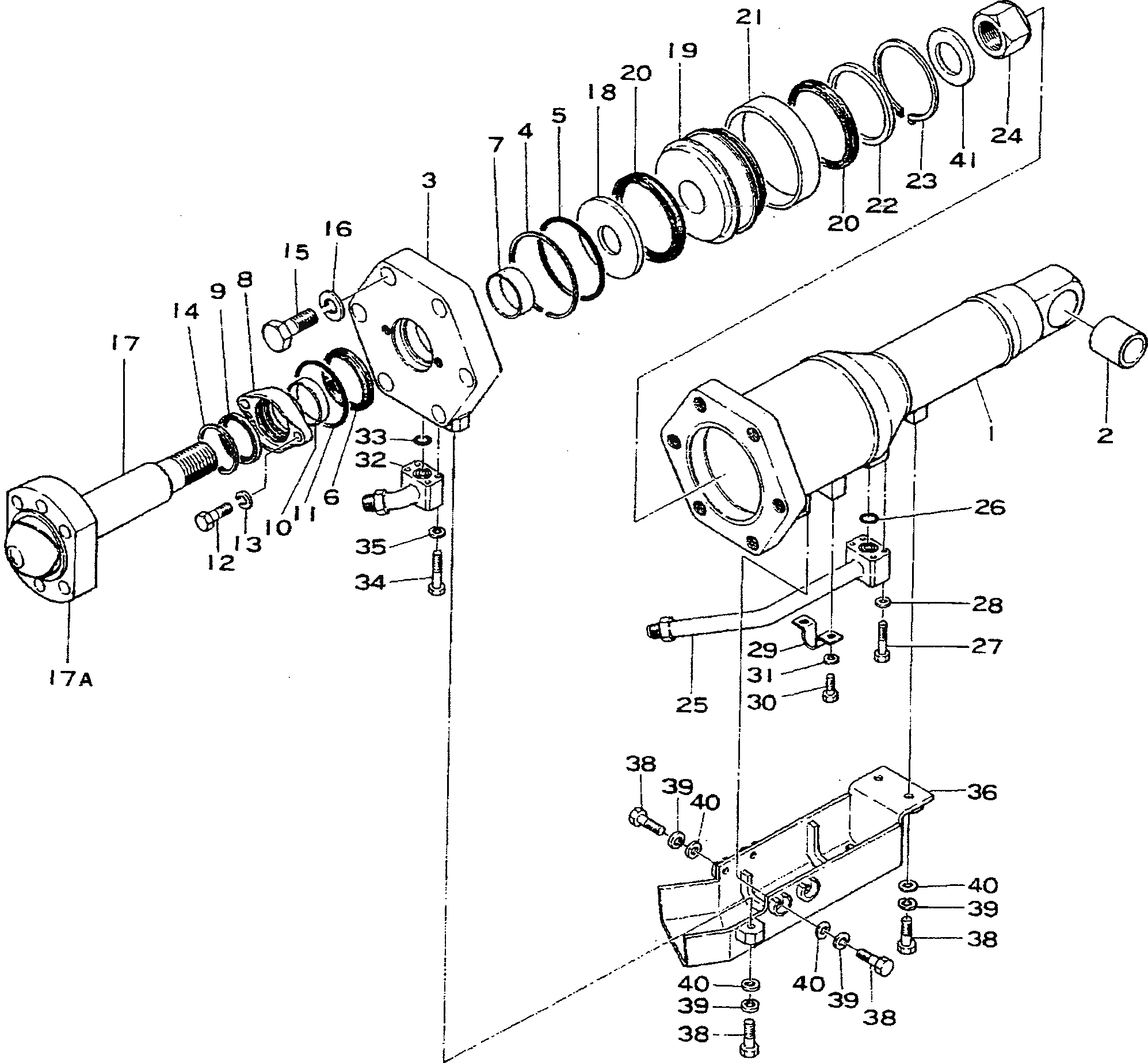
|1

195-63-52300

CYLINDER ASS'Y

SN: 1632-3299

1шт.

1

195-63-52440

CYLINDER

SN: 1632-3299

1шт.

2

195-63-52161

BUSHING

SN: 1117-3299

1шт.

3

195-63-52330

HEAD

SN: 1632-3299

1шт.

4

07146-05242

RING (KIT)

SN: 1117-@

1шт.

5

07000-15240

O-RING (KIT)

SN: 1117-@

1шт.

6

154-63-52173

U-PACKING (KIT)

SN: 1010-@

1шт.

7

07177-09035

BUSHING

SN: 1010-@

1шт.

8

195-63-52470

GLAND

SN: 1010-@

1шт.

9

07016-00908

SEAL (KIT)

SN: 1010-@

1шт.

10

07177-09020

BUSHING

SN: 1010-@

1шт.

11

07000-03110

O-RING (KIT)

SN: 1010-@

1шт.

12

01010-51865

BOLT

SN: 1632-@

2шт.

13

01602-01854

WASHER

SN: 1010-@

2шт.

14

07179-00113

RING

SN: 1010-@

1шт.

15

01011-83020

BOLT

SN: 1632-@

6шт.

16

01601-23075

WASHER

SN: 1632-@

6шт.

17

195-63-52121

ROD

SN: 1117-@

1шт.

17A

195-63-52980

CAP

SN: 1632-@

1шт.

18

195-63-43170

RETAINER

SN: 1117-@

1шт.

19

195-63-52171

PISTON

SN: 1117-@

1шт.

20

195-63-43271

U-PACKING (KIT)

SN: 1117-@

2шт.

21

07155-02555

RING (KIT)

SN: 1117-@

1шт.

22

195-63-43180

RETAINER

SN: 1117-@

1шт.

23

04069-02202

RING

SN: 1117-@

1шт.

24

175-63-52432

NUT

SN: 1010-@

1шт.

25

195-63-52790

TUBE

SN: 1632-3299

1шт.

26

07000-13035

O-RING (KIT)

SN: 1010-@

1шт.

27

01010-51085

BOLT

SN: 1632-3299

1шт.

28

01602-21030

WASHER

SN: 1632-@

4шт.

29

07282-03411

CLAMP

SN: 1010-3299

1шт.

30

01010-51020

BOLT

SN: 1632-3299

2шт.

31

01602-21030

WASHER

SN: 1632-3299

2шт.

32

195-63-52292

TUBE

SN: 1117-3299

1шт.

33

07000-13035

O-RING (KIT)

SN: 1010-@

1шт.

34

01010-51065

BOLT

SN: 1632-3299

4шт.

35

01602-21030

WASHER

SN: 1632-@

4шт.

36

195-63-52880

COVER

SN: 1632-3299

1шт.

38

01010-51235

BOLT

SN: 1632-3299

7шт.

39

01602-21236

WASHER

SN: 1632-3299

7шт.

40

01643-21232

WASHER

SN: 1632-3299

7шт.

41

175-63-52441

WASHER

SN: 1010-@

1шт.

Выбрано товаров: 42