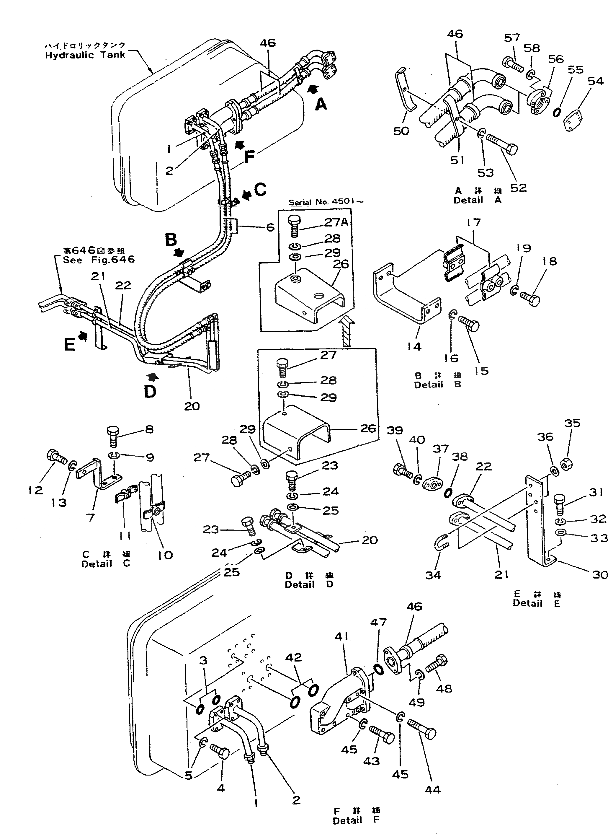
Запчасти Komatsu D355A-3 ГИДРОЛИНИЯ (/) (ДЛЯ ПЕРЕКОС. ОТВАЛА)(№-7) УПРАВЛ-Е РАБОЧИМ ОБОРУДОВАНИЕМ

Схема запчастей Komatsu D355A-3 - ГИДРОЛИНИЯ (/) (ДЛЯ ПЕРЕКОС. ОТВАЛА)(№-7) УПРАВЛ-Е РАБОЧИМ ОБОРУДОВАНИЕМ
FIT
1:1
100%

Артикул

Название

Примечание

Количество

1

195-901-2458

TUBE

SN: 3301-@

1шт.

2

195-901-2712

TUBE

SN: 3301-@

1шт.

3

07000-13048

O-RING

SN: 1010-@

2шт.

4

01010-31245

BOLT

SN: 3301-@

8шт.

5

01602-01236

WASHER

SN: 1010-@

8шт.

6

07109-20522

HOSE

SN: 3301-@

2шт.

7

195-901-2972

BRACKET

SN: 5068-@

1шт.

|7

0

BRACKET

SN: 3301-5067

1шт.

8

01010-31020

BOLT

SN: 3301-@

2шт.

9

01602-01030

WASHER

SN: 3301-@

2шт.

10

170-901-8280

CLIP

SN: 3301-@

1шт.

11

170-901-8290

CLIP

SN: 3301-@

1шт.

12

01010-31055

BOLT

SN: 3301-@

1шт.

13

01602-01030

WASHER

SN: 3301-@

1шт.

14

195-901-2990

BRACKET

SN: 3301-@

1шт.

15

01010-31230

BOLT

SN: 3301-@

2шт.

16

01602-01236

WASHER

SN: 3301-@

2шт.

17

154-70-16470

CLIP

SN: 3301-@

2шт.

18

01010-31080

BOLT

SN: 3301-@

2шт.

19

01602-01030

WASHER

SN: 3301-@

2шт.

20

195-901-2752

TUBE

SN: 3301-6476

1шт.

21

195-901-2941

TUBE

SN: 3301-@

1шт.

22

195-901-2951

TUBE

SN: 3301-@

1шт.

23

01010-31230

BOLT

SN: 3301-@

3шт.

24

01602-01236

WASHER

SN: 3301-@

3шт.

25

01643-31232

WASHER

SN: 3301-@

3шт.

26

195-901-2962

COVER

SN: 4501-@

1шт.

|26

195-901-2961

COVER

SN: 3301-4500

1шт.

27

01010-31235

BOLT

SN: 4501-6476

1шт.

|27

01010-31235

BOLT

SN: 3301-4500

2шт.

27A

01010-31240

BOLT

SN: 4501-@

1шт.

28

01602-01236

WASHER

SN: 3301-@

2шт.

29

01643-31232

WASHER

SN: 3301-@

2шт.

30

195-901-2731

BRACKET

SN: 3301-@

1шт.

31

01010-31235

BOLT

SN: 3301-@

2шт.

32

01602-01236

WASHER

SN: 3301-@

2шт.

33

01643-31232

WASHER

SN: 3301-@

2шт.

34

07283-22236

CLIP

SN: 3301-@

2шт.

35

01599-01011

NUT

SN: 3301-@

4шт.

36

01643-31032

WASHER

SN: 3301-@

4шт.

37

175-61-18180

FLANGE

SN: 3301-@

2шт.

38

07000-13022

O-RING

SN: 3301-@

2шт.

39

01010-31240

BOLT

SN: 3301-@

4шт.

40

01602-01236

WASHER

SN: 3301-@

4шт.

41

175-78-24410

ELBOW

SN: 1632-@

1шт.

42

07000-13048

O-RING

SN: 1632-@

2шт.

43

01010-31270

BOLT

SN: 1632-@

3шт.

44

01010-31290

BOLT

SN: 1632-@

4шт.

45

01602-01236

WASHER

SN: 1632-@

7шт.

46

195-78-42111

HOSE ASS'Y

SN: 3301-@

2шт.

47

07000-13048

O-RING

SN: 1632-@

2шт.

48

01010-31445

BOLT

SN: 1632-@

4шт.

49

01602-01442

WASHER

SN: 1632-@

4шт.

50

175-61-19110

CLAMP

SN: 3301-@

1шт.

51

175-61-19120

CLAMP

SN: 3301-@

1шт.

52

01010-31095

BOLT

SN: 3301-@

1шт.

53

01602-01030

WASHER

SN: 3301-@

1шт.

54

07379-01460

FLANGE

SN: 3301-@

2шт.

55

07000-13048

O-RING

SN: 1010-@

2шт.

56

07371-31465

FLANGE

SN: 3301-@

4шт.

57

07372-01240

BOLT

SN: 3301-@

8шт.

58

01643-31232

WASHER

SN: 6001-@

8шт.

|58

0

WASHER

SN: 1010-6000

8шт.

Выбрано товаров: 63