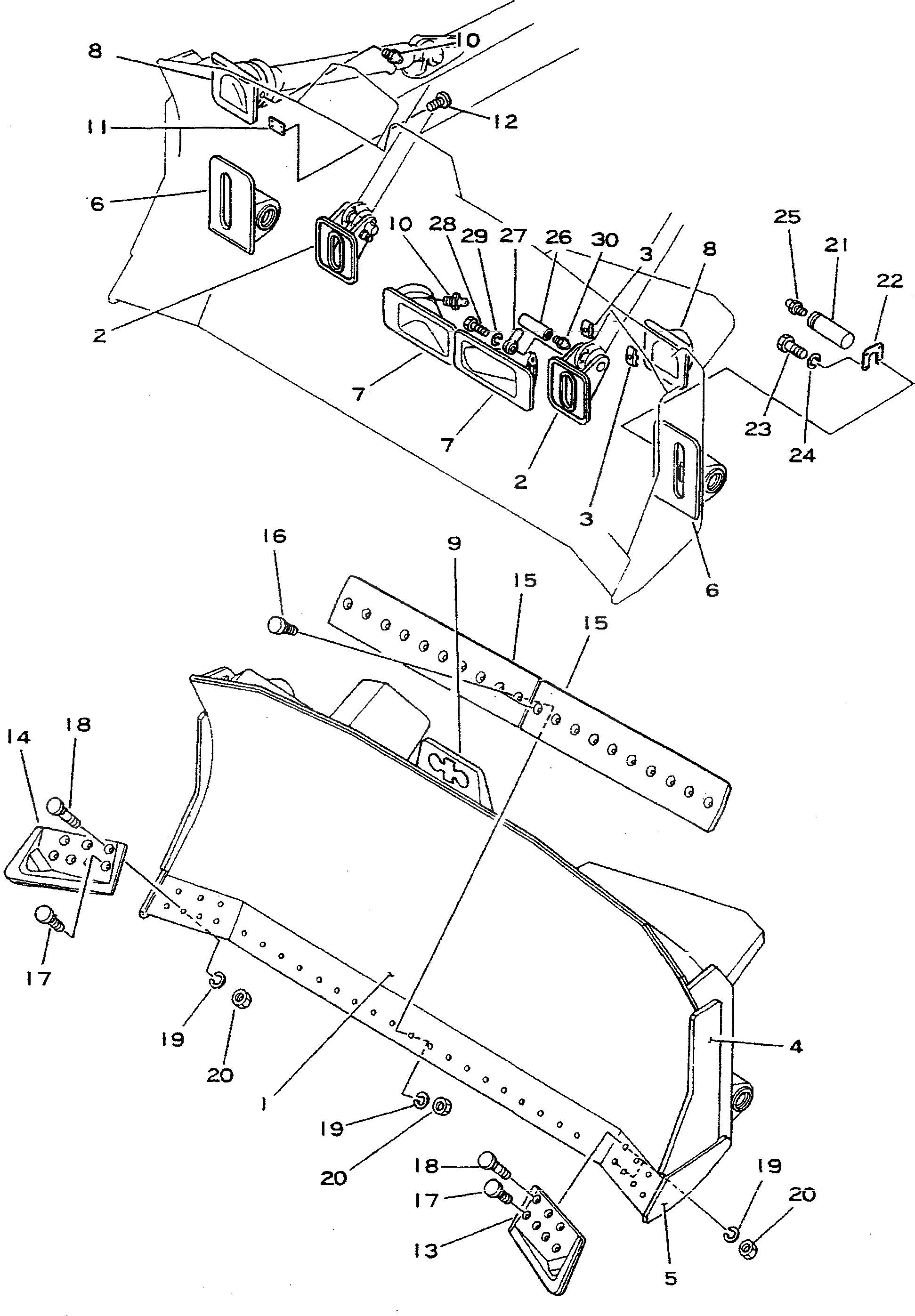
Запчасти Komatsu D355A-3 ПРЯМОЙ ОТВАЛ С ПЕРЕКОСОМ(№-) РАБОЧЕЕ ОБОРУДОВАНИЕ

Схема запчастей Komatsu D355A-3 - ПРЯМОЙ ОТВАЛ С ПЕРЕКОСОМ(№-) РАБОЧЕЕ ОБОРУДОВАНИЕ
FIT
1:1
100%

Артикул

Название

Примечание

Количество

|1

195-71-00012

BLADE ASS'Y

SN: 1010-1030

1шт.

|1

195-71-11004

BLADE ASS'Y

SN: 1010-1030

1шт.

1

195-71-11114

BLADE

SN: 1010-1030

1шт.

2

195-71-11141

BRACKET (WELDED)

SN: 1010-@

2шт.

3

154-81-18531

CLAMP (WELDED)

SN: 1010-@

2шт.

4

195-71-11630

PLATE (WELDED)

SN: 1010-@

2шт.

5

195-71-11640

PLATE (WELDED)

SN: 1010-@

2шт.

6

195-71-11121

BRACKET,R.H. (WELDED)

SN: 1010-1030

1шт.

|6

195-71-11131

BRACKET,L.H. (WELDED)

SN: 1010-1030

1шт.

7

195-71-11610

PIVOT,R.H. (WELDED)

SN: 1010-1030

1шт.

|7

195-71-11620

PIVOT,L.H. (WELDED)

SN: 1010-1030

1шт.

8

195-71-11252

PIVOT (WELDED)

SN: 1010-@

2шт.

9

154-70-11410

PLATE¤ NAME (WELDED)

SN: 1010-@

1шт.

|9

154-70-15310

PLATE¤ MARK

SN: 1010-@

1шт.

10

07020-00000

FITTING

SN: 1010-@

4шт.

11

09601-00835

PLATE¤ NAME

SN: 1010-@

1шт.

12

04418-03060

SCREW

SN: 1010-@

4шт.

13

195-71-11170

BIT

SN: 1010-@

1шт.

14

195-71-11180

BIT

SN: 1010-@

1шт.

15

180-71-11152

EDGE

SN: 1010-@

2шт.

16

195-71-11450

BOLT

SN: 1010-@

20шт.

17

195-71-11460

BOLT

SN: 1010-@

8шт.

18

195-71-11470

BOLT

SN: 1010-@

6шт.

19

01602-02578

WASHER

SN: 1010-@

34шт.

20

02290-11625

NUT

SN: 1010-@

34шт.

21

195-71-11380

SHAFT

SN: 1010-1030

2шт.

22

195-71-11390

LOCK

SN: 1010-1030

2шт.

23

01040-31440

BOLT

SN: 1010-1030

8шт.

24

01602-01442

WASHER

SN: 1010-1030

8шт.

25

07020-00000

FITTING

SN: 1010-1030

2шт.

26

175-893-1440

SHAFT

SN: 1010-@

2шт.

27

195-71-11520

PIN

SN: 1010-@

2шт.

28

01040-31440

BOLT

SN: 1010-1030

2шт.

29

01602-01442

WASHER

SN: 1010-@

2шт.

30

07020-00000

FITTING

SN: 1010-@

2шт.

Выбрано товаров: 35