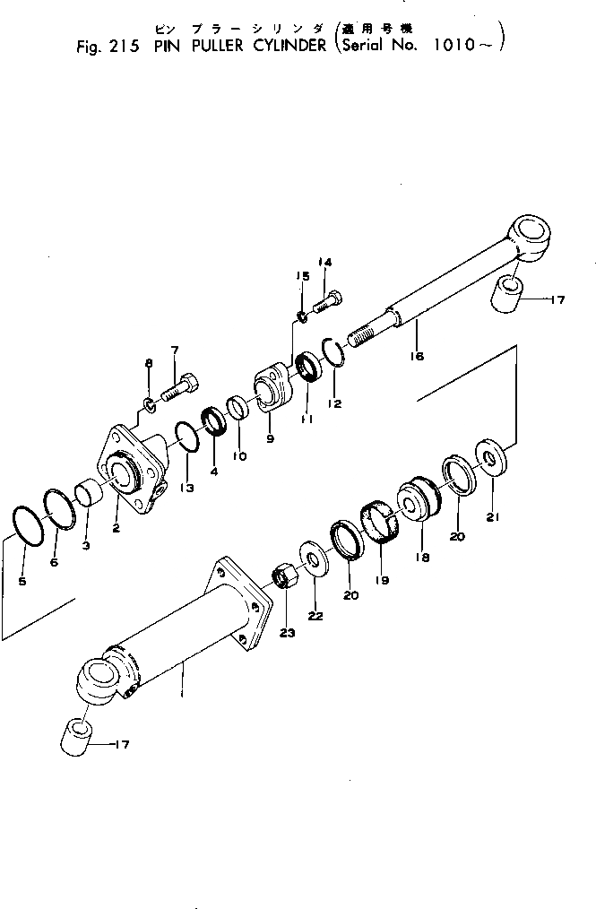
Запчасти Komatsu D355A-3 ЦИЛИНДР СТОПОРН. ПАЛЬЦА(№-) РАБОЧЕЕ ОБОРУДОВАНИЕ

Схема запчастей Komatsu D355A-3 - ЦИЛИНДР СТОПОРН. ПАЛЬЦА(№-) РАБОЧЕЕ ОБОРУДОВАНИЕ
FIT
1:1
100%

Артикул

Название

Примечание

Количество

|1

175-63-49102

CYLINDER ASS'Y

SN: 12974-14126

1шт.

|1

0

CYLINDER ASS'Y

SN: 1010-12973

1шт.

1

175-63-49140

CYLINDER

SN: 1010-14126

1шт.

|1

07170-10785

FLANGE (WELDED)

SN: 12974-14126

1шт.

|1

324-63-22150

BOTTOM (WELDED)

SN: 1010-12973

1шт.

2

175-63-49130

HEAD

SN: 1010-14126

1шт.

3

07177-03525

BUSHING

SN: 1010-14126

1шт.

4

707-51-35110

PACKING

SN: 12974-14126

1шт.

|4

304-63-32183

U-PACKING

SN: 1010-12973

1шт.

5

07000-12065

O-RING

SN: 1010-@

1шт.

6

07146-02066

RING

SN: 1010-@

1шт.

7

01010-31440

BOLT

SN: 1010-14126

4шт.

8

01602-01442

WASHER

SN: 1010-14126

4шт.

9

07178-03535

GLAND

SN: 1010-14126

1шт.

10

07177-03512

BUSHING

SN: 1010-14126

1шт.

11

175-63-75190

SEAL

SN: 12974-14126

1шт.

|11

07016-00357

SEAL

SN: 1010-12973

1шт.

12

07179-00054

RING

SN: 1010-14126

1шт.

13

07000-03050

O-RING

SN: 1010-14126

1шт.

14

01010-31240

BOLT

SN: 1010-14126

2шт.

15

01602-01236

WASHER

SN: 1010-14126

2шт.

16

175-63-49120

ROD

SN: 1010-14126

1шт.

|16

07131-00735

HEAD

SN: 1010-14126

1шт.

17

175-63-49170

BUSHING

SN: 1010-14126

2шт.

18

07150-00724

PISTON

SN: 1010-14126

1шт.

19

07155-00720

RING

SN: 1010-14126

1шт.

20

707-42-70012

PACKING

SN: 12974-14126

2шт.

|20

112-63-12461

U-PACKING

SN: 1010-12973

2шт.

21

112-63-12560

RETAINER

SN: 1010-14126

1шт.

22

112-63-12570

RETAINER

SN: 12974-14126

1шт.

|22

07159-00706

RETAINER

SN: 1010-12973

1шт.

23

07165-12426

NUT

SN: 1010-14126

1шт.

Выбрано товаров: 0