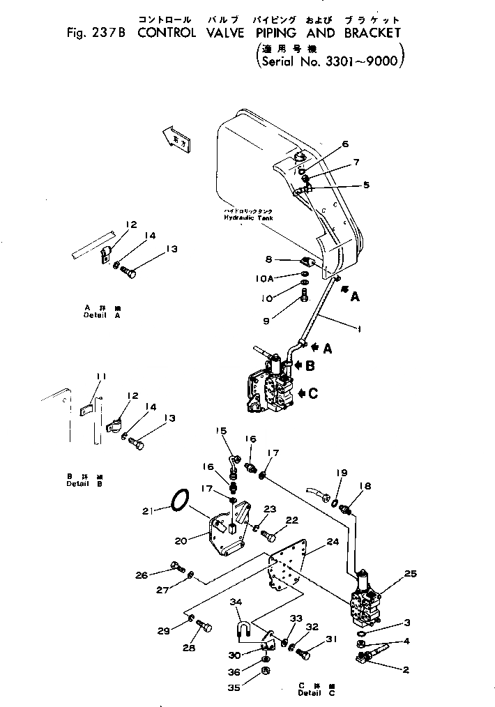
Запчасти Komatsu D355A-3 КОНТРОЛЬН. КЛАПАН: СИСТЕМА ТРУБ И КРЕПЛЕНИЕ(№-9) РАБОЧЕЕ ОБОРУДОВАНИЕ

Схема запчастей Komatsu D355A-3 - КОНТРОЛЬН. КЛАПАН: СИСТЕМА ТРУБ И КРЕПЛЕНИЕ(№-9) РАБОЧЕЕ ОБОРУДОВАНИЕ
FIT
1:1
100%

Артикул

Название

Примечание

Количество

1

07113-00322

HOSE

SN: 1632-@

1шт.

2

175-78-32170

ELBOW

SN: 1345-@

1шт.

3

07002-01623

O-RING

SN: 1345-@

1шт.

4

01583-01610

NUT

SN: 1345-@

1шт.

5

07234-10315

ELBOW

SN: 1166-@

1шт.

6

07002-02034

O-RING

SN: 1632-@

1шт.

7

07239-12009

NUT

SN: 1010-@

1шт.

8

195-78-47121

BRACKET

SN: 3301-@

1шт.

9

01010-31030

BOLT

SN: 1010-@

2шт.

10

01602-01030

WASHER

SN: 1010-9000

2шт.

10A

01643-31032

WASHER

SN: 3301-@

2шт.

11

195-78-22471

CLIP

SN: 3363-@

1шт.

|11

195-78-22471

CLIP

SN: 3301-3362

2шт.

12

195-78-12181

CLIP

SN: 3301-@

3шт.

13

01010-31020

BOLT

SN: 3301-@

2шт.

14

01602-01030

WASHER

SN: 3301-@

2шт.

15

195-78-22651

TUBE

SN: 2171-@

1шт.

16

07211-51016

NIPPLE

SN: 1010-@

2шт.

17

07005-01612

GASKET

SN: 1010-@

2шт.

18

07230-10315

UNION

SN: 1211-@

1шт.

19

07002-02034

O-RING

SN: 1632-@

1шт.

20

195-78-45240

PLATE

SN: 2171-@

1шт.

21

07000-05195

O-RING

SN: 1010-@

1шт.

22

01010-32050

BOLT

SN: 2171-@

6шт.

23

01643-32060

WASHER

SN: 2171-@

6шт.

24

195-78-45250

PLATE

SN: 2171-9000

1шт.

25

700-61-13005

VALVE ASS'Y,SELECTOR

SN: 1211-9000

1шт.

26

01050-31230

BOLT

SN: 1010-@

6шт.

27

01643-31232

WASHER

SN: 1010-@

6шт.

28

01010-32050

BOLT

SN: 2171-@

4шт.

29

01643-32060

WASHER

SN: 1010-@

4шт.

30

195-78-45260

BRACKET

SN: 2171-9000

1шт.

31

01010-31240

BOLT

SN: 2171-9000

2шт.

32

01602-01236

WASHER

SN: 2171-9000

2шт.

33

01643-31232

WASHER

SN: 2171-9000

2шт.

34

07283-23450

CLIP

SN: 1010-9000

1шт.

35

01599-01011

NUT

SN: 1010-9000

2шт.

36

01643-31032

WASHER

SN: 1010-9000

2шт.

Выбрано товаров: 38