Запчасти Komatsu D355A-3 ROPS КОРПУС(№9-) ОПЦИОННЫЕ КОМПОНЕНТЫ

Схема запчастей Komatsu D355A-3 - ROPS КОРПУС(№9-) ОПЦИОННЫЕ КОМПОНЕНТЫ
FIT
1:1
100%

Артикул

Название

Примечание

Количество

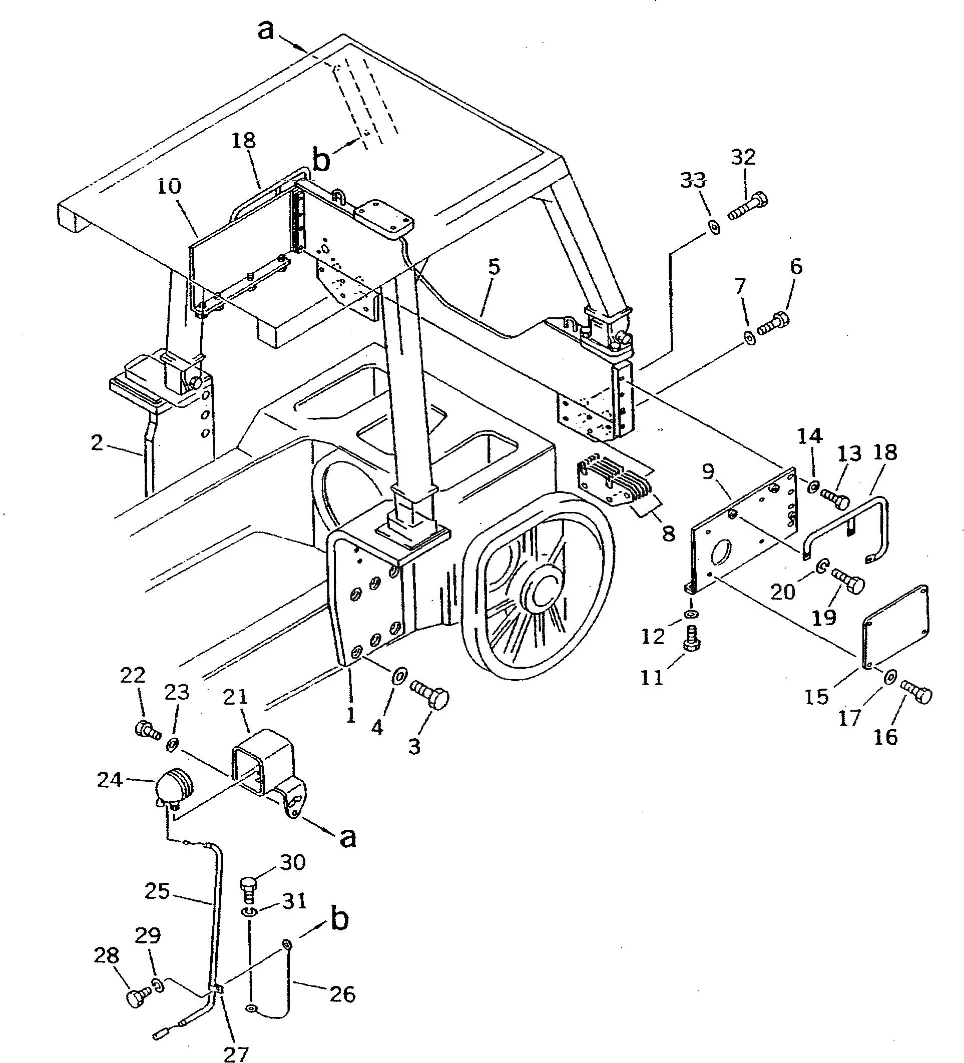
1

195-978-1162

BRACKET

SN: 2473-UP

1шт.

2

195-978-1172

BRACKET

SN: 2473-UP

1шт.

3

01011-83000

BOLT

SN: 2473-UP

12шт.

4

01643-33080

WASHER

SN: 2473-UP

12шт.

5

195-978-1470

GUARD

SN: 9001-UP

1шт.

6

01010-83080

BOLT

SN: 9001-UP

10шт.

7

01643-33080

WASHER

SN: 9001-UP

10шт.

8

195-978-1520

SHIM

SN: 9001-UP

28шт.

9

195-978-1222

GUARD,L.H.

SN: 9001-UP

1шт.

10

195-978-1411

GUARD,R.H.

SN: 9001-UP

1шт.

11

01010-81640

BOLT

SN: 9001-UP

8шт.

12

01643-31645

WASHER

SN: 9001-UP

8шт.

13

01010-82045

BOLT

SN: 9001-UP

8шт.

14

01643-32060

WASHER

SN: 9001-UP

8шт.

15

195-978-1420

PLATE

SN: 2473-UP

1шт.

16

01010-51230

BOLT

SN: 9001-UP

4шт.

|16

0

BOLT

SN: 2473-9000

4шт.

17

01643-31232

WASHER

SN: 9001-UP

4шт.

|17

0

WASHER

SN: 2473-9000

4шт.

18

175-978-1270

HANDLE

SN: 2473-UP

2шт.

19

01010-51230

BOLT

SN: 2473-UP

6шт.

20

01602-21236

WASHER

SN: 2773-UP

6шт.

21

195-06-21931

COVER

SN: 2549-UP

1шт.

22

01010-51230

BOLT

SN: 2549-UP

3шт.

23

01643-31232

WASHER

SN: 2549-UP

3шт.

24

08128-32400

LAMP

SN: 2549-UP

1шт.

|24

08113-02480

BULB¤ 80W

SN: 2549-UP

1шт.

25

195-06-15993

WIRE ASS'Y

SN: 10092-UP

1шт.

|25

0

WIRE ASS'Y

SN: 2549-10091

1шт.

26

195-978-2280

WIRE

SN: 2549-UP

1шт.

27

08036-01814

CLIP

SN: 2549-UP

2шт.

28

01010-51020

BOLT

SN: 2549-UP

2шт.

29

01602-21030

WASHER

SN: 2549-UP

2шт.

30

01010-51235

BOLT,(WITHOUT ROPS CAB)

SN: 2549-UP

1шт.

31

01643-31232

WASHER,(WITHOUT ROPS CAB)

SN: 2549-UP

1шт.

32

01010-51635

BOLT,(WITHOUT ROPS GUARD)

SN: 9001-UP

8шт.

33

01643-31645

WASHER,(WITHOUT ROPS GUARD)

SN: 9001-UP

8шт.

Выбрано товаров: 37