Качественные детали и логистика
Оригинальные и аналоговые запчасти с доставкой по России, Казахстану и Беларуси
©2022 PartSell ООО "Система" ИНН 2463123282 ОГРН 1212400004838
Центральный офис: г. Красноярск, Академика Киренского, д.87, пом.4
Телефон: 8 (800) 777-65-74 Email: zakaz@partsell.ru
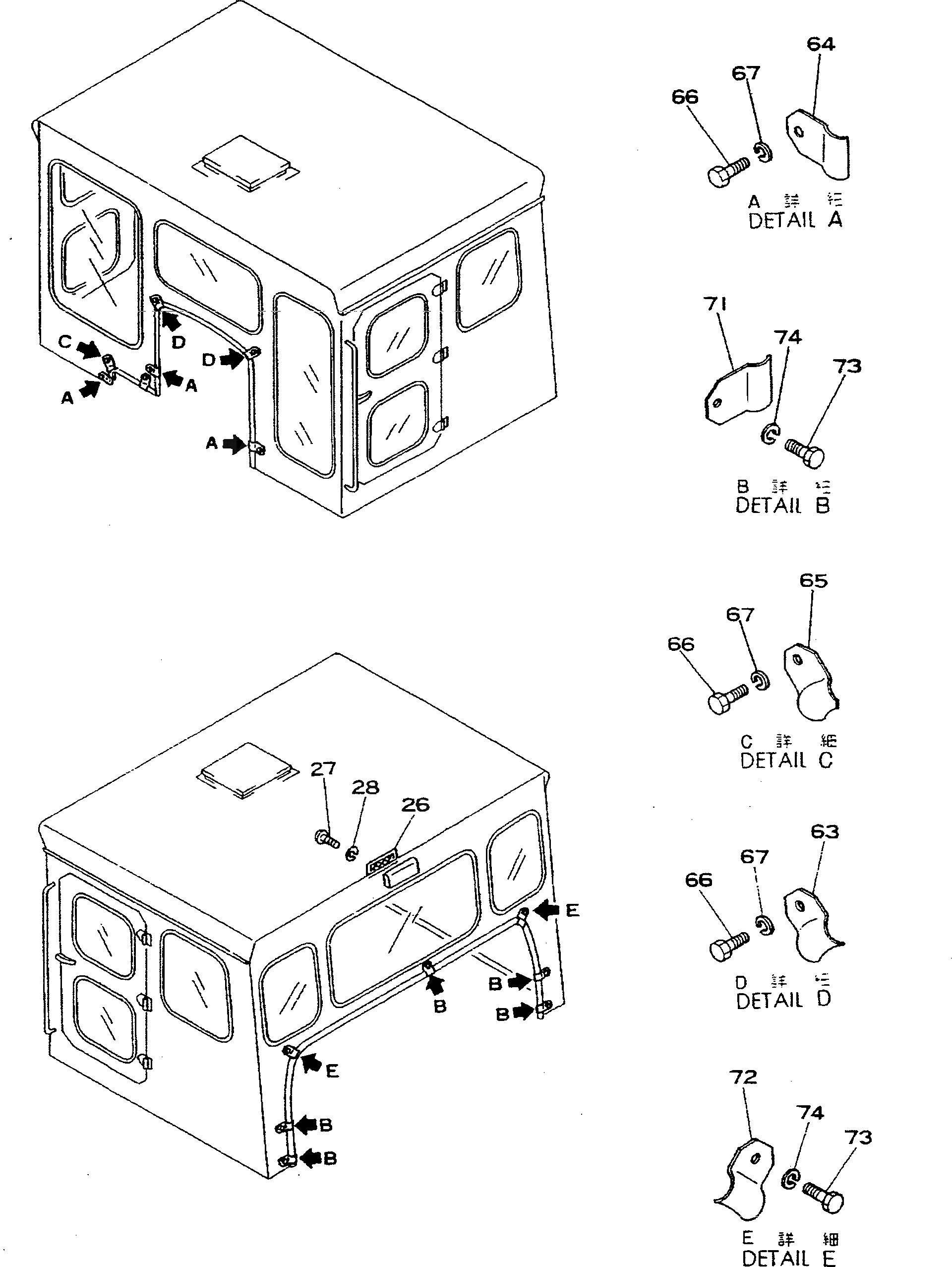
СТАЛЬНАЯ КАБИНА (/)(№97-99)
№
Артикул
Название
Примечание
Количество
|1
195-904-0024
CAB ASS'Y
SN: 1632-3299
1шт.
195-904-0023
SN: 1297-1631
|$$3
THESE ASSEMBLIES CONSIST OF ALL PARTS SHOWN IN FIGS.805W TO 806.
-1шт.
1
195-904-5112
CAB
195-904-5110
2
175-822-9021
LOCK ASS'Y (WELDED)
SN: 1297-3299
4шт.
3
195-904-5140
GLASS
4
09410-00310
STRIP,WEATHER
5
195-904-5151
|5
195-904-5150
6
09410-00245
|6
09410-00241
7
195-904-5161
|7
195-904-5160
8
09410-00354
|8
09410-00357
9
195-904-5180
2шт.
10
09410-00183
11
195-904-5170
12
09410-00331
13
195-904-5190
14
09410-00201
15
195-904-5220
COVER
16
175-904-1610
HINGE (WELDED)
SN: 1010-3299
17
195-904-5230
SEAL
18
175-904-1640
ARM
19
175-904-1620
HANDLE
20
175-904-1660
WASHER
21
175-904-1670
PIN
22
175-904-1650
23
04205-00514
24
01641-00508
8шт.
25
04050-01208
26
195-904-5270
27
01220-30412
SCREW
28
01601-00410
29
195-904-5120
DOOR
30
175-822-9030
LOCK (WELDED)
31
175-822-9011
3шт.
32
566-54-14410
LOCK ASS'Y
33
566-54-14430
KEY ASS'Y
34
01225-30616
35
195-904-5130
36
37
38
566-54-15210
39
40
195-904-5210
41
09410-00161
42
565-54-13880
GRIP
43
01225-30520
44
01010-31025
BOLT
12шт.
45
01602-01030
46
175-911-1742
47
566-54-13410
STRIKER
6шт.
48
01225-30816
49
565-54-13270
50
566-54-14420
STOPPER
51
52
53
195-911-1170
|53
175-904-1350
SN: 1010-1631
54
195-911-1160
PLATE
|54
175-904-1360
55
195-911-1250
SEAT
|55
175-904-1370
56
01010-31035
|56
01010-31030
57
|57
58
195-904-5480
59
195-904-5490
60
195-904-5510
61
195-904-5520
62
195-904-5550
STRIP
63
195-904-1270
64
175-904-1280
65
195-904-5280
66
01010-30816
7шт.
67
01602-00825
68
175-904-1190
69
175-904-1150
70
71
5шт.
72
175-904-1290
73
74
75
195-904-5320
76
77
78
01643-01032
79
195-904-5350
80
195-904-5340
81
195-904-5330
82
83
84
85
195-904-5411
SEAT,L.H.
|85
195-904-5410
86
195-904-5421
SEAT,R.H.
|86
195-904-5420
87
175-911-1781
|87
195-904-5430
88
195-904-5440
89
175-911-1811
|89
195-904-5450
90
195-904-1291
|90
195-904-1290
SN: 1211-1631
91
195-904-1280
92
195-904-5461
|92
195-904-5460
93
195-904-5470
COLLAR
|93
22шт.
94
01012-31485
|94
95
01590-01416
NUT
|95
96
01640-01426
|96
97
04050-03028
PIN,COTTER
|97
99
195-54-21271
DASHBOARD
|99
195-54-21270
100
195-904-5360
FENDER,L.H.
|100
195-54-21240
101
195-904-5370
FENDER,R.H.
|101
195-54-21250
102
195-904-5310
STEP
103
01010-31235
104
01602-01236
105
195-54-19361
SUPPORT
|105
195-54-19360
106
195-54-19192
|106
195-54-19191
107
195-49-12270
BRACKET,L.H.
108
195-54-16331
BRACKET,R.H.
|108
195-54-16330
109
195-57-11610
CASE
110
195-57-11620
111
09459-00000
LOCK
112
195-57-11630
Выбрано товаров: 0