Запчасти Komatsu D355A-3 ШУМОИЗОЛЯЦИЯ(№97-) ОПЦИОННЫЕ КОМПОНЕНТЫ

Схема запчастей Komatsu D355A-3 - ШУМОИЗОЛЯЦИЯ(№97-) ОПЦИОННЫЕ КОМПОНЕНТЫ
FIT
1:1
100%

Артикул

Название

Примечание

Количество

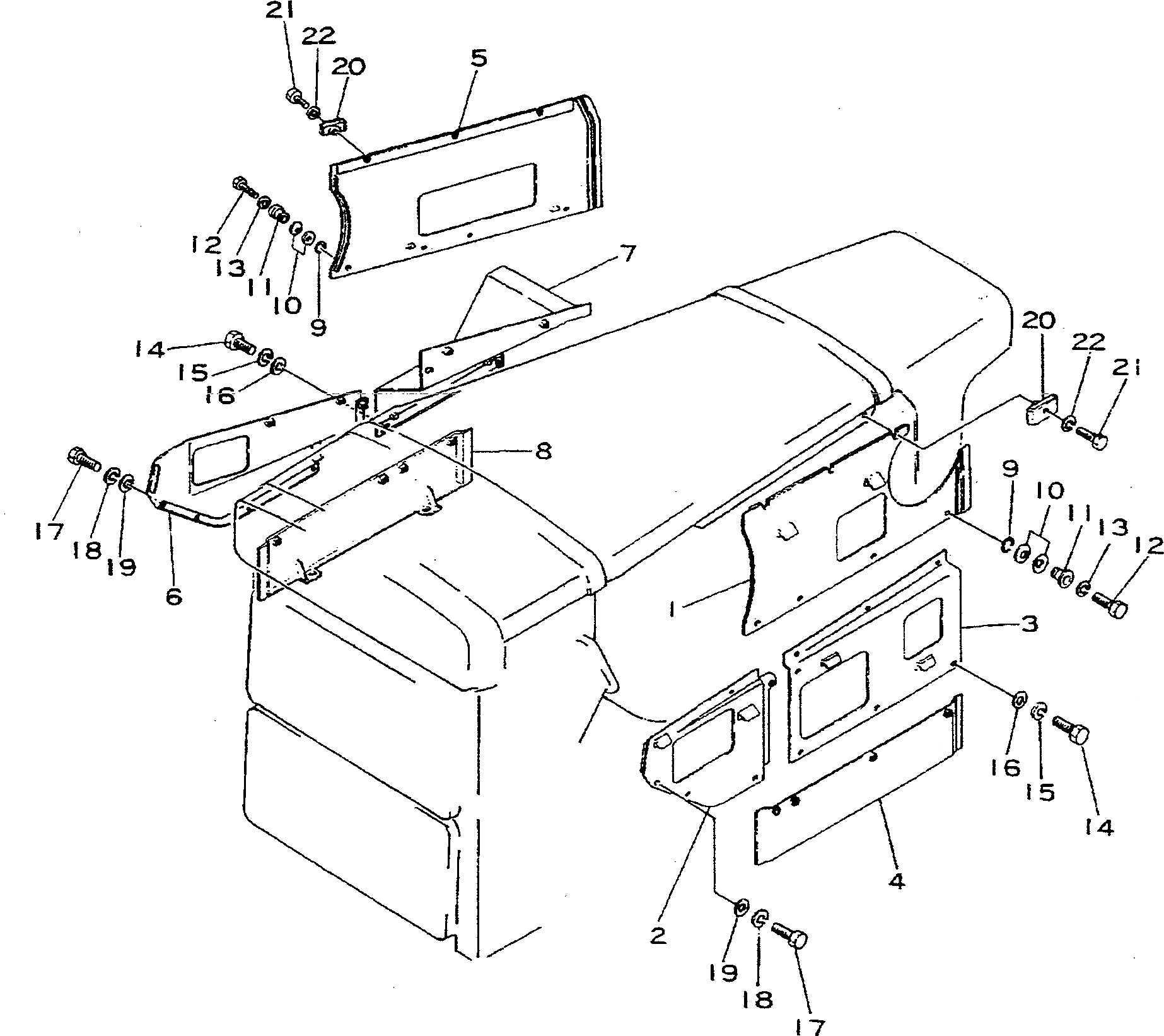
1

195-54-17114

COVER

SN: 1297-1631

1шт.

2

195-54-17122

COVER

SN: 1297-1631

1шт.

3

195-54-17132

COVER

SN: 1297-1631

1шт.

4

195-54-11662

COVER

SN: 1297-1631

1шт.

5

195-54-17143

COVER

SN: 1297-1631

1шт.

6

195-54-17152

COVER

SN: 1297-1631

1шт.

7

195-54-17162

COVER

SN: 1297-1631

1шт.

8

195-54-11671

COVER

SN: 1297-1631

1шт.

|9

175-54-00100

COLLAR ASS'Y

SN: 1297-@

13шт.

9

175-54-28770

RING

SN: 1297-@

1шт.

10

175-54-27350

SPRING

SN: 1297-@

2шт.

11

175-54-27360

COLLAR

SN: 1297-@

1шт.

12

01010-31240

BOLT

SN: 1297-@

13шт.

13

01602-01236

WASHER

SN: 1297-@

13шт.

14

01010-31240

BOLT

SN: 1297-1631

5шт.

15

01602-01236

WASHER

SN: 1297-1631

5шт.

16

01643-01232

WASHER

SN: 1297-1631

5шт.

17

01010-31225

BOLT

SN: 1297-1631

4шт.

18

01602-01236

WASHER

SN: 1297-1631

4шт.

19

01643-01232

WASHER

SN: 1297-1631

4шт.

20

195-54-15570

STOPPER

SN: 1297-@

6шт.

21

01010-31255

BOLT

SN: 1297-@

6шт.

22

01602-01236

WASHER

SN: 1297-@

6шт.

Выбрано товаров: 23