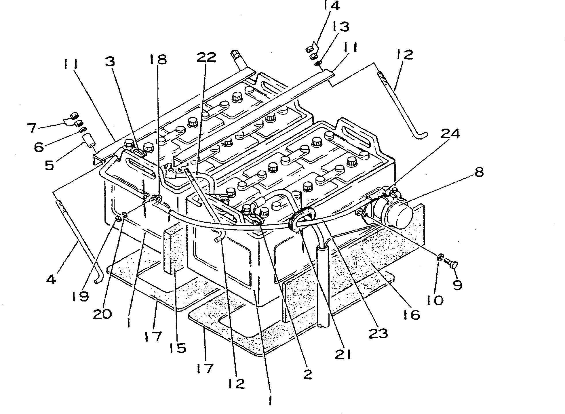
Запчасти Komatsu D355A-3 АККУМУЛЯТОР И РЕЛЕ(№7-9) КОМПОНЕНТЫ ДВИГАТЕЛЯ И ЭЛЕКТРИКА

Схема запчастей Komatsu D355A-3 - АККУМУЛЯТОР И РЕЛЕ(№7-9) КОМПОНЕНТЫ ДВИГАТЕЛЯ И ЭЛЕКТРИКА
FIT
1:1
100%

Артикул

Название

Примечание

Количество

1

08000-01220

BATTERY (190H52)

SN: 1117-1296

2шт.

2

08000-00000

TERMINAL¤ (+)

SN: 1010-@

2шт.

3

08000-00001

TERMINAL¤ (-)

SN: 1010-@

2шт.

4

175-06-31110

BAR

SN: 1117-1296

2шт.

5

175-06-31120

SPACER

SN: 1117-1296

2шт.

6

01640-01016

WASHER

SN: 1117-@

2шт.

7

01580-01008

NUT

SN: 1117-@

4шт.

8

08088-00000

SWITCH,BATTERY RELAY

SN: 1010-@

1шт.

9

01010-30820

BOLT

SN: 1067-@

2шт.

10

01602-00825

WASHER

SN: 1010-@

2шт.

11

154-06-13232

PLATE

SN: 1117-@

2шт.

12

154-06-33180

BAR

SN: 1117-@

2шт.

13

01640-01016

WASHER

SN: 1117-@

2шт.

14

01580-01008

NUT

SN: 1117-@

4шт.

15

154-06-13262

SEAT

SN: 1117-@

1шт.

16

154-06-13271

SEAT

SN: 1117-@

1шт.

17

195-06-15920

SEAT

SN: 1297-@

1шт.

|17

0

SEAT

SN: 1117-1296

2шт.

18

175-06-36140

CLAMP

SN: 1117-1296

2шт.

19

01580-00605

NUT

SN: 1117-1296

4шт.

20

01602-00619

WASHER

SN: 1117-1296

4шт.

21

170-43-11370

GROMMET

SN: 1117-@

1шт.

22

195-06-18580

WIRE

SN: 1117-1296

1шт.

|22

08030-06010

TERMINAL

SN: 1117-1296

2шт.

23

195-06-18590

WIRE,SWITCH

SN: 1117-1296

1шт.

24

08038-16031

CAP

SN: 1117-@

1шт.

Выбрано товаров: 26