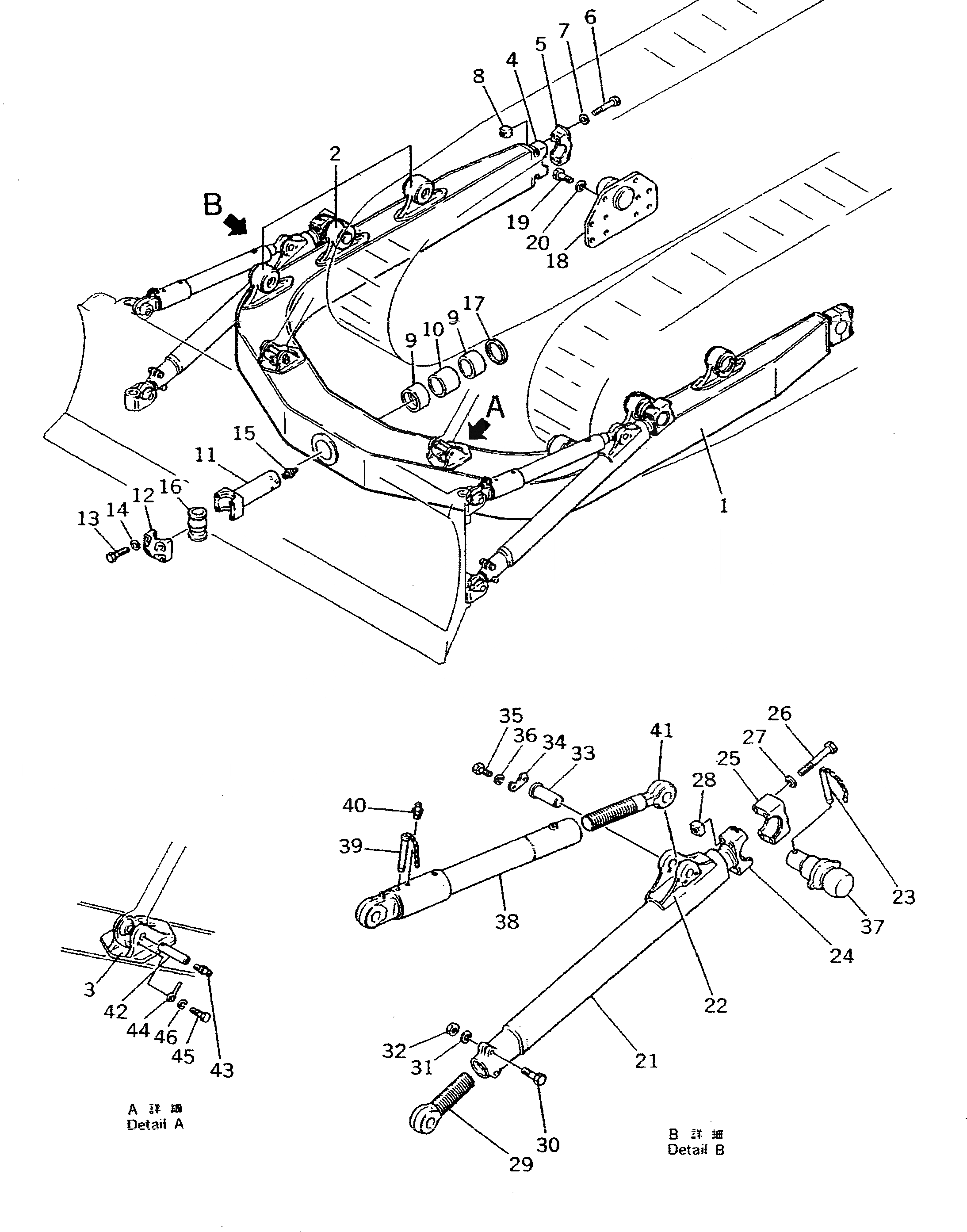
Запчасти Komatsu D355A-3 С-ОБРАЗН. РАМА (ДЛЯ ПОВОРОТНОГО ОТВАЛА) ОПЦИОННЫЕ КОМПОНЕНТЫ

Схема запчастей Komatsu D355A-3 - С-ОБРАЗН. РАМА (ДЛЯ ПОВОРОТНОГО ОТВАЛА) ОПЦИОННЫЕ КОМПОНЕНТЫ
FIT
1:1
100%

Артикул

Название

Примечание

Количество

|1

195-70-00091

FRAME ASS'Y

SN: 1632-UP

1шт.

|1

0

FRAME ASS'Y

SN: 1010-1631

1шт.

1

0

C-FRAME

SN: 1010-UP

1шт.

2

195-70-21320

BRACKET (WELDED)

SN: 1010-UP

6шт.

3

195-70-12311

BRACKET (WELDED)

SN: .-UP

2шт.

|3

0

BRACKET (WELDED)

SN: 1010-.

2шт.

|4

195-70-00101

BRACKET AND CAP A.

SN: 1632-UP

2шт.

|4

0

BRACKET AND CAP A.

SN: 1010-1631

2шт.

4

0

BRACKET (WELDED)

SN: 1010-UP

1шт.

5

0

CAP

SN: 1632-UP

1шт.

|5

0

CAP

SN: 1010-1631

1шт.

6

195-09-18130

BOLT

SN: 1010-UP

4шт.

7

01643-32780

WASHER

SN: 1010-UP

4шт.

8

195-71-11512

NUT

SN: 1010-UP

4шт.

9

195-70-12260

BUSHING

SN: 1010-UP

2шт.

10

195-70-12530

SPACER

SN: 1010-UP

1шт.

|11

195-70-00110

PIN ASS'Y

SN: 1010-UP

1шт.

11

0

PIN

SN: 1010-UP

1шт.

12

0

CAP

SN: 1010-UP

1шт.

13

01011-32720

BOLT

SN: 1010-UP

4шт.

14

01643-32780

WASHER

SN: 1010-UP

4шт.

15

07020-00000

FITTING

SN: 1010-UP

2шт.

16

195-70-12180

BALL

SN: 1010-UP

1шт.

17

195-70-12270

COLLAR (WELDED)

SN: 1010-UP

1шт.

18

195-71-11344

TRUNNION

SN: 1010-UP

2шт.

|18

195-71-11810

BALL (WELDED)

SN: 1010-UP

1шт.

19

01010-82455

BOLT

SN: 1010-UP

20шт.

20

01602-02472

WASHER

SN: 1010-UP

20шт.

|21

195-70-00040

ARM ASS'Y

SN: 1010-UP

2шт.

21

0

ARM

SN: 1010-UP

1шт.

22

195-70-12380

BRACKET (WELDED)

SN: 1010-UP

1шт.

23

195-70-12340

PIN (WELDED)

SN: 1010-UP

1шт.

|24

195-70-00050

BRACKET AND CAP A.

SN: 1010-UP

1шт.

24

0

BRACKET (WELDED)

SN: 1010-UP

1шт.

25

0

CAP

SN: 1010-UP

1шт.

26

195-09-18130

BOLT

SN: 1010-UP

4шт.

27

01643-32780

WASHER

SN: 1010-UP

4шт.

28

195-71-11512

NUT

SN: 1010-UP

4шт.

29

195-70-12390

SCREW

SN: 1010-UP

2шт.

30

01011-32200

BOLT

SN: 1010-UP

4шт.

31

01643-32260

WASHER

SN: 9001-UP

4шт.

|31

0

WASHER

SN: 1010-9000

4шт.

32

01580-02218

NUT

SN: 1010-UP

4шт.

33

09255-03145

PIN

SN: 1010-UP

2шт.

34

195-70-12510

PLATE

SN: 1010-UP

2шт.

35

01010-81435

BOLT

SN: 1010-UP

4шт.

36

01643-31445

WASHER

SN: 9001-UP

4шт.

|36

0

WASHER

SN: 1010-9000

4шт.

37

195-70-12330

SHAFT

SN: 1010-UP

2шт.

|38

195-70-00070

BRACE ASS'Y

SN: 1010-UP

2шт.

38

0

BRACE

SN: 1010-UP

1шт.

39

195-70-12460

PIN (WELDED)

SN: 1010-UP

1шт.

40

07020-00000

FITTING

SN: 1010-UP

2шт.

41

195-70-12470

SCREW

SN: 1010-UP

2шт.

42

175-893-1440

SHAFT

SN: 1010-UP

2шт.

43

07020-00000

FITTING

SN: 1010-UP

2шт.

44

195-71-11520

PIN

SN: 1010-UP

2шт.

45

01010-81440

BOLT

SN: 1010-UP

2шт.

46

01643-31445

WASHER

SN: 9001-UP

2шт.

|46

0

WASHER

SN: 1010-9000

2шт.

Выбрано товаров: 60