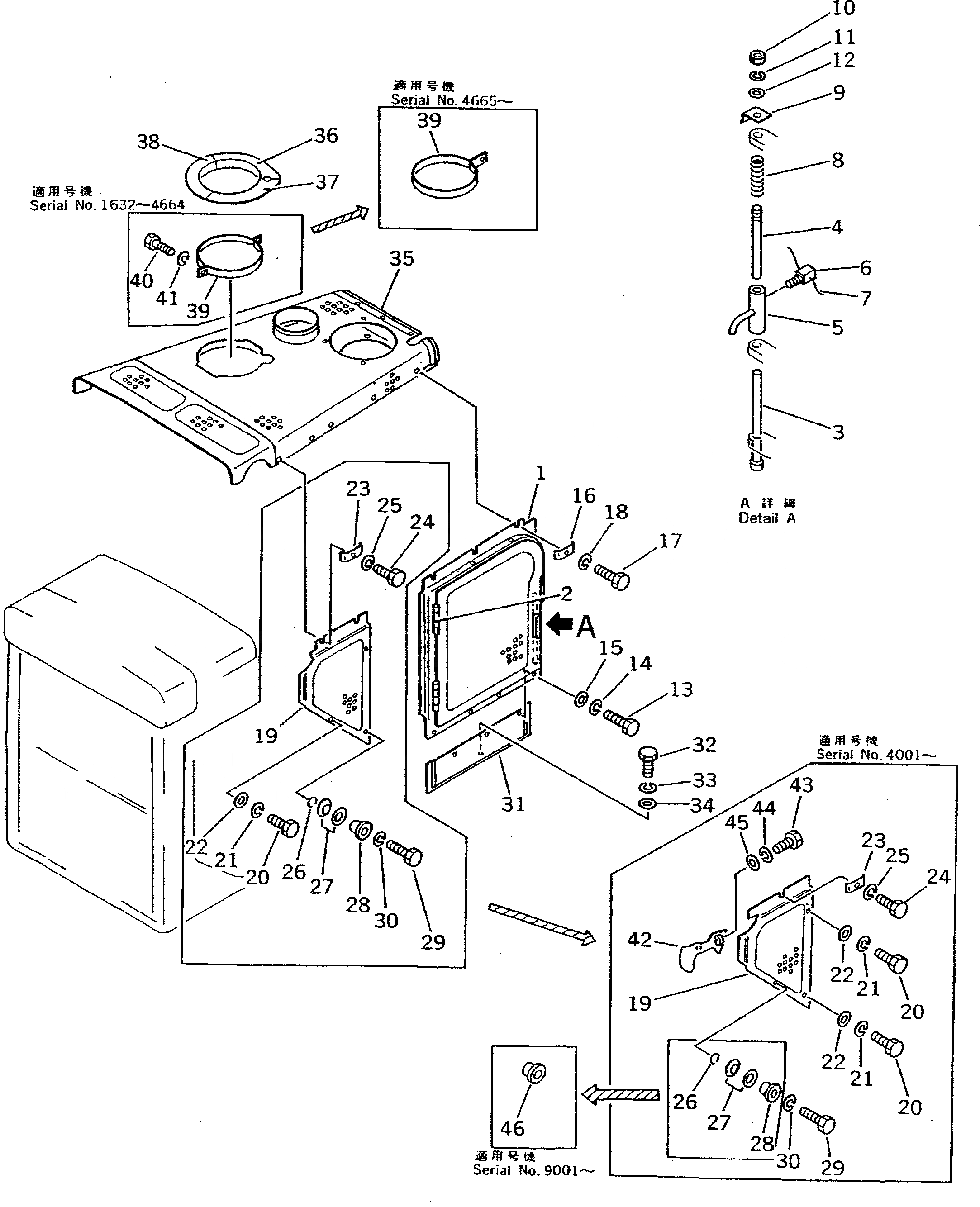
Запчасти Komatsu D355A-3 ПЕРФОРИРОВАНН. БОКОВ. КРЫШКА ДВИГ. (ЛЕВ.)(№-) ОПЦИОННЫЕ КОМПОНЕНТЫ

Схема запчастей Komatsu D355A-3 - ПЕРФОРИРОВАНН. БОКОВ. КРЫШКА ДВИГ. (ЛЕВ.)(№-) ОПЦИОННЫЕ КОМПОНЕНТЫ
FIT
1:1
100%

Артикул

Название

Примечание

Количество

|1

195-54-00242

SIDE COVER ASS'Y

SN: 12606-UP

1шт.

|1

0

SIDE COVER ASS'Y

SN: 3301-12605

1шт.

|1

195-54-00221

SIDE COVER ASS'Y

SN: 3301-UP

1шт.

1

195-54-23111

COVER,L.H.

SN: 3301-UP

1шт.

2

195-54-23820

HINGE (WELDED)

SN: 3301-UP

2шт.

3

175-862-3140

GUIDE

SN: 3301-UP

1шт.

4

175-862-3130

ROD

SN: 3301-UP

1шт.

5

175-54-25492

LEVER

SN: 3301-UP

1шт.

6

01306-10820

SCREW

SN: 1632-UP

2шт.

7

04059-01020

WIRE

SN: 3301-UP

2шт.

8

175-54-25511

SPRING

SN: 1632-UP

1шт.

9

175-54-25530

PLATE

SN: 1632-UP

1шт.

10

01580-01210

NUT

SN: 1632-UP

1шт.

11

01602-01236

WASHER

SN: 1632-12605

1шт.

12

01643-31232

WASHER

SN: 1632-UP

1шт.

13

01010-81235

BOLT (KIT)

SN: 3301-UP

4шт.

14

01602-01236

WASHER (KIT)

SN: 3301-9000

4шт.

15

01643-31232

WASHER (KIT)

SN: 3301-UP

4шт.

16

09462-00080

STOPPER (KIT)

SN: 3301-UP

3шт.

17

01010-81250

BOLT (KIT)

SN: 3301-UP

3шт.

18

01643-31232

WASHER (KIT)

SN: 12606-UP

3шт.

|18

01602-01236

WASHER (KIT)

SN: 3301-12605

3шт.

19

195-54-23831

COVER (KIT)

SN: 4001-UP

1шт.

|19

195-54-23830

COVER (KIT)

SN: 3301-4000

1шт.

20

01010-81230

BOLT (KIT)

SN: 4001-UP

2шт.

|20

01010-31235

BOLT (KIT)

SN: 3301-4000

1шт.

21

01602-01236

WASHER (KIT)

SN: 4001-9000

2шт.

|21

01602-01236

WASHER (KIT)

SN: 3301-4000

1шт.

22

01643-31232

WASHER (KIT)

SN: 12606-UP

2шт.

|22

124-54-26540

WASHER (KIT)

SN: 4001-12605

2шт.

|22

124-54-26540

WASHER (KIT)

SN: 3301-4000

1шт.

23

09462-00080

STOPPER (KIT)

SN: 4001-UP

1шт.

|23

09462-00080

STOPPER (KIT)

SN: 3301-4000

2шт.

24

01010-81250

BOLT (KIT)

SN: 4001-UP

1шт.

|24

01010-51250

BOLT (KIT)

SN: 3301-4000

2шт.

25

01643-31232

WASHER (KIT)

SN: 12606-UP

1шт.

|25

01602-01236

WASHER (KIT)

SN: 4001-12605

1шт.

|25

01602-01236

WASHER (KIT)

SN: 3301-4000

2шт.

|26

175-54-00100

COLLAR ASS'Y (KIT)

SN: 4001-9000

1шт.

|26

175-54-00100

COLLAR ASS'Y (KIT)

SN: 3301-4000

2шт.

26

175-54-28770

RING (KIT)

SN: 3301-9000

1шт.

27

175-54-27350

SPRING (KIT)

SN: 3301-9000

2шт.

28

175-54-27360

COLLAR (KIT)

SN: 3301-9000

1шт.

29

01010-81230

BOLT (KIT)

SN: 4001-UP

1шт.

|29

01010-31235

BOLT (KIT)

SN: 3301-4000

2шт.

30

01643-31232

WASHER (KIT)

SN: 12606-UP

1шт.

|30

01602-01236

WASHER (KIT)

SN: 4001-12605

1шт.

|30

01602-01236

WASHER (KIT)

SN: 3301-4000

2шт.

31

195-54-23152

GUARD (KIT)

SN: 4001-UP

1шт.

|31

0

GUARD (KIT)

SN: 3301-4000

1шт.

32

01010-81640

BOLT (KIT)

SN: 3301-UP

2шт.

33

01602-21648

WASHER (KIT)

SN: 3301-UP

2шт.

34

01643-31645

WASHER (KIT)

SN: 3301-UP

2шт.

35

195-54-23294

HOOD

SN: 12606-UP

1шт.

|35

0

HOOD

SN: 4001-12605

1шт.

|35

0

HOOD

SN: 3301-4000

1шт.

36

195-54-21570

COVER

SN: 1632-UP

1шт.

37

195-54-21580

COVER

SN: 1632-UP

1шт.

38

195-54-21590

COVER

SN: 1632-UP

1шт.

39

175-54-29432

CLAMP

SN: 4665-UP

1шт.

|39

175-54-29431

BAND

SN: 1632-4664

2шт.

40

01010-51240

BOLT

SN: 1632-4664

2шт.

41

01602-21236

WASHER

SN: 1632-4664

2шт.

42

195-54-24370

COVER

SN: 4001-UP

1шт.

43

01010-81255

BOLT

SN: 4001-UP

2шт.

44

01602-01236

WASHER

SN: 4001-12605

2шт.

45

01643-31232

WASHER

SN: 4001-UP

2шт.

46

154-55-19341

COLLAR

SN: 9001-UP

1шт.

Выбрано товаров: 0