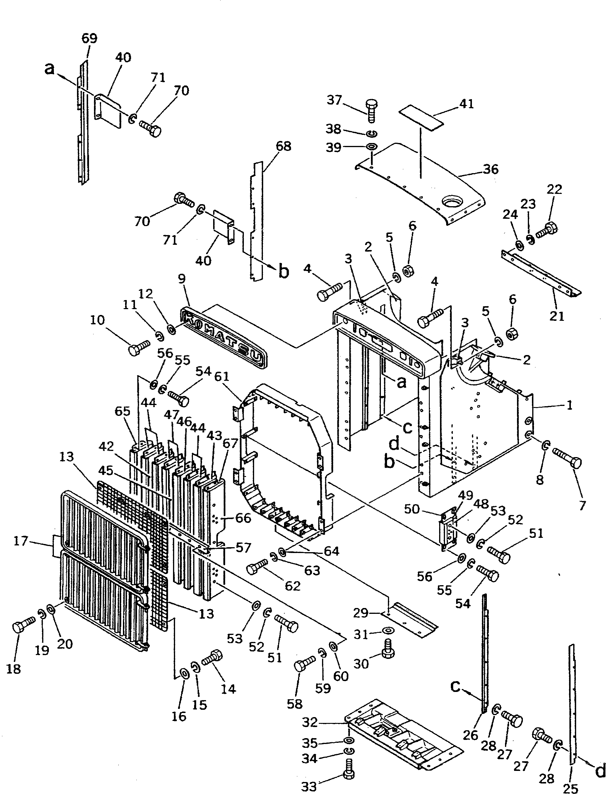
Запчасти Komatsu D355A-3 ЗАЩИТА РАДИАТОРА(№78-) ОПЦИОННЫЕ КОМПОНЕНТЫ

Схема запчастей Komatsu D355A-3 - ЗАЩИТА РАДИАТОРА(№78-) ОПЦИОННЫЕ КОМПОНЕНТЫ
FIT
1:1
100%

Артикул

Название

Примечание

Количество

1

195-54-24700

GUARD ASS'Y

SN: 4678-UP

1шт.

2

195-54-11271

SUPPORT (WELDED)

SN: 1632-UP

2шт.

3

195-862-2121

BRACKET (WELDED)

SN: 3301-UP

2шт.

4

01010-80835

BOLT

SN: 1067-UP

2шт.

5

01602-00825

WASHER

SN: 1010-UP

2шт.

6

01580-00806

NUT

SN: 1067-UP

2шт.

7

195-54-11141

BOLT

SN: 1010-UP

16шт.

8

01601-03075

WASHER

SN: 1010-UP

16шт.

9

195-54-11283

MARK

SN: 13545-UP

1шт.

|9

195-54-11282

MARK

SN: 4001-13543

1шт.

10

01010-81025

BOLT

SN: 4001-UP

4шт.

11

01602-01030

WASHER

SN: 1632-UP

4шт.

12

01643-31032

WASHER

SN: 4001-UP

4шт.

13

195-54-11395

NET

SN: 3301-UP

2шт.

13

195-862-4410

NET,(FOR NOISE SUPPRESSION)

SN: 3628-UP

2шт.

14

01010-80825

BOLT

SN: 1632-UP

16шт.

15

01602-00825

WASHER

SN: 1632-UP

16шт.

16

01643-30823

WASHER

SN: 1632-UP

16шт.

17

195-54-11136

GRILLE

SN: 3301-UP

2шт.

|17

195-862-2281

GRILLE,(FOR NOISE SUPPRESSION)

SN: 3628-UP

2шт.

18

01010-81650

BOLT

SN: 1117-UP

8шт.

19

01602-01648

WASHER

SN: 1010-UP

8шт.

20

01643-31645

WASHER

SN: 1117-UP

8шт.

21

195-54-12644

PLATE

SN: 1632-UP

1шт.

22

01010-81025

BOLT

SN: 1010-UP

5шт.

23

01602-01030

WASHER

SN: 1010-UP

5шт.

24

01643-31032

WASHER

SN: 1010-UP

5шт.

25

195-54-24580

BRAKER

SN: 4678-UP

1шт.

26

195-54-24590

BRAKER

SN: 4678-UP

1шт.

27

01010-81025

BOLT

SN: 4678-UP

10шт.

28

01602-01030

WASHER

SN: 4678-UP

10шт.

29

195-862-3690

PLATE

SN: 4678-UP

1шт.

30

01010-81225

BOLT

SN: 4678-UP

3шт.

31

01643-31232

WASHER

SN: 4678-UP

3шт.

32

195-54-24720

COVER

SN: 4678-UP

1шт.

33

01010-82060

BOLT

SN: 3301-UP

6шт.

34

01602-02060

WASHER

SN: 1632-UP

6шт.

35

01643-32060

WASHER

SN: 1632-UP

6шт.

36

195-54-11227

COVER

SN: 3301-UP

1шт.

37

01010-81225

BOLT

SN: 3301-UP

11шт.

38

01602-01236

WASHER

SN: 3301-UP

11шт.

39

01643-31232

WASHER

SN: 3301-UP

11шт.

40

195-54-23791

PLATE

SN: 4678-UP

2шт.

41

175-54-22861

SEAT,(FOR NOISE SUPPRESSION)

SN: 3603-UP

1шт.

42

195-862-2151

NET,(FOR NOISE SUPPRESSION)

SN: 4678-UP

4шт.

43

195-862-2161

FELT,(FOR NOISE SUPPRESSION)

SN: 4678-UP

8шт.

44

195-862-2141

PLATE,(FOR NOISE SUPPRESSION)

SN: 3603-UP

6шт.

45

195-862-2181

NET,(FOR NOISE SUPPRESSION)

SN: 3603-UP

2шт.

46

195-862-2191

FELT,(FOR NOISE SUPPRESSION)

SN: 3603-UP

4шт.

47

195-862-2171

PLATE,(FOR NOISE SUPPRESSION)

SN: 3603-UP

2шт.

48

195-862-3650

NET,(FOR NOISE SUPPRESSION)

SN: 4678-UP

4шт.

49

195-862-3660

FELT,(FOR NOISE SUPPRESSION)

SN: 4678-UP

8шт.

50

195-862-3640

PLATE,(FOR NOISE SUPPRESSION)

SN: 4678-UP

4шт.

51

01010-81025

BOLT,(FOR NOISE SUPPRESSION)

SN: 4678-UP

64шт.

52

01602-01030

WASHER,(FOR NOISE SUPPRESSION)

SN: 4678-UP

64шт.

53

195-54-32520

PLATE,(FOR NOISE SUPPRESSION)

SN: 4678-UP

64шт.

54

01010-81025

BOLT,(FOR NOISE SUPPRESSION)

SN: 4678-UP

48шт.

55

01602-01030

WASHER,(FOR NOISE SUPPRESSION)

SN: 4678-UP

48шт.

56

01643-31032

WASHER,(FOR NOISE SUPPRESSION)

SN: 4678-UP

48шт.

57

195-862-3670

PLATE,(FOR NOISE SUPPRESSION)

SN: 4678-UP

1шт.

58

01010-81025

BOLT,(FOR NOISE SUPPRESSION)

SN: 4678-UP

8шт.

59

01602-01030

WASHER,(FOR NOISE SUPPRESSION)

SN: 4678-UP

8шт.

60

195-54-32520

PLATE,(FOR NOISE SUPPRESSION)

SN: 4678-UP

8шт.

61

195-862-2132

BRACKET,(FOR NOISE SUPPRESSION)

SN: 4678-UP

1шт.

62

01010-81230

BOLT,(FOR NOISE SUPPRESSION)

SN: 3603-UP

8шт.

63

01602-01236

WASHER,(FOR NOISE SUPPRESSION)

SN: 3603-UP

8шт.

64

01643-31232

WASHER,(FOR NOISE SUPPRESSION)

SN: 3603-UP

8шт.

65

195-862-3610

PLATE

SN: 4678-UP

2шт.

66

195-862-3620

NET

SN: 4678-UP

2шт.

67

195-862-3630

FELT

SN: 4678-UP

4шт.

68

195-54-24560

BREAKER

SN: 4678-UP

1шт.

69

195-54-24570

BREAKER

SN: 4678-UP

1шт.

70

01010-81025

BOLT

SN: 4678-UP

10шт.

71

01602-01030

WASHER

SN: 4678-UP

10шт.

Выбрано товаров: 74