Запчасти Komatsu D355A-3 ПАНЕЛЬ ПРИБОРОВ(№9-) КОМПОНЕНТЫ ДВИГАТЕЛЯ И ЭЛЕКТРИКА

Схема запчастей Komatsu D355A-3 - ПАНЕЛЬ ПРИБОРОВ(№9-) КОМПОНЕНТЫ ДВИГАТЕЛЯ И ЭЛЕКТРИКА
FIT
1:1
100%

Артикул

Название

Примечание

Количество

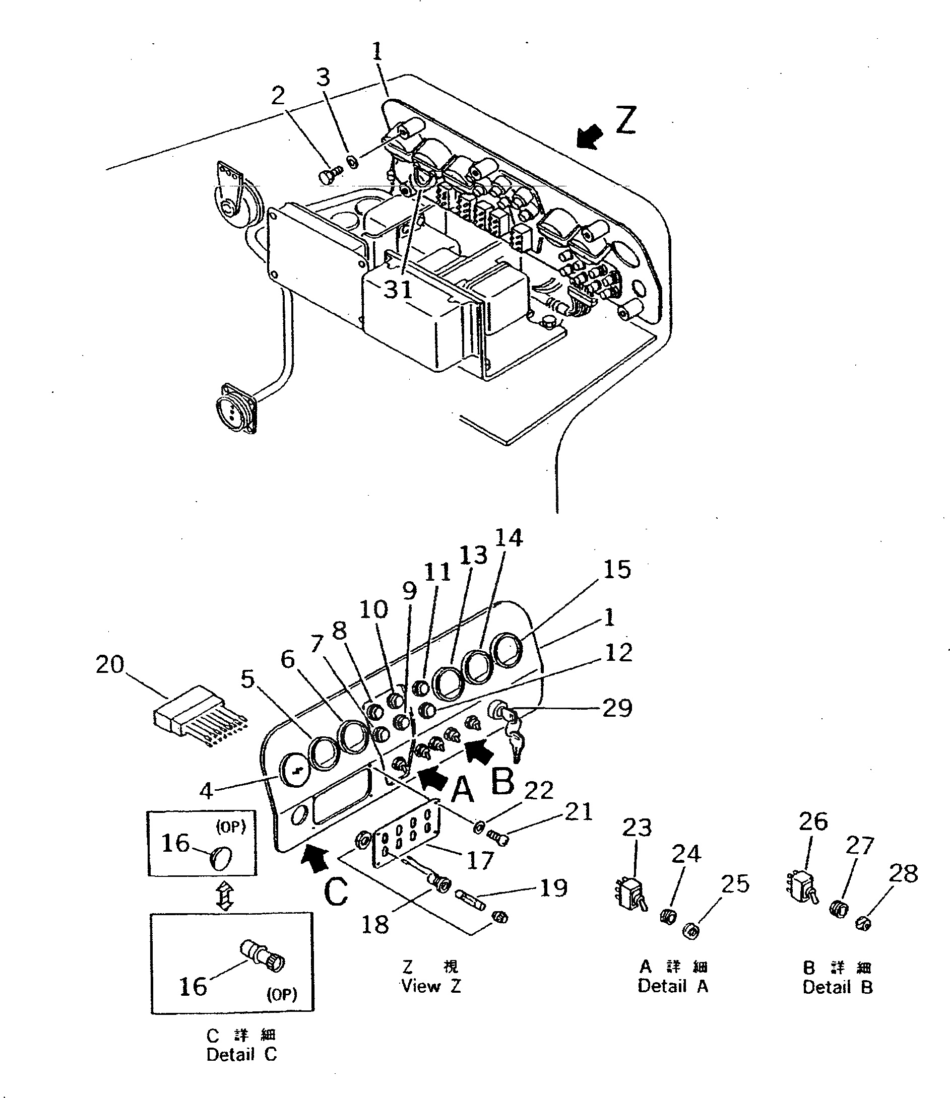
1

175-06-35594

PANEL

SN: 9001-UP

1шт.

2

01010-81020

BOLT

SN: 9001-UP

5шт.

3

01643-31032

WASHER

SN: 1632-UP

5шт.

4

195-06-21610

CAP

SN: 1974-UP

1шт.

5

195-06-23120

GAUGE,OIL TEMPERATURE

SN: 4001-UP

1шт.

|5

08111-12430

BULB¤ 3W

SN: 4001-UP

1шт.

6

195-06-23110

GAUGE,WATER TEMPERATURE

SN: 4001-UP

1шт.

|6

08111-12430

BULB¤ 3W

SN: 4001-UP

1шт.

7

21T-06-13450

LAMP,WATER TEMPERATURE

SN: 9001-UP

1шт.

|7

08111-02430

BULB¤ 3W

SN: 9001-UP

1шт.

8

125-06-22210

LAMP,OIL PRESSURE

SN: 9001-UP

1шт.

|8

08111-02430

BULB¤ 3W

SN: 9001-UP

1шт.

9

21T-06-13470

LAMP,AIR FILTER

SN: 9001-UP

1шт.

|9

08111-02430

BULB¤ 3W

SN: 9001-UP

1шт.

10

21T-06-13540

LAMP,WATER LEVEL

SN: 9001-UP

1шт.

|10

08111-02430

BULB¤ 3W

SN: 9001-UP

1шт.

11

08147-22400

LAMP,OIL FILTER

SN: 9001-UP

1шт.

|11

08111-02430

BULB¤ 3W

SN: 9001-UP

1шт.

12

08147-21202

LAMP,APS

SN: 9001-UP

1шт.

|12

08111-01230

BULB¤ 4W

SN: 9001-UP

1шт.

13

195-06-23170

GAUGE,FUEL

SN: 9001-UP

1шт.

|13

08111-12430

BULB¤ 3W

SN: 9001-UP

1шт.

14

195-06-23140

AMMETER

SN: 9001-UP

1шт.

|14

08111-12430

BULB¤ 3W

SN: 9001-UP

1шт.

|14

01642-20508

WASHER

SN: 9001-UP

2шт.

15

08687-32401

METER,SERVICE

SN: 9001-UP

1шт.

16

09415-01610

CAP

SN: 9001-UP

1шт.

|17

195-06-25260

FUSE ASS'Y

SN: 9001-UP

1шт.

17

195-06-25270

PLATE

SN: 9001-UP

1шт.

18

198-06-12620

HOLDER

SN: 9001-UP

8шт.

19

198-06-12810

FUSE

SN: 9001-UP

8шт.

20

195-06-25280

WIRING HARNESS

SN: 9001-UP

1шт.

21

01220-40408

SCREW

SN: 9001-UP

4шт.

22

01642-20405

WASHER

SN: 9001-UP

4шт.

23

08501-21503

SWITCH,ALARM

SN: 9001-UP

1шт.

24

7808-19-1920

NUT

SN: 9001-UP

1шт.

25

175-06-27250

CAP

SN: 11703-UP

1шт.

|25

0

CAP

SN: 9001-11702

1шт.

26

195-06-25250

SWITCH

SN: 9001-UP

4шт.

27

7808-19-1920

NUT

SN: 9001-UP

4шт.

28

7808-19-1930

CAP

SN: 9001-UP

4шт.

29

08086-10000

SWITCH,STARTING

SN: 9001-UP

1шт.

30

195-822-6151

LIGHTER

SN: 4001-UP

1шт.

31

195-06-25330

WIRE

SN: 9001-UP

1шт.

Выбрано товаров: 44