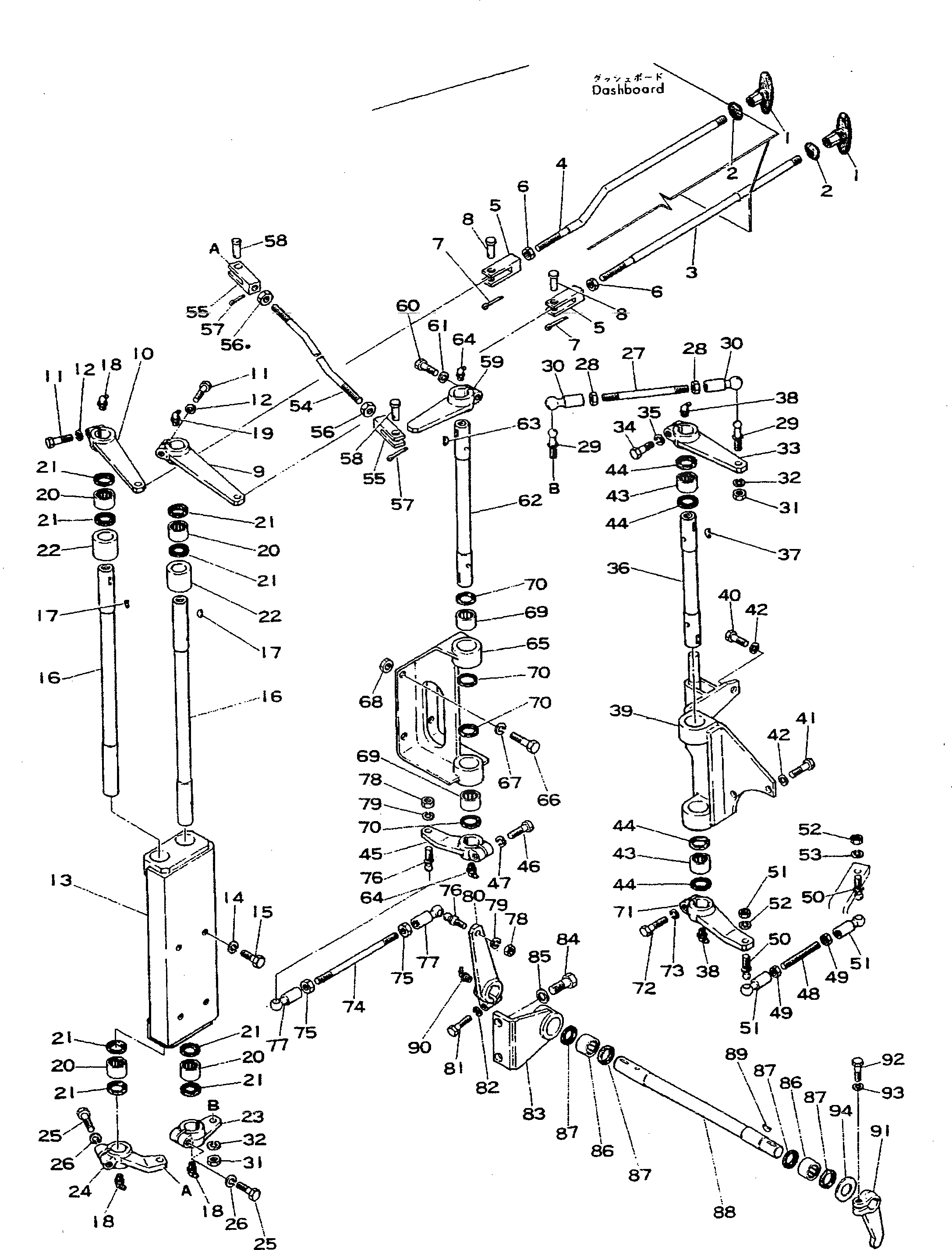
Запчасти Komatsu D355A-3 РЫЧАГИ МУФТЫ ЗАПУСКА(№-) КОМПОНЕНТЫ ДВИГАТЕЛЯ И ЭЛЕКТРИКА

Схема запчастей Komatsu D355A-3 - РЫЧАГИ МУФТЫ ЗАПУСКА(№-) КОМПОНЕНТЫ ДВИГАТЕЛЯ И ЭЛЕКТРИКА
FIT
1:1
100%

Артикул

Название

Примечание

Количество

1

154-44-15130

LEVER

SN: 1010-1116

2шт.

2

195-43-16350

CUSHION

SN: 1010-1152

2шт.

3

195-43-16710

ROD

SN: 1010-1152

1шт.

4

195-43-16720

ROD

SN: 1010-1152

1шт.

5

04211-01055

YOKE

SN: 1010-1152

2шт.

6

01582-01008

NUT

SN: 1010-1152

2шт.

7

04050-03015

PIN

SN: 1010-1152

2шт.

8

04205-01028

PIN

SN: 1010-1152

2шт.

9

195-43-16730

LEVER

SN: 1010-1152

1шт.

10

195-43-16740

LEVER

SN: 1010-1152

1шт.

11

01010-31035

BOLT

SN: 1010-1152

2шт.

12

01602-01030

WASHER

SN: 1010-1152

2шт.

13

195-43-16761

BRACKET

SN: 1010-1152

1шт.

14

01010-31230

BOLT

SN: 1010-1152

4шт.

15

01602-01236

WASHER

SN: 1010-1152

4шт.

16

195-43-16751

SHAFT

SN: 1010-1152

2шт.

17

04010-00519

KEY

SN: 1010-1152

4шт.

18

07020-00900

FITTING

SN: 1010-1152

3шт.

19

07020-00675

FITTING

SN: 1010-1152

1шт.

20

06120-02520

BEARING

SN: 1010-1152

4шт.

21

06122-02504

SEAL

SN: 1010-1152

8шт.

22

195-43-16770

SPACER

SN: 1010-1152

2шт.

23

195-43-16781

LEVER

SN: 1010-1152

1шт.

24

195-43-16990

LEVER

SN: 1010-1152

1шт.

25

01010-31035

BOLT

SN: 1010-1152

2шт.

26

01602-01030

WASHER

SN: 1010-1152

2шт.

27

195-43-16810

ROD

SN: 1010-1152

1шт.

28

01582-01008

NUT

SN: 1010-1152

1шт.

29

6030-81-6350

JOINT

SN: 1010-1152

2шт.

30

6030-81-6360

JOINT

SN: 1010-1152

2шт.

31

01582-01008

NUT

SN: 1010-1152

2шт.

32

01602-01030

WASHER

SN: 1010-1152

2шт.

33

195-43-16820

LEVER

SN: 1010-1152

1шт.

34

01010-31035

BOLT

SN: 1010-1152

1шт.

35

01602-01030

WASHER

SN: 1010-1152

1шт.

36

195-48-16830

SHAFT

SN: 1010-1152

1шт.

37

04010-00519

KEY,WOODRUFF

SN: 1010-1152

2шт.

38

07020-00900

FITTING,GREASE

SN: 1010-1152

2шт.

39

195-43-16841

BRACKET

SN: 1010-1152

1шт.

40

01010-31030

BOLT

SN: 1010-1152

2шт.

41

01010-31045

BOLT

SN: 1010-1152

2шт.

42

01602-01030

WASHER

SN: 1010-1152

4шт.

43

06120-02520

BEARING

SN: 1010-1152

2шт.

44

06122-02504

SEAL

SN: 1010-1152

4шт.

45

195-43-16850

LEVER

SN: 1010-1152

1шт.

46

01010-31035

BOLT

SN: 1010-1152

1шт.

47

01602-01030

WASHER

SN: 1010-1152

1шт.

48

195-43-16860

ROD

SN: 1010-1152

1шт.

49

01582-01008

NUT

SN: 1010-1152

2шт.

50

6030-81-6350

JOINT

SN: 1010-1152

2шт.

51

6030-81-6360

JOINT

SN: 1010-1152

2шт.

52

01582-01008

NUT

SN: 1010-1152

2шт.

53

01602-01030

WASHER

SN: 1010-1152

2шт.

54

195-43-16881

ROD

SN: 1010-1152

1шт.

55

04211-01055

YOKE

SN: 1010-1152

2шт.

56

01582-01008

NUT

SN: 1010-1152

2шт.

57

04050-03015

PIN

SN: 1010-1152

2шт.

58

04205-01028

PIN

SN: 1010-1152

2шт.

59

195-43-16891

LEVER

SN: 1010-1152

1шт.

60

01010-31035

BOLT

SN: 1010-1152

1шт.

61

01602-01030

WASHER

SN: 1010-1152

1шт.

62

195-43-16910

SHAFT

SN: 1010-1152

1шт.

63

04010-00519

KEY

SN: 1010-1152

2шт.

64

07020-00900

FITTING

SN: 1010-1152

2шт.

65

195-43-16920

BRACKET

SN: 1010-1152

1шт.

66

01010-31235

BOLT

SN: 1010-1152

4шт.

67

01602-01236

WASHER

SN: 1010-1152

4шт.

68

01580-01210

NUT

SN: 1010-1152

4шт.

69

01580-01210

NUT

SN: 1010-1152

4шт.

70

06122-02504

SEAL

SN: 1010-1152

4шт.

71

195-43-16850

LEVER

SN: 1010-1152

1шт.

72

01010-31035

BOLT

SN: 1010-1152

1шт.

73

01602-01030

WASHER

SN: 1010-1152

1шт.

74

195-43-16930

ROD

SN: 1010-1152

1шт.

75

01582-01008

NUT

SN: 1010-1152

2шт.

76

6030-81-6350

JOINT

SN: 1010-1152

2шт.

77

6030-81-6360

JOINT

SN: 1010-1152

2шт.

78

01582-01008

NUT

SN: 1010-1152

2шт.

79

01602-01030

WASHER

SN: 1010-1152

2шт.

80

195-43-16940

LEVER

SN: 1010-1152

1шт.

81

01010-31035

BOLT

SN: 1010-1152

1шт.

82

01602-01030

WASHER

SN: 1010-1152

1шт.

83

195-43-16950

BRACKET

SN: 1010-1152

1шт.

84

01010-31230

BOLT

SN: 1010-1152

2шт.

85

01602-01236

WASHER,SPRING

SN: 1010-1152

2шт.

86

06120-02520

BEARING,NEEDLE

SN: 1010-1152

2шт.

87

06122-02504

SEAL

SN: 1010-1152

3шт.

88

195-43-16960

SHAFT

SN: 1010-1152

1шт.

89

04010-00519

KEY,WOODRUFF

SN: 1010-1152

2шт.

90

07020-00900

FITTING,GREASE

SN: 1010-1152

1шт.

91

195-43-16970

LEVER

SN: 1010-1152

1шт.

92

01010-30830

BOLT

SN: 1067-1152

1шт.

|92

01000-30830

BOLT

SN: 1010-1066

1шт.

93

01602-00825

WASHER

SN: 1010-1152

1шт.

94

01640-02232

WASHER

SN: 1010-1152

1шт.

Выбрано товаров: 95